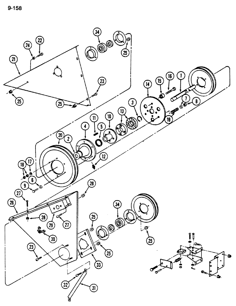
Запчасти Case IH 1620 (9-158) - ELEVATOR JACKSHAFT DRIVE (16) - GRAIN ELEVATORS & AUGERS

Схема запчастей Case IH 1620 - (9-158) - ELEVATOR JACKSHAFT DRIVE (16) - GRAIN ELEVATORS & AUGERS
9
32
6
21
5
17
33
2
27
31
7
22
29
25
14
1
25
18
13
25
19
25
4
30
25
11
10
16
26
23
15
12
25
23
28
27
34
34
3
20
8
28
24
FIT
1:1
100%

Артикул

Название

Примечание

Количество

1

194354C1

SHAFT

- drive

1шт.

2

22182R1

WASHER

- flat, 1-9/32 x 2 x 1/32 inch

2шт.

3

609053R1

SNAP RING,#125, Ext

Ring, Snap, #125, Ext

2шт.

4

183210C91

HUB

ASSEMBLY - slip clutch, Includes: Ref. 5

1шт.

5

936744R1

BUSHING,47.66mm ID x 50.83mm OD x 19.05mm L

- hub

1шт.

6

25709R1

WASHER

- flat, 13/32 x 13/16 x 3/64 inch

3шт.

7

614452R1

WASHER

- flat, 13/32 x 1-1/4 x 3/32 inch

3шт.

8

9413979

LOCK NUT,3/8"-16, GC

NUT - hex, 3/8 inch NC

3шт.

9

113-258

BOLT,Hex, 3/8" - 16 x 6", Gr 5

3шт.

10

183212C1

HUB ASSY.

HUB - slip clutch

1шт.

11

586879R1

KEY

- parallel, 5/16 x 2 inch

1шт.

12

219-87

LUBE NIPPLE,1/4" - 28 NPTF

NIPPLE, LUBE, 1/4"-28 x .56" lg, Self-Tap

1шт.

13

B12170

RATCHET,Clutch Slip, 94.49mm

- clutch

2шт.

14

194835C2

RETAINER

- clutch

1шт.

15

194836C1

BUSHING

- clutch

3шт.

16

113-103

BOLT,Hex, 5/16" - 18 x 1", Gr 5

- hex, 3/8 NC x 3-1/2 inch

3шт.

17

192-21

LOCK WASHER,3/8"

WASHER, LOCK, 3/8"

3шт.

18

129-103

NUT,Hex, 3/8" - 16, Gr 5

NUT, 3/8"-16, G5

8шт.

19

PO177

SPRING

- clutch

3шт.

20

183325C1

PULLEY

- driven, 13 inch OD ( replaced 183325C2 )

1шт.

21

183204C1

SUPPORT ASSY.

SUPPORT - inner

1шт.

22

154273C1

BOLT,Hex Serr, 3/8" - 16 x 1", Spcl

SCREW - slotted, 3/8 NC x 1 inch

1шт.

23

477-73812

SERRATED SCREW,Truss HD, 3/8" - 16 x 3/4"

- slotted, 3/8 NC x 3/4 inch

14шт.

24

25932R1

JAM NUT,Jam, 3/8"-16, G5

- hex jam, 3/8 inch NC

1шт.

25

482256R1

BEARING LOCK NUT,Flg, USR, 3/8"-16

- hex flange, 3/8 inch NC

22шт.

26

193839C1

SUPPORT

- outer

1шт.

27

135270

SERRATED SCREW,5/16" - 18 x 3/4"

- slotted, 5/16 NC x 3/4 inch

15шт.

28

938017R1

FLANGE NUT,Flg, USR, 5/16"-18

- hex flange, 5/16 inch NC

19шт.

29

181317C1

CHANNEL

- tightener

1шт.

30

182562C1

SUPPORT

ANGLE - tightener

1шт.

31

1319249C1

SUPPORT

- outer

1шт.

32

477-73816

SERRATED SCREW,Sl Truss Hd, 3/8" x 1"

- slotted, 3/8 NC x 1 inch

4шт.

33

192138C2

BRACKET

CHANNEL - bearing

1шт.

34

473097R92

BEARING ASSY,1.2505" ID x 72 mm OD x 1"

BEARING ASSEMBLY - shaft

1шт.

Выбрано товаров: 34