Запчасти Case IH 1620 (7-008) - MASTER BRAKE CYLINDERS AND RESERVOIR SYSTEM (5.1) - BRAKES

Схема запчастей Case IH 1620 - (7-008) - MASTER BRAKE CYLINDERS AND RESERVOIR SYSTEM (5.1) - BRAKES
2
10
3
2
6
12
15
8
7
27
25
17
11
18
18
20
1
19
16
18
13
24
4
23
24
22
2
18
19
2
5
14
10
26
22
2
23
17
21
FIT
1:1
100%

Артикул

Название

Примечание

Количество

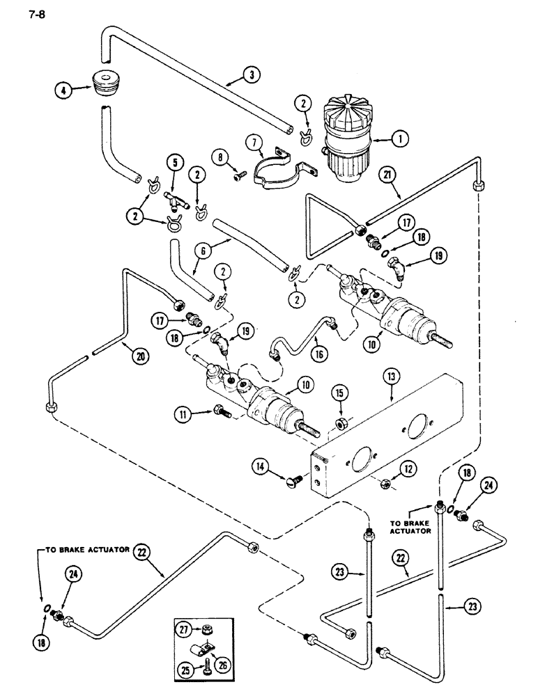
1

1281890C2

RESERVOIR

- brake fluid

1шт.

Ref. 1 - cap is K964488

1шт.

2

214-274

HOSE CLAMP,#04, 0.25" - 0.62", Type F Worm

6шт.

3

1281889C1

HYDRAULIC HOSE,6.35 mm ID x 610.00 mm

- Return 6.35 mm ID x 610.00 mm

1шт.

4

198824C1

GROMMET,12.7mm ID x 41.1mm OD x 26.9mm Thk

- brake hose

1шт.

5

1285312C1

TEE

- Y Type

1шт.

6

1281888C1

HYDRAULIC HOSE,6.35 mm ID x 150.00 mm

- Return 6.35 mm ID x 150.00 mm

2шт.

7

1281891C1

CLAMP

- brake fluid reservoir

1шт.

8

143306C1

SELF-TAP SCREW,Cross Pan Hd, #10 x 1/2"

SCREW - No. 10-16 x 1/2 inch tap

2шт.

10

1281884C91

MASTER CYLINDER,37mm Stroke

- master, see Figure 7-010

2шт.

11

155807C1

BOLT,Hex Serr, 5/16" - 18 x 1"

4шт.

12

938017R1

FLANGE NUT,Flg, USR, 5/16"-18

- hex flange lock, 5/16 inch NC

4шт.

13

1327561C2

SUPPORT

- master brake cylinder

1шт.

14

477-73812

SERRATED SCREW,Truss HD, 3/8" - 16 x 3/4"

- slotted truss head, 3/8 NC x 3/4 inch

4шт.

15

482256R1

BEARING LOCK NUT,Flg, USR, 3/8"-16

- hex flange lock, 3/8 inch NC

4шт.

16

1281885C1

PIPE

TUBE - equalizer

1шт.

17

218-5053

HYD CONNECTOR,7/16" - 20 JIC x 7/16" - 20 ORB

CONNECTOR - swivel, 1/4 tube 7/16-20 thread x 1/4 tube 7/16-20 thread

2шт.

18

28616R1

O-RING,4-1, Cl 3, .351" ID x .072" Thk

4шт.

19

9410278

ELBOW,90 Degree, 7/16"-20, 37 Degree x 7/16"-20, 37 Degree Fem Sw

- 90 degree swivel, 1/4 tube 7/16-20 thread x 1/4 tube 7/16-20 thread

2шт.

20

1321473C2

HYD TUBE

TUBE - brake, upper left

1шт.

21

1321474C2

TUBE

- brake, upper right.

1шт.

22

1321512C1

HYD TUBE,0.25" OD, 360, 65 mm Length

TUBE - brake, lower

2шт.

23

1321511C2

HYD TUBE

TUBE - brake, middle

2шт.

24

9402706

HYD CONNECTOR,7/16"-20, 37 Degree x 1/8"-27, NPTF

CONNECTOR - flared tube, 1/4 tube 1/8 PT x 1/4 tube 7/16-20 thread

2шт.

25

937875R1

SCREW,Serr, 1/4" - 20

- slotted truss head, 1/4 NC x 3/4 inch

3шт.

26

515-2863

CLAMP,1/4", 3/8" Bolt

- tube

4шт.

27

938016R1

FLANGE NUT,Flg, USR, 1/4"-20

- hex flange lock, 1/4 inch NC

3шт.

Выбрано товаров: 27