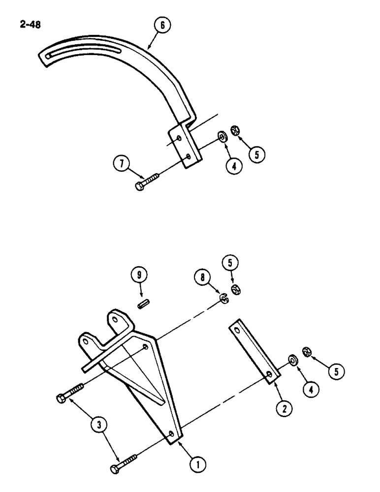
Запчасти Case IH 1620 (2-048) - ALTERNATOR BRACKET AND BRACE, D358 DIESEL ENGINE (01) - ENGINE

Схема запчастей Case IH 1620 - (2-048) - ALTERNATOR BRACKET AND BRACE, D358 DIESEL ENGINE (01) - ENGINE
6
4
8
1
5
9
5
5
3
2
4
7
FIT
1:1
100%

Артикул

Название

Примечание

Количество

1

3218048R2

SUPPORT

BRACKET ASSEMBLY - alternator

1шт.

2

3144970R1

PLATE

- distance

1шт.

3

113-177

BOLT,Hex, 5/16" - 18 x 3", Gr 5

3шт.

4

27326R1

WASHER,.344" x 11/16" x .089", HDN

- hardened, 5/16 inch

6шт.

5

9635082

NUT,5/16" - 18, Gr 5

4шт.

6

1329027C1

SUPPORT

BRACE - alternator

1шт.

7

26269R1

BOLT,Hex, 5/16" - 18 x 2 3/4", Gr 8

- hex, 5/16 NC x 2-3/4 inch

1шт.

8

192-20

LOCK WASHER,Helical Spring, 0.318" ID, CST, ZND

WASHER, LOCK, 5/16"

1шт.

9

717547R1

LOCK PIN,M16 x 18, Slotted

PIN - slotted spring, 16 x 18 mm

1шт.

10

577715R1

SPACER,16.69mm ID x 22.23mm OD x 10.32mm L

BUSHING alternator, not illustrated

1шт.

Выбрано товаров: 10