Качественные детали и логистика
Оригинальные и аналоговые запчасти с доставкой по России, Казахстану и Беларуси
©2022 PartSell ООО "Система" ИНН 2463123282 ОГРН 1212400004838
Центральный офис: г. Красноярск, Академика Киренского, д.87, пом.4
Телефон: 8 (800) 777-65-74 Email: zakaz@partsell.ru
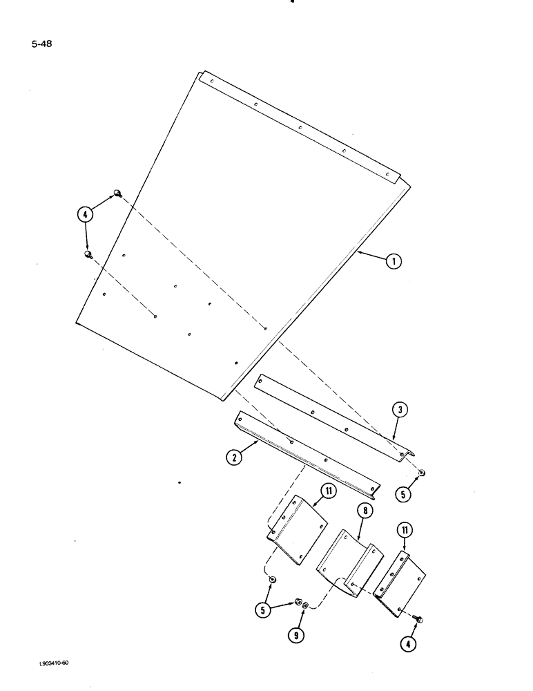
(5-48) - STEERING AXLE SHIELD, POWER GUIDE AXLE
№
Артикул
Название
Примечание
Количество
1
1979074C1
SHIELD
- dribble, guide axle
1шт.
2
1979073C1
SUPPORT
- shield reinforcing
3
1979115C1
4
135270
SERRATED SCREW,5/16" - 18 x 3/4"
BOLT - hex, 5/16 NC x 3/4 inch
12шт.
5
938017R1
FLANGE NUT,Flg, USR, 5/16"-18
- hex flange lock, 5/16 inch NC
8
183094C1
CUSHION
STRIP - shield support
9
495-11034
WASHER,5/16", SAE
5/16" SAE (flat, 11/32 x 11/16 x 1/16")
4шт.
11
1338280C1
ANGLE
- shield support
2шт.
Выбрано товаров: 0