Запчасти Case IH 1620 (9D-32 ) - TAILINGS ELEVATOR DRIVE (CONTD) (16) - GRAIN ELEVATORS & AUGERS

Схема запчастей Case IH 1620 - (9D-32 ) - TAILINGS ELEVATOR DRIVE (CONTD) (16) - GRAIN ELEVATORS & AUGERS
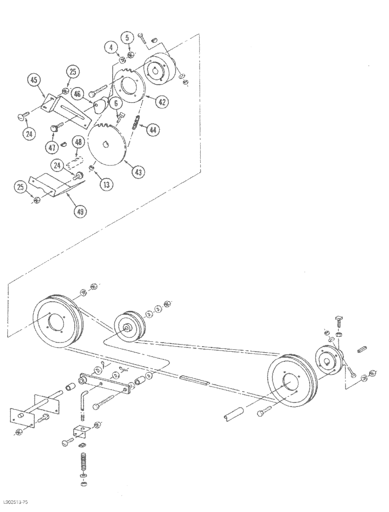
48
47
5
24
25
25
45
13
49
43
4
42
46
44
24
FIT
1:1
100%

Артикул

Название

Примечание

Количество

42

1979581C1

SPROCKET ASSY.

SPROCKET - drive

1шт.

43

181179C1

SPROCKET ASSY.

SPROCKET - drive, 33 tooth

1шт.

44

NSS

NOT SOLD SEPARAT

CHAIN - drive

1шт.

For service use 63 links of no. 40 chain, 2 offset links 1303D and 1 connecting link 1303D.

1шт.

1303D

LINK

- offset

1шт.

1301D

CHAIN LINK

LINK - connecting

1шт.

45

181295C2

BAR

PLATE - tightener

1шт.

46

936878R1

BLOCK

- tightener

1шт.

47

598813R1

CARRIAGE BOLT,Sht Sq Nk, 1/2" - 13 x 1", Gr 5

BOLT - round head square neck, 1/2 NC x 1 inch

1шт.

48

REF

INSTRUCTION

SHAFT - auger (See Figure 9D-14)

1шт.

49

1303244C1

SHIELD

- drive

1шт.

Выбрано товаров: 11