Запчасти Case IH 1620 (9F-04) - STRAW SPREADER (19) - STRAW SPREADER & CHOPPER

Схема запчастей Case IH 1620 - (9F-04) - STRAW SPREADER (19) - STRAW SPREADER & CHOPPER
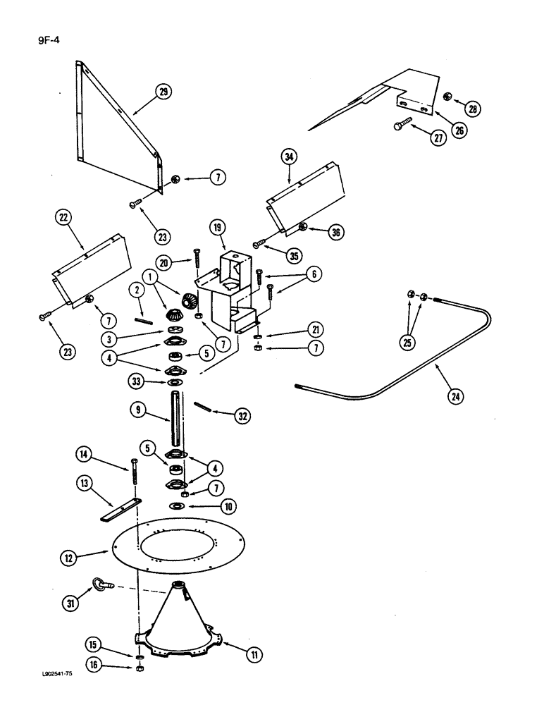
7
25
3
1
15
7
5
23
19
27
32
13
16
22
10
2
33
4
28
14
23
7
21
26
31
34
7
11
9
20
4
24
7
12
36
5
6
29
35
FIT
1:1
100%

Артикул

Название

Примечание

Количество

1

185410C1

GEAR-SET

GEAR SET - drive (Set of 2 gears)

1шт.

2

19534R1

PIN,1/4" x 1 1/2", Coiled

1шт.

3

495-81069

WASHER,1-1/32" ID x 1-1/2" OD x 3/50" Thk

- flat, 1-1/32 x 1-1/2 x 3/64 inch

3шт.

4

571424R1

FLANGE

- bearing

8шт.

5

195293C91

BALL BEARING,0.89" ID x 2.04" OD x 1"

BEARING - shaft

4шт.

6

202107C1

BOLT,Hex Serr Flg, 5/16" - 18 x 3/4"

- hex flange lock, 5/16 NC x 3/4 inch

14шт.

7

938017R1

FLANGE NUT,Flg, USR, 5/16"-18

- hex, 5/16 inch NC

25шт.

9

192240C1

SHAFT

- spreader

1шт.

10

183041C1

WASHER

WASHER - cone

1шт.

11

188218C3

SUPPORT

CONE - spreader

1шт.

12

192254C1

DISC

- spreader

1шт.

13

1303172C1

BAT

- spreader

1шт.

14

413-524

BOLT,Hex, 5/16" - 18 x 1-1/2", Gr 5

- hex, 5/16 NC x 1-1/2 inch

12шт.

15

496-21034

WASHER,11/32" x 11/16" x 0.89", HDN

12шт.

16

188471C1

FLANGE NUT,Flg, 5/16"-18

NUT - hex lock, 5/16 inch NC

12шт.

19

1317897C2

BRACKET

- drive

1шт.

20

535789R1

BOLT,Hex Serr, 5/16" - 18 x 1 1/4"

- hex, 5/16 NC x 1-1/4 inch

2шт.

21

28588R1

WASHER

- flat, 11/32 x 11/16 x 3/64 inch

2шт.

22

186449C2

SHIELD

- dust

1шт.

23

135270

SERRATED SCREW,5/16" - 18 x 3/4"

- slotted, 5/16 NC x 3/4 inch

9шт.

24

181207C1

ROD

- shield

1шт.

25

131-930

FLANGE NUT,Hex Serr, 1/2" - 13, Gr 5

- hex, 1/2 inch NC

4шт.

26

1979071C2

GUARD

SHIELD - spreader

1шт.

27

541313R1

BOLT,Hex Serr Flg, 3/8" - 16 x 3/4"

- hex, 3/8 NC x 3/4 inch

6шт.

28

482256R1

BEARING LOCK NUT,Flg, USR, 3/8"-16

- hex, 3/8 inch NC

6шт.

29

1303119C1

SUPPORT

DEFLECTOR R.H., discharge

1шт.

1970456C1

DEFLECTOR

L.H.

1шт.

31

1319303C1

PIN

- spreader retaining

1шт.

32

19534R1

PIN,1/4" x 1 1/2", Coiled

2шт.

33

59171R1

WASHER - flat, 1-1/32 x 1-1/2 x 3/64 inch

3шт.

34

1977154C1

SHIELD

- spreader dust

1шт.

35

632277R1

BOLT - slotted truss head, 5/16 NC x 3/4 inch

4шт.

36

938017R1

FLANGE NUT,Flg, USR, 5/16"-18

- hex flange lock, 5/16 inch NC

4шт.

Выбрано товаров: 0