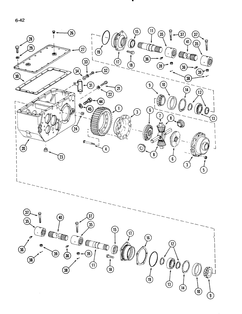
Запчасти Case IH 1620 (6-42) - TRANSMISSION CASE AND DIFFERENTIAL SHAFT (03) - POWER TRAIN

Схема запчастей Case IH 1620 - (6-42) - TRANSMISSION CASE AND DIFFERENTIAL SHAFT (03) - POWER TRAIN
45
6
26
8
37
14
5
35
12
19
30
41
39
16
44
37
15
33
39
17
36
11
11
9
10
40
18
27
39
37
29
28
9
15
35
21
36
36
35
1
22
37
38
20
6
8
12
4
18
10
24
13
23
3
38
38
14
17
32
36
19
7
39
13
3
35
34
31
FIT
1:1
100%

Артикул

Название

Примечание

Количество

395631R92

PACKAGE

CASE KIT - differential case, Includes: Ref. 1 - 5

1шт.

1

NSS

NOT SOLD SEPARAT

GEAR - differential driven, 53 teeth

1шт.

3

NSS

NOT SOLD SEPARAT

CASE - differential, left and right

2шт.

4

395636R2

BOLT,1/2" - 20 x 3.87"

- differential case

8шт.

5

381368R1

NUT,Hex, 1/2" - 20, Gr 8

- hex, 1/2 inch NF, Grade 8

8шт.

6

360962R2

GEAR

- differential bevel, 28 teeth

2шт.

7

388093R1

U-JOINT SPIDER

SPIDER - differential

1шт.

8

360961R1

GEAR

- differential spider, 15 teeth

4шт.

9

ST2039

BEARING CONE,68.26mm ID x 22.07mm W

CONE - bearing, differential

2шт.

10

A26744

BEARING CUP,110.025 mm OD x 18.875 mm

CUP - bearing, differential

2шт.

11

533848R3

SHAFT

- differential

2шт.

12

379511R1

SNAP RING,#177, 1.657", Ext

RING - retaining

4шт.

13

ST560

BEARING, BALL,45 mm ID x 75 mm OD x 16 mm

BEARING - ball, differential cage

2шт.

14

379485R1

RING

- differential bearing, snap

2шт.

15

380182R91

OIL SEAL,42.42mm ID x 62.05mm OD x 8.41mm Thk

- oil, differential cage

2шт.

16

573976R1

DISC

SHIM - cage, 0.003 inch

1шт.

16

573977R1

SHIM

- cage, 0.005 inch

1шт.

16

573978R1

SHIM

- cage, 0.010 inch

1шт.

17

379445R1

BEARING ASSY,61.9 mm ID x 76.2 mm

- bearing

2шт.

18

326-618

BOLT,Hex, 3/8" - 16 x 1-1/8", Gr 8

10шт.

19

238-5247

O-RING,0.139" Thk x 4.609" ID, -247, Cl 5, 75 Duro

2шт.

20

184079C1

CASE

- transmission

1шт.

21

426-824

BOLT,Hex, 1/2" - 13 x 1-1/2", Gr 8

- hex, 1/2 NC x 1-1/2 inch, Grade 8

2шт.

22

366864C1

LOCK WASHER,1/2"

1/2"

2шт.

23

320185C1

PLUG

- square head, magnetic, 3/4 inch PT

1шт.

24

444595

DRAIN PLUG,Sq Hd, 1/4"-14 NPTF

PLUG - square head, 3/4 inch PT (Oil fill level)

1шт.

26

91916R91

BREATHER,3/8"-18 NPT, Short, w/washer

- transmission case

1шт.

27

184074C2

COVER

- transmission case

1шт.

28

13-612

BOLT,Hex, 3/8" - 16 x 3/4", Gr 5, Full Thd

15шт.

29

93-41039

LOCK WASHER,Ext Tooth, 3/8"

WASHER - lock, external tooth, 3/8 inch

15шт.

30

573998R2

GASKET

- transmission case cover

1шт.

31

402838R1

TROUGH

- oil

1шт.

32

470-12510

SCREW,Slotted Pan Hd, 1/4"-20 x 5/8"

- pan head slotted, 1/4 NC x 5/8 inch

1шт.

33

92-11025

LOCK WASHER,6.4mm ID x 12.37mm OD x 1.57mm Thk

WASHER, LOCK, 1/4"

1шт.

34

195-516

WASHER,#12

- flat, 1/4 x 9/16 x 1/32 inch

1шт.

35

184342C1

COUPLING

ASSEMBLY - axle shaft, Includes: Ref. 36

4шт.

36

86504104

LUBE NIPPLE,1/4" x .56" lg, Drive

FITTING - grease, 1/4 inch PT

1шт.

37

27652R1

BOLT,Hex, 3/8" - 16 x 3", Gr 8

- hex drilled, 3/8 NC x 3 inch, Grade 8

4шт.

38

21864R1

COTTER PIN

- S Type retaining

4шт.

39

654049R1

LOCK NUT

- flex lock, 3/8 inch NC

4шт.

40

59889C1

SHAFT

- final drive, left

1шт.

41

184185C1

SHAFT

- final drive, right

1шт.

44

461-35056

SCREW - hex socket head, 1/2 NC x 3-1/2 inch

2шт.

45

493-21052

LOCK WASHER,Int Tooth, 1/2"

WASHER - internal lock, 1/2 inch

2шт.

1968234C1

DIFFERENTIAL

ASSEMBLY - complete

1шт.

Выбрано товаров: 45