Запчасти Case IH 1620 (5-34) - SELECTOR VALVE MOUNTING, POWER GUIDE AXLE (04) - STEERING

Схема запчастей Case IH 1620 - (5-34) - SELECTOR VALVE MOUNTING, POWER GUIDE AXLE (04) - STEERING
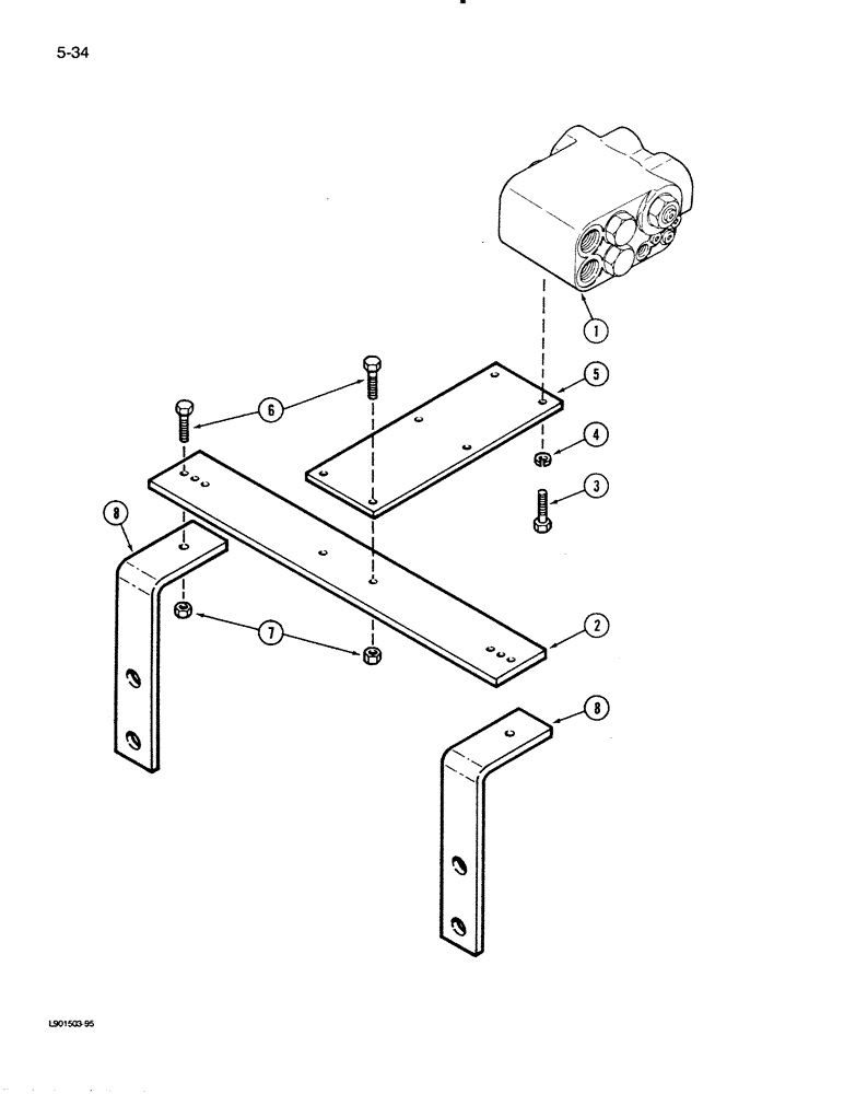
5
2
7
8
3
8
1
6
4
FIT
1:1
100%

Артикул

Название

Примечание

Количество

1

REF

INSTRUCTION

VALVE ASSEMBLY - selector (See Figure 5-44)

1шт.

2

1324455C1

PLATE

- mounting, valve

1шт.

3

113-2223

BOLT,Hex, 3/8" - 16 x 1-1/2", Gr 8

- hex, 3/8 NC x 1-1/2 inch, Grade 8

2шт.

4

492-11038

LOCK WASHER,3/8"

2шт.

5

1324454C2

BAR

PLATE - valve mounting

1шт.

6

113-2223

BOLT,Hex, 3/8" - 16 x 1-1/2", Gr 8

- hex, 3/8 NC x 1-1/2 inch, Grade 8

4шт.

7

9413979

LOCK NUT,3/8"-16, GC

NUT - hex lock, 3/8 inch NC

4шт.

8

1324471C1

BRACKET

SUPPORT - bracket, valve

2шт.

Выбрано товаров: 8