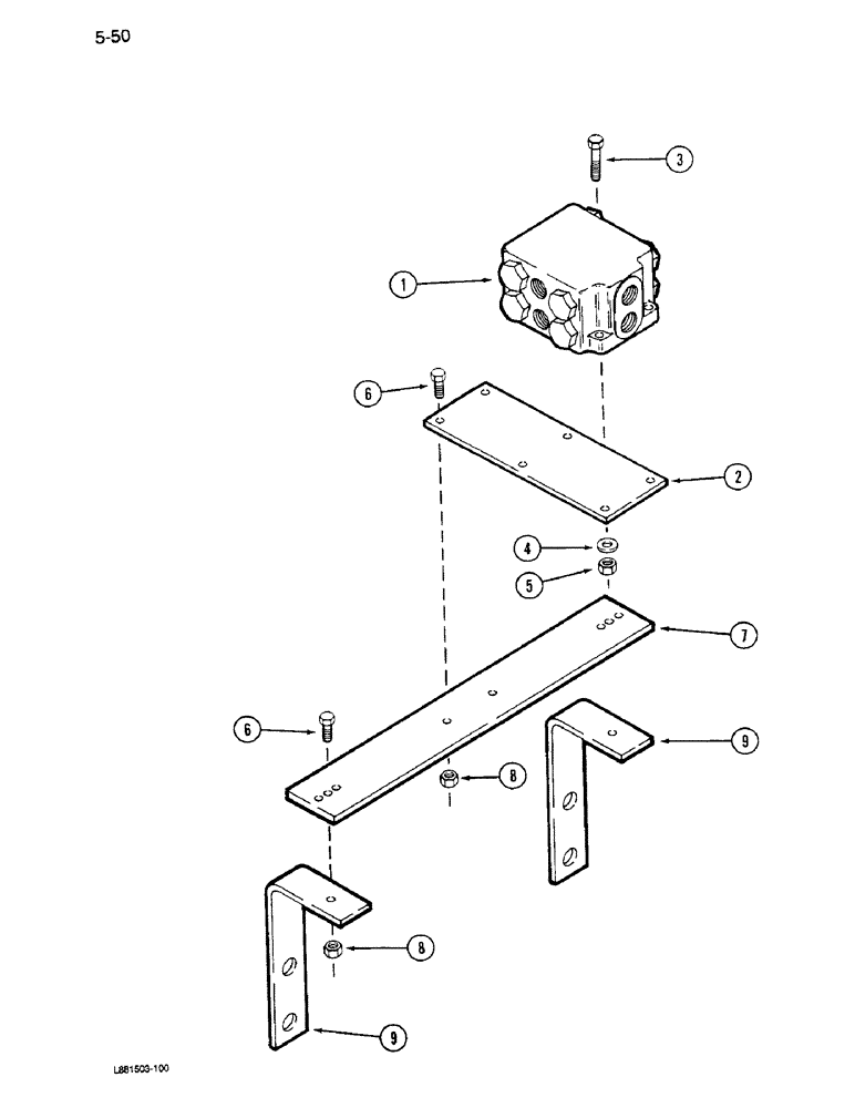
Запчасти Case IH 1640 (5-50) - POSITRACTION VALVE MOUNTING, POWER GUIDE AXLE, PRIOR TO P.I.N. JJC0034001 (04) - STEERING

Схема запчастей Case IH 1640 - (5-50) - POSITRACTION VALVE MOUNTING, POWER GUIDE AXLE, PRIOR TO P.I.N. JJC0034001 (04) - STEERING
2
6
3
5
7
1
9
4
8
9
8
6
FIT
1:1
100%

Артикул

Название

Примечание

Количество

1

1324466C91

VALVE

- positraction

1шт.

2

1324454C1

PLATE

- valve mounting

1шт.

3

25654R1

BOLT,Hex, 5/16" - 18 x 1 1/2", Gr 8

- hex, 5/16 NC x 1-1/2 inch, Grade 8

2шт.

4

27309R1

WASHER

- flat, 11/32 x 11/16 x 3/64 inch

2шт.

5

131-1215

LOCK NUT,5/16"-18, GC

NUT, LOCK, 5/16"-18, GC

2шт.

6

24840R1

BOLT,Hex, 3/8" - 16 x 1", Gr 8

4шт.

7

1324455C1

PLATE

- valve mounting

1шт.

8

9411655

LOCK NUT,3/8"-16, GB

NUT - hex prevailing torque, 3/8 inch NC

4шт.

9

1324471C1

BRACKET

- support

2шт.

Выбрано товаров: 9