Запчасти Case IH 1640 (8-04) - HYDRAULIC RESERVOIR DRAIN SYSTEM (07) - HYDRAULICS

Схема запчастей Case IH 1640 - (8-04) - HYDRAULIC RESERVOIR DRAIN SYSTEM (07) - HYDRAULICS
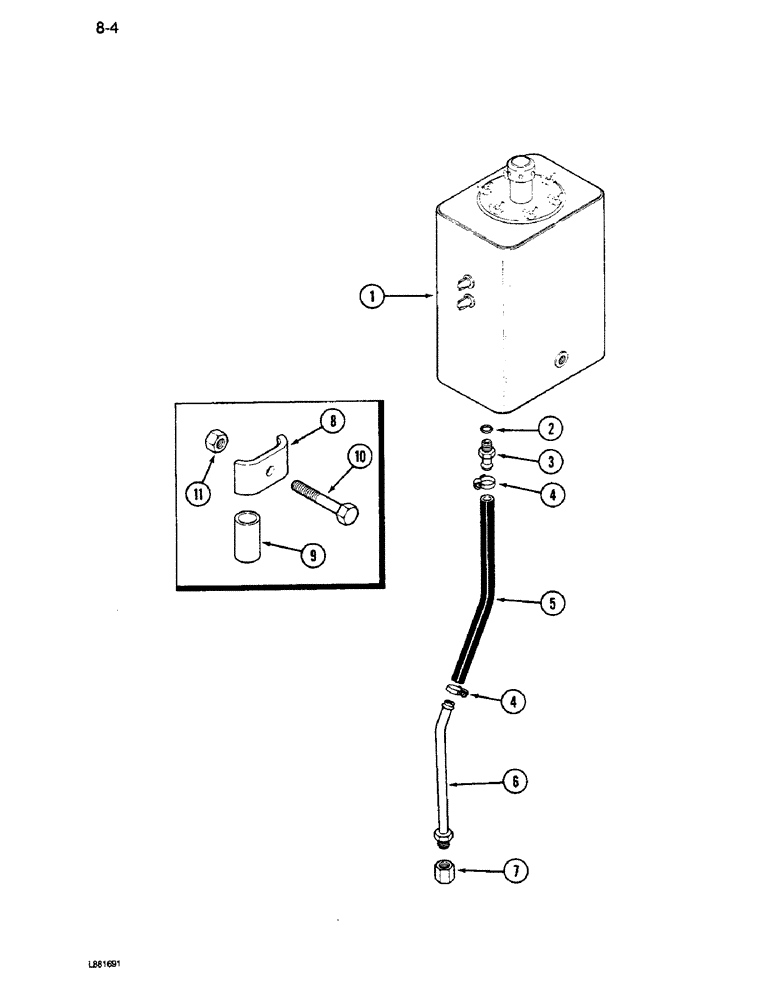
3
7
10
5
8
4
6
1
4
9
2
11
FIT
1:1
100%

Артикул

Название

Примечание

Количество

1

REF

INSTRUCTION

RESERVOIR ASSEMBLY - hydraulic (See Figure 8-2)

1шт.

2

237-6008

O-RING,0.087" Thk x 0.644" ID, -908, Cl 6, 90 Duro

8-1, 90 Duro, .644" ID x .087" Thk, 1/2" OD tube

1шт.

3

196816C1

FITTING

CONNECTOR - drain hose

1шт.

4

214-254

HOSE CLAMP,#12, 0.69" - 1.25", Type F Worm

CLAMP - hose, No. 12, Type F

2шт.

5

NSS

NOT SOLD SEPARAT

HOSE - oil, 5/8 inch ID x 15 inch long (Order S118576, Serial Range: cut-length)

1шт.

6

187822C1

HYD TUBE,5/8" OD, 14, 1.2" Length

TUBE - drain

1шт.

7

218-756

CAP,37 Degree, 7/8"-14

Tube, Drain tube 37º, 7/8"-14

1шт.

8

165601C1

CLAMP

- reservoir drain tube

1шт.

9

163492C1

RUBBER INSULATOR

STRIP - tube clamp

1шт.

10

113-248

BOLT,Hex, 3/8" - 16 x 2-3/4", Gr 5

1шт.

11

482256R1

BEARING LOCK NUT,Flg, USR, 3/8"-16

- hex flange lock, 3/8 inch NC

1шт.

Выбрано товаров: 11