Запчасти Case IH 1640 (1-14) - PICTORIAL INDEX, HEADER LIFT HYDRAULICS (00) - PICTORIAL INDEX

Схема запчастей Case IH 1640 - (1-14) - PICTORIAL INDEX, HEADER LIFT HYDRAULICS (00) - PICTORIAL INDEX
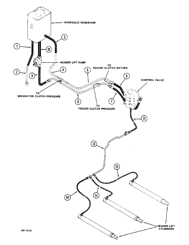
13
4
9
11
14
1
13
12
10
8
3
6
7
2
5
FIT
1:1
100%

Артикул

Название

Примечание

Количество

1

Reservoir Drain Hose, Page 8-5

1шт.

2

Reservoir Drain Tube, Page 8-5

1шт.

3

Header Lift, Return, Rear Hose, Page 8-17

1шт.

4

Header Lift Return, Rear Tube, Page 8-17

1шт.

5

Header Lift Return, Front Tube, Page 8-17

1шт.

6

Header Lift Return, Front Hose, Page 8-17

1шт.

7

Header Lift Return, Front Hose, Page 8-13

1шт.

8

Header Lift Pressure Tube, Page 8-13

1шт.

9

Header Lift Pressure Rear Hoses, Page 8-13

1шт.

10

Header Lift Suction Hose, Page 8-13

1шт.

11

Header Lift Hose, Page 8-27

1шт.

12

Header Lift Cylinder Tube, Page 8-27

1шт.

13

Header Lift Cylinder Hose, Page 8-27

1шт.

14

Header Lift Cylinder Hose, Page 8-27

1шт.

Выбрано товаров: 14