Запчасти Case IH 1640 (8-78) - ACCUMULATOR (07) - HYDRAULICS

Схема запчастей Case IH 1640 - (8-78) - ACCUMULATOR (07) - HYDRAULICS
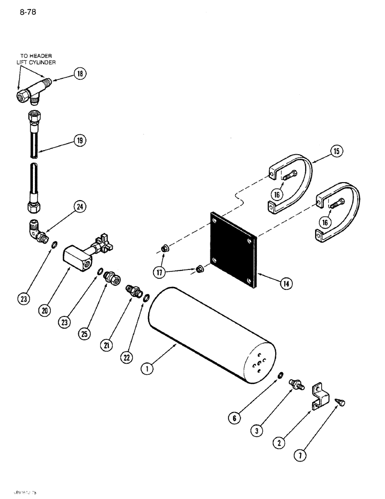
16
17
23
3
18
24
14
20
16
23
6
22
15
19
1
7
21
2
25
FIT
1:1
100%

Артикул

Название

Примечание

Количество

1

1978111C1

TANK

ASSEMBLY - accumulator (Replaces 84927C91), Includes: Ref. 2 - 7 and seal kit P/N 1341919C1

1шт.

2

1341920C1

PROTECTOR

GUARD - valve (Replaces 172131C1)

1шт.

3

1978142C1

VALVE

- accumulator charging, Includes core and cap

1шт.

1978143C1

PISTON

CORE - valve

1шт.

1978144C1

CAP

- valve

1шт.

6

1978158C1

O-RING

- valve sealing

1шт.

7

187-1521

SELF-TAP SCREW,3/8" - 16 x 5/8"

BOLT - hex tapping, 3/8 NC x 3/4 inch

2шт.

1341919C1

SEAL KIT

KIT - seal

1шт.

14

196821C1

STRIP

CUSHION - accumulator

1шт.

15

172133C1

SUPPORT

- accumulator

2шт.

Not used with Ref #1 Accumulator NHE SB 095.1 89

1шт.

16

155807C1

BOLT,Hex Serr, 5/16" - 18 x 1"

4шт.

17

938017R1

FLANGE NUT,Flg, USR, 5/16"-18

- hex flange lock, 5/16 inch NC

4шт.

18

218-5220

TEE,37 Degree, 7/8"-14 x 7/8"-14, Fem Sw Run

- swivel, 5/8 inch tube

1шт.

19

390649R92

HYDRAULIC HOSE

HOSE - accumulator, 19 inch long

1шт.

19

381173R91

HOSE,12.7mm ID x 209.55mm L, SAE 100R1

- accumulator, 29 inch long

1шт.

20

183510C1

VALVE

ASSEMBLY

1шт.

21

380632R1

HYD CONNECTOR,3/4"-16, 37 Degree x 1 1/16"-12, O-Ring

ADAPTER - straight, 3/4-16 x 1-1/16-12 inch thread

1шт.

22

237-6012

O-RING,0.116" Thk x 0.924" ID, -912, Cl 6, 90 Duro

12-1, 90 Duro, .924 ID x .116" Thk, 3/4 inch O.D.

1шт.

23

237-6008

O-RING,0.087" Thk x 0.644" ID, -908, Cl 6, 90 Duro

8-1, 90 Duro, .644" ID x .087" Thk, 1/2" OD tube

2шт.

24

218-5117

ELBOW,90 Degree Elbow, 7/8" - 14 Male JIC x 3/4" - 16 Male ORB

- 90 degree adjustable, 3/4-16 x 7/8-14 inch thread

1шт.

25

1327736C1

ELBOW

CONNECTOR - adaptor

1шт.

Выбрано товаров: 22