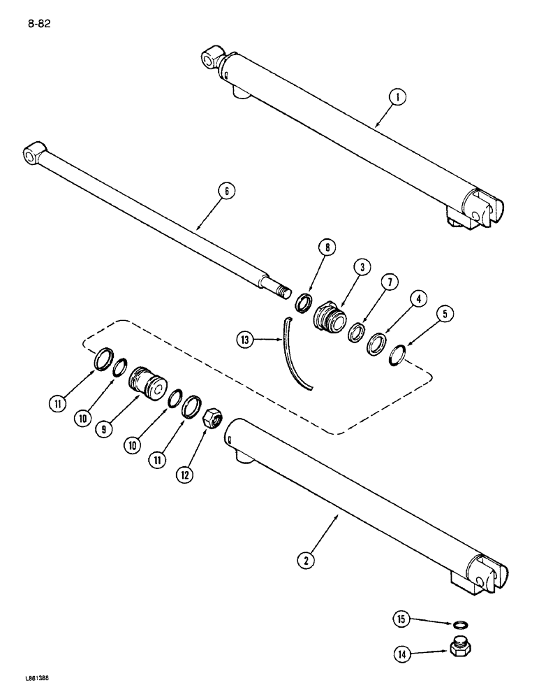
Запчасти Case IH 1640 (8-82) - UNLOADER TUBE SWING CYLINDER (07) - HYDRAULICS

Схема запчастей Case IH 1640 - (8-82) - UNLOADER TUBE SWING CYLINDER (07) - HYDRAULICS
9
11
3
13
8
11
2
7
1
15
6
12
4
5
10
10
14
FIT
1:1
100%

Артикул

Название

Примечание

Количество

1

1282488C91

CYLINDER

ASSEMBLY - hydraulic

1шт.

1282488C92R

REMAN-HYD CYLINDER

1640 Prior To S/N 44C0034705 (1/86-12/92), Reman For New P/N 1282488C91

1шт.

1282488C92C

CORE-HYD CYLINDER

Return Number

1шт.

2

NSS

NOT SOLD SEPARAT

SLEEVE ASSEMBLY - cylinder

1шт.

3

1252291C1

HEAD

- front

1шт.

4

NSS

NOT SOLD SEPARAT

O-RING - 1-5/16 x 1-1/2 inch

1шт.

Part of Hydraulic Cylinder Sealing Kit, P/N 1272677C94

1шт.

5

NSS

NOT SOLD SEPARAT

RING - backup

1шт.

Part of Hydraulic Cylinder Sealing Kit, P/N 1272677C94

1шт.

6

1285720C1

ROD

- piston

1шт.

7

NSS

NOT SOLD SEPARAT

SEAL - rod

1шт.

Part of Hydraulic Cylinder Sealing Kit, P/N 1272677C94

1шт.

8

NSS

NOT SOLD SEPARAT

WIPER - rod

1шт.

Part of Hydraulic Cylinder Sealing Kit, P/N 1272677C94

1шт.

9

1285719C1

PISTON

- cylinder

1шт.

10

NSS

NOT SOLD SEPARAT

RING - 1-3/16 x 1-3/8 inch

2шт.

Part of Hydraulic Cylinder Sealing Kit, P/N 1272677C94

1шт.

11

NSS

NOT SOLD SEPARAT

RING - seal

2шт.

Part of Hydraulic Cylinder Sealing Kit, P/N 1272677C94

1шт.

12

9411658

LOCK NUT,5/8"-11, GC

NUT - hex lock, 5/8 inch NF

1шт.

13

NSS

NOT SOLD SEPARAT

WIRE - retaining

1шт.

Part of Hydraulic Cylinder Sealing Kit, P/N 1272677C94

1шт.

14

9410356

PLUG

- 1/4 C-Z straight thread o-ring boss

1шт.

15

NSS

NOT SOLD SEPARAT

O-RING - 1/4 inch, O.D.

1шт.

Part of Hydraulic Cylinder Sealing Kit, P/N 1272677C94

1шт.

1272677C94

SEAL KIT

KIT - hydraulic cylinder sealing, Includes: Ref. 4, 5, 7, 8, 10, 11, 13, and 15

1шт.

Выбрано товаров: 26