Запчасти Case IH 1640 (2-04) - DUSTY AIR RADIATOR ATTACHMENT (01) - ENGINE

Схема запчастей Case IH 1640 - (2-04) - DUSTY AIR RADIATOR ATTACHMENT (01) - ENGINE
21
24
27
13
46
11
34
4
31
48
19
12
26
22
32
22
47
42
43
8
7
12
33
8
23
28
41
10
15
23
9
12
36
11
12
11
29
9
12
21
25
10
11
3
2
39
20
27
45
1
30
44
40
35
12
7
26
FIT
1:1
100%

Артикул

Название

Примечание

Количество

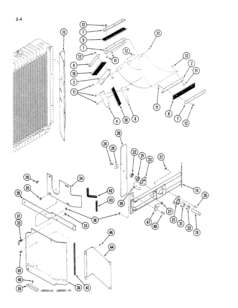
1

1977159C1

SUPPORT

- baffle, seal left

1шт.

2

1977160C1

SUPPORT

- baffle, seal right

1шт.

3

1977161C1

SUPPORT

- baffle, seal left rear

1шт.

4

1977162C1

SUPPORT

- baffle, seal right rear

1шт.

7

1977163C1

LARGE PLATE

STRIP - seal, baffle side

2шт.

8

1977164C1

SEALING STRIP

- seal, baffle rear

2шт.

9

1977165C1

SEAL

- side, baffle

2шт.

10

1977166C1

SEAL

- rear, baffle

2шт.

11

161108C1

BOLT,Hex Serr, 1/4" - 20 x 1/2"

SCREW - slotted truss head, 1/4 NC x 1/2 inch

12шт.

12

26110R1

LOCK NUT,1/4"-20, GC

NUT - hex flange lock, 1/4 inch NC

12шт.

13

1977289C1

SHEET

FILLER - deflector

1шт.

15

1977137C1

SUPPORT

- blade, radiator

1шт.

19

1977170C1

SHAFT

- blade

1шт.

20

1977139C1

BLADE

- radiator, grain machine only

1шт.

21

455957R92

BEARING ASSY,19.05mm ID x 47mm OD x 14mm W

ASSEMBLY - shaft

2шт.

22

455958R11

COLLAR,19.05mm ID x 32.94mm OD x 13.49mm W

ASSEMBLY - lock, bearing

2шт.

23

H333534

FLANGED BEARING

FLANGE - bearing

4шт.

24

26309R1

BOLT,Hex, 3/8" - 16 x 3/4", Gr 8

- hex lock, 3/8 NC x 3/4 inch

1шт.

25

495-81145

WASHER,13/32" x 1 3/4" x .120"

- flat, 13/32 x 1-3/4 x 1/8 inch

1шт.

26

598802R1

CARRIAGE BOLT,Short NK, 5/16"-18 x 3/4", G5, Full Thd

BOLT - round head square neck, 5/16 NC x 3/4 inch

6шт.

27

938017R1

FLANGE NUT,Flg, USR, 5/16"-18

- hex flange lock, 5/16 inch NC

6шт.

28

199953C1

SELF-TAP SCREW,HWH, 5/16" - 18 x 13/16"

SCREW, SELF TAP, Hex Wash Hd, 5/16"-18 x 13/16"

2шт.

29

1970528C1

BRACKET

- deflector, air

1шт.

30

1977078C1

SHIELD

- deflector

1шт.

31

1316776C1

STUD

- fastener, shield

2шт.

32

1316777C1

LOCKING RING

RETAINER - stud

2шт.

33

1326331C1

NUT

RECEPTACLE - clip on, stud

2шт.

34

1970524C1

SHIELD

- deflector

1шт.

35

202107C1

BOLT,Hex Serr Flg, 5/16" - 18 x 3/4"

- hex head flange, 5/16 NC x 3/4 inch

3шт.

36

938017R1

FLANGE NUT,Flg, USR, 5/16"-18

- hex flange lock, 5/16 inch NC

3шт.

39

1970544C1

STOP

- lower, shield

1шт.

40

143306C1

SELF-TAP SCREW,Cross Pan Hd, #10 x 1/2"

SCREW - pan head cross slotted, No.10-16 x 1/2 inch

3шт.

41

NSS

NOT SOLD SEPARAT

TRIM - edge, shield, 12 inch long (Order 1977224C1 and, Serial Range: cut-length)

1шт.

42

NSS

NOT SOLD SEPARAT

TRIM - edge, shield, 6-1/2 inch long (Order 1977224C1 and, Serial Range: cut-length)

1шт.

43

NSS

NOT SOLD SEPARAT

TRIM - edge, shield, 5 inch long (Order 1977224C1 and, Serial Range: cut-length)

1шт.

1977224C1

CHANNEL

TRIM - edge, bulk 50 foot roll

1шт.

44

1979070C1

SHIELD

- inner air deflector

1шт.

45

161108C1

BOLT,Hex Serr, 1/4" - 20 x 1/2"

- hex flange lock, 1/4 NC x 1/2 inch

4шт.

46

938016R1

FLANGE NUT,Flg, USR, 1/4"-20

- hex, flange lock, 1/4 inch NC

4шт.

47

1979137C1

BAR

- blade stop

1шт.

48

27569R1

SELF-TAP SCREW,Hex Washer, 5/16" - 18 x 1"

BOLT - hex washer head, 5/16 NC x 1 inch

1шт.

Выбрано товаров: 41