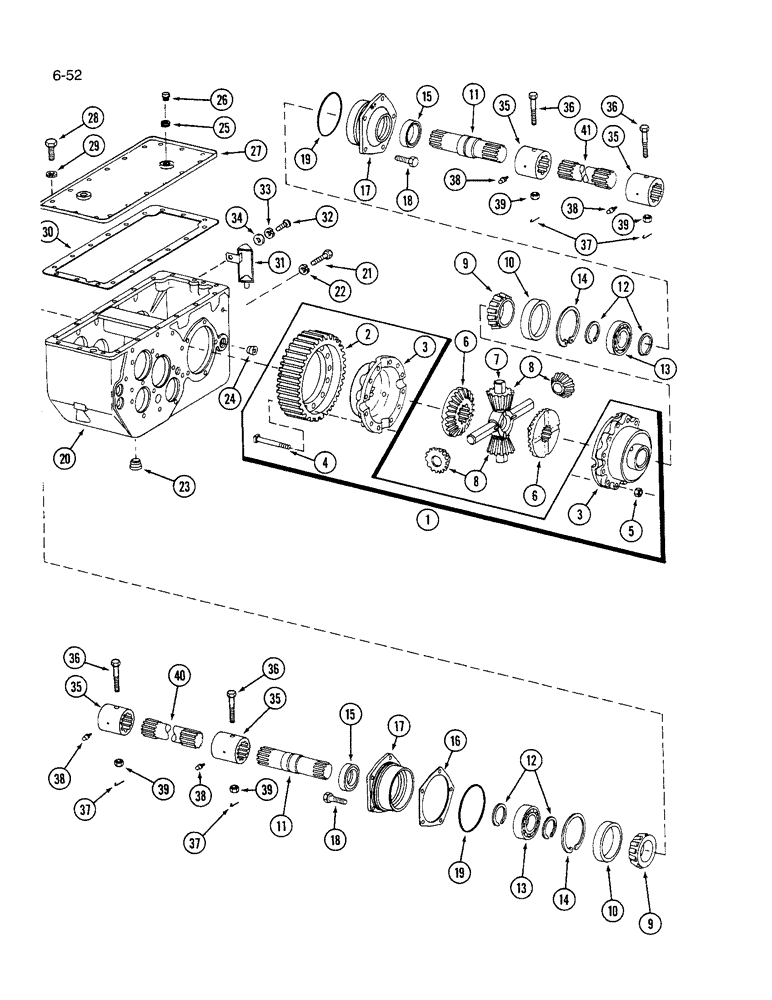
Запчасти Case IH 1640 (6-52) - TRANSMISSION DIFFERENTIAL SHAFT (03) - POWER TRAIN

Схема запчастей Case IH 1640 - (6-52) - TRANSMISSION DIFFERENTIAL SHAFT (03) - POWER TRAIN
41
15
7
27
34
4
10
12
25
19
11
39
8
22
19
37
20
30
39
35
9
10
39
17
28
8
12
6
5
24
37
13
40
21
29
15
36
13
16
26
36
3
1
18
35
9
11
36
35
35
32
38
18
38
2
14
23
37
33
14
17
36
38
6
39
38
31
3
FIT
1:1
100%

Артикул

Название

Примечание

Количество

1968234C1

DIFFERENTIAL

ASEMBLY, Includes: Ref. 1 - 10

1шт.

1

395631R92

PACKAGE

KIT - differential case, Includes: Ref. 2 - 5

1шт.

2

NSS

NOT SOLD SEPARAT

GEAR - differential driven, 53 tooth

1шт.

3

NSS

NOT SOLD SEPARAT

CASE - differential

2шт.

4

395636R2

BOLT,1/2" - 20 x 3.87"

- differential case

8шт.

5

381368R1

NUT,Hex, 1/2" - 20, Gr 8

- hex, 1/2 inch NF, Grade 8

8шт.

6

360962R2

GEAR

- differential bevel, 28 tooth

2шт.

7

388093R1

U-JOINT SPIDER

SPIDER - differential

1шт.

8

360961R1

GEAR

- differential spider, 15 tooth

4шт.

9

ST2039

BEARING CONE,68.26mm ID x 22.07mm W

CONE - bearing, differential

2шт.

10

A26744

BEARING CUP,110.025 mm OD x 18.875 mm

CUP - bearing, differential

2шт.

11

533848R3

SHAFT

- differential

2шт.

12

379511R1

SNAP RING,#177, 1.657", Ext

RING - retaining

4шт.

13

ST560

BEARING, BALL,45 mm ID x 75 mm OD x 16 mm

BEARING - ball, differential cage

2шт.

14

379485R1

RING

- differential bearing, snap

2шт.

15

380182R91

OIL SEAL,42.42mm ID x 62.05mm OD x 8.41mm Thk

- oil, differential cage

2шт.

16

573976R1

DISC

SHIM - cage, 0.003 inch

1шт.

16

573977R1

SHIM

- cage, 0.005 inch

1шт.

16

573978R1

SHIM

- cage, 0.010 inch

1шт.

17

379445R1

BEARING ASSY,61.9 mm ID x 76.2 mm

- bearing

2шт.

18

26311R1

BOLT,Hex, 3/8" - 16 x 1 1/4", Gr 8

- hex prevailing torque, 3/8 NC x 1-1/8 inch, Grade 8

10шт.

19

39738

O-RING,4.609" ID x 0.139" Width

- cage, 4-7/8 x 4-5/8 inch Class 5

2шт.

20

184079C1

CASE

HOUSING - transmission

1шт.

21

427566

BOLT,Hex, 1/2"-13 x 1 1/2", G8, Full Thd

- hex, 1/2 NC x 1-1/2 inch, Grade 8

4шт.

22

366864C1

LOCK WASHER,1/2"

1/2"

4шт.

23

320185C1

PLUG

- square head, magnetic, 3/4 inch PT

1шт.

24

444595

DRAIN PLUG,Sq Hd, 1/4"-14 NPTF

PLUG - square head, 3/4 inch PT (Oil fill level)

1шт.

25

115224

ADAPTER

- 3/4 to 3/8 inch PT

1шт.

26

91916R91

BREATHER,3/8"-18 NPT, Short, w/washer

- transmission housing

1шт.

27

184074C1

COVER ASSY

COVER - transmission housing

1шт.

28

24839R1

BOLT,Hex, 3/8" - 16 x 3/4", Gr 8

15шт.

29

93-41039

LOCK WASHER,Ext Tooth, 3/8"

WASHER - lock, 3/8 inch

15шт.

30

573998R2

GASKET

- transmission case cover

1шт.

31

402838R1

TROUGH

- oil

1шт.

32

27096R1

SCREW

- pan head, 1/4 NC x 5/8 inch

1шт.

33

192-19

LOCK WASHER,Helical Spring, 0.256" ID, CST, ZND

WASHER, LOCK, 1/4"

1шт.

34

195-516

WASHER,#12

- flat, 1/4 x 9/16 x 1/32

1шт.

35

184342C1

COUPLING

- axle shaft

4шт.

36

27652R1

BOLT,Hex, 3/8" - 16 x 3", Gr 8

- hex drilled, 3/8 NC x 3 inch, Grade 8

4шт.

37

21864R1

COTTER PIN

- S Type retaining

4шт.

38

86504104

LUBE NIPPLE,1/4" x .56" lg, Drive

FITTING - grease, 1/4 inch PT

4шт.

39

654049R1

LOCK NUT

- flex lock, 3/8 inch NC

4шт.

40

184183C1

SHAFT

- final drive, left shaft length is 504.70 mm

1шт.

41

184184C1

SHAFT

- final drive, right

1шт.

Выбрано товаров: 44