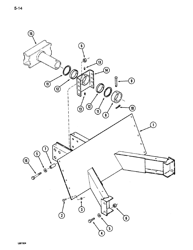
Запчасти Case IH 1640 (5-14) - STEERING AXLE SUPPORT, NONADJUSTABLE AXLE (04) - STEERING

Схема запчастей Case IH 1640 - (5-14) - STEERING AXLE SUPPORT, NONADJUSTABLE AXLE (04) - STEERING
16
2
10
11
12
6
14
1
13
7
8
5
15
11
3
12
13
9
6
5
4
FIT
1:1
100%

Артикул

Название

Примечание

Количество

1

1308816C2

SUPPORT

ASSEMBLY - steering axle

1шт.

1

1315446C2

SUPPORT

ASSEMLY - steering axle (Heavy Duty, Australia Only)

1шт.

2

454998

BOLT,Hex, 1/2" - 13 x 1", Gr 8

- hex, 1/2 NC x 1 inch, Grade 8

10шт.

3

195312C1

FLANGE NUT,Flg, USR, 1/2"-13, G8

- hex, 1/2 inch NC, Grade 8

10шт.

4

380916R1

BOLT,Hex, 3/4" - 10 x 1 1/2", Gr 8

- hex, 3/4 NC x 1-1/2 inch, Grade 8

4шт.

5

25712R1

WASHER

- flat, hardened

8шт.

6

177744C1

FLANGE NUT,Flg, USR, 3/4"-10

- hex, 3/4 inch NC, Grade 8

8шт.

7

177748C1

SPACER

- support, 13/16 x 1-1/4 x 2-13/16 inch

12шт.

8

182795C1

BUSHING,101.68mm ID x 127mm OD x 44.7mm L

- axle pivot

1шт.

9

28147R1

HEADED PIN,3/4" x 5 1/2"

PIN - headed, 3/4 x 5-1/2 inch

1шт.

10

217973

COTTER PIN,1/4" x 1 1/4"

Pin, Split (Cotter), 1/4" x 1-1/4"

1шт.

11

168385C2

WASHER,102.6mm ID x 127mm OD x 3.3mm Thk

- axle pivot

2шт.

12

182794C1

BUSHING,101.77mm ID x mm OD x 19.1mm L

BUSHING - axle pivot

2шт.

13

87415

LUBE NIPPLE,90 Degree, 1/4" NPT x 3/4" L, Drive

NIPPLE, LUBE, 90°, 1/4" NPT x .75" lg, Drive (Replaces 443566)

1шт.

14

182792C92

SUPPORT ASSY.

SUPPORT - front pivot

1шт.

15

24896R1

BOLT,Hex, 3/4" - 10 x 5", Gr 8

4шт.

16

REF

INSTRUCTION

AXLE - steering (See Figure 5-16)

1шт.

Выбрано товаров: 17