Запчасти Case IH 1644 (8-18) - HEADER LIFT SUPPLY SYSTEM (07) - HYDRAULICS

Схема запчастей Case IH 1644 - (8-18) - HEADER LIFT SUPPLY SYSTEM (07) - HYDRAULICS
22
20
3
18
28
35
45
1
19
16
20
8
14
44
5
23
35
13
6
15
4
29
7
40
9
41
46
24
12
37
10
16
2
15
21
FIT
1:1
100%

Артикул

Название

Примечание

Количество

1

REF

INSTRUCTION

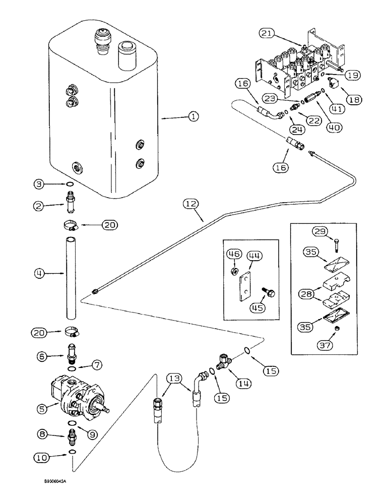
RESERVOIR ASSY., hydraulic oil, see Figures 8-02 and 8-02(1)

1шт.

2

217-178

FITTING,1-1/4" Hose Barb x 1-5/8" - 12 Male ORB

Adapter straight, Incl. Ref. 3

1шт.

3

237-6020

O-RING,0.118" Thk x 1.475" ID, -920, Cl 6, 90 Duro

1шт.

4

1989365C2

HOSE

header lift section, 16-1/4 in (412 mm) long, cut from 1541953C1 bulk hose, see below

1шт.

5

REF

INSTRUCTION

PUMP ASSY., header lift, see Figure 8-50

1шт.

6

217-178

FITTING,1-1/4" Hose Barb x 1-5/8" - 12 Male ORB

Adapter straight, Incl. Ref. 7

1шт.

7

237-6020

O-RING,0.118" Thk x 1.475" ID, -920, Cl 6, 90 Duro

1шт.

8

201-104

HYD CONNECTOR,1-3/16" - 12 Male ORFS x 1-1/16" - 12 Male ORB

Includes Ref. 9 and 10

1шт.

9

237-6012

O-RING,0.116" Thk x 0.924" ID, -912, Cl 6, 90 Duro

1шт.

10

238-6018

O-RING,0.07" Thk x 0.739" ID, -18, Cl 6, 90 Duro

1шт.

11

238-6018

O-RING,0.07" Thk x 0.739" ID, -18, Cl 6, 90 Duro

Not shown

1шт.

12

1989281C2

HYD TUBE

pressure header, lift

1шт.

13

1980050C1

HOSE

auxiliary pump pressuer, 29 in. (737 mm) long

1шт.

14

201-419

TEE,1 3/16"-12 ORFS x 1 3/16"-18 Sw Br

1-3/16-12 in. swivel face branch x face seal x face seal, Includes: Ref. 15

1шт.

15

238-6018

O-RING,0.07" Thk x 0.739" ID, -18, Cl 6, 90 Duro

2шт.

16

1989509C2

HOSE

24 in. (610 mm) long

1шт.

18

1989475C3

TEE

special, 5/8 o-ring boss adj. 3/4 x 3/8 in., Includes: Ref. 19

1шт.

19

237-6010

O-RING,0.097" Thk x 0.755" ID, -910, Cl 6, 90 Duro

1шт.

20

214-3232

HOSE CLAMP,1-1/4" - 2-1/8", HD Worm, W/ Liner

Adjustable

2шт.

21

REF

INSTRUCTION

VALVE ASSY., control, see Figures 8-30 and 8-32

1шт.

22

201-104

HYD CONNECTOR,1-3/16" - 12 Male ORFS x 1-1/16" - 12 Male ORB

Includes Ref. 23 and 24

1шт.

23

237-6012

O-RING,0.116" Thk x 0.924" ID, -912, Cl 6, 90 Duro

1шт.

24

238-6018

O-RING,0.07" Thk x 0.739" ID, -18, Cl 6, 90 Duro

1шт.

28

1989362C1

CLAMP

two piece, 3/4 in. and 1/2 OD tubes

3шт.

29

413-536

BOLT,Hex, 5/16" - 18 x 2-1/4", Gr 5

3шт.

35

1347127C1

PLATE

clamp, hydraulic tube

6шт.

37

231-4115

NUT,5/16"-18, GB

3шт.

40

1272346C1

FILTER

inline, valve pressure line, Includes: Ref. 41

1шт.

41

237-6012

O-RING,0.116" Thk x 0.924" ID, -912, Cl 6, 90 Duro

1шт.

44

196868C2

SUPPORT

PLATE

1шт.

45

409-7512

BOLT,Hex Flg, 5/16" - 18 x 3/4", Spcl

1шт.

46

231-5145

SERRATED NUT,Flg, USR, 5/16"-18

1шт.

1541953C1

HOSE

bulk, 1-1/4 (32 mm) ID x 300 in. (7620 MM) long, used for Ref. 4

1шт.

Выбрано товаров: 33