Запчасти Case IH 1644 (8-30) - CONTROL VALVE AND MOUNTING, WITHOUT FORE AND AFT ATTACHMENT (07) - HYDRAULICS

Схема запчастей Case IH 1644 - (8-30) - CONTROL VALVE AND MOUNTING, WITHOUT FORE AND AFT ATTACHMENT (07) - HYDRAULICS
17
50
43
8
13
41
16
15
19
3
28
27
42
23
4
33
31
52
5
30
53
2
7
35
40
38
34
1
44
22
12
21
46
51
14
25
48
28
10
18
20
39
22
6
24
15
11
33
37
47
32
16
49
9
29
36
45
21
38
FIT
1:1
100%

Артикул

Название

Примечание

Количество

1989498C5

VALVE ASSEMBLY control, not available for service, order individual components, Includes: Ref. 1 - 26

1шт.

1986775C3

VALVE ASSEMBLYcontrol, not available for service, order individual components

1шт.

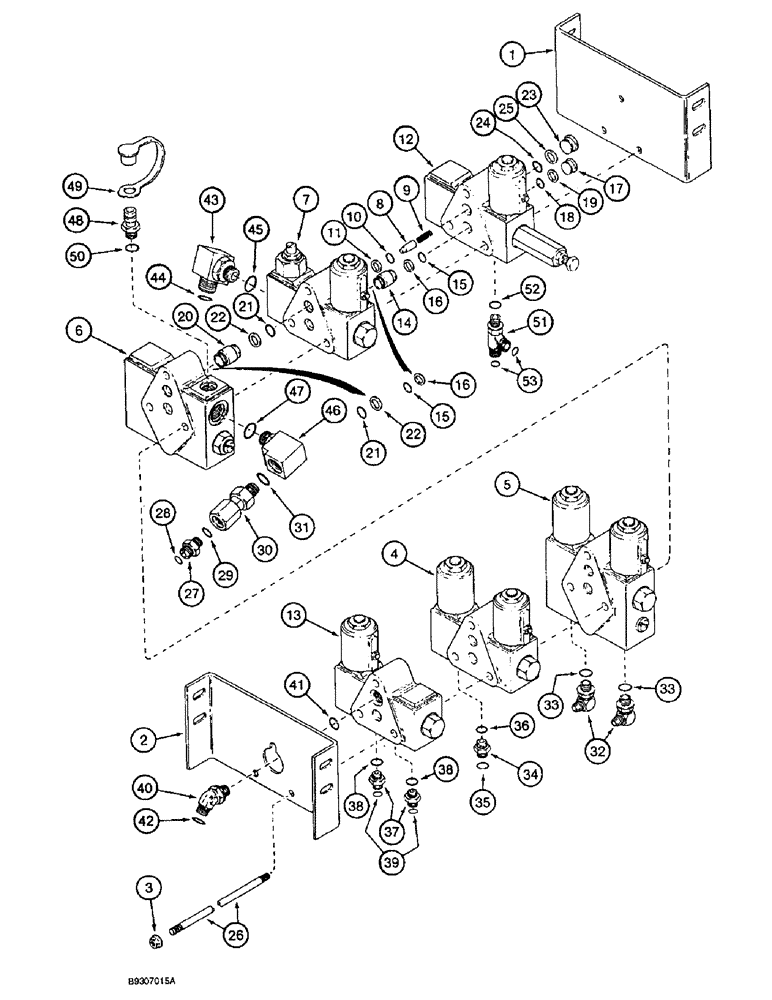
1

1541613C1

SUPPORT

BRACKET valve mounting, front

1шт.

2

1989370C2

SUPPORT

BRACKET valve mounting, rear

2шт.

3

231-5144

SERRATED NUT,Flg, USR, 1/4"-20

6шт.

4

107981A2

VALVE

ASSEMBLY unload/single bi-directional, reel lift, parts list Figure 8-34

1шт.

5

1267035C94

VALVE

ASSEMBLY double piloted unloader swing, parts list Figure 8-336, no longer available, order 124857A1, Serial Range: -JJC97859

1шт.

5

124857A1

VALVE

ASSEMBLY double piloted unloader swing, parts list Figure 8-37A, Start Serial: JJC97859

1шт.

6

1542678C1

VALVE

ASSEMBLY flow divider, parts list Figure 8-38

1шт.

7

1542679C2

VALVE

ASSEMBLY header lift, parts list Figure 8-40, Includes: Ref. 8 - 11

1шт.

8

107957A1

VALVE POPPET

raise check

1шт.

9

107959A1

SPRING

poppet

1шт.

10

238-6016

O-RING,0.07" Thk x 0.614" ID, -16, Cl 6, 90 Duro

2шт.

11

A34493

RING,16.33mm ID x 19.02mm OD x 1.25mm Thk

backup large tube O-ring

2шт.

12

1542680C3

VALVE

ASSEMBLY header lower, parts list Figure 8-42, Replaces 1542680C2

1шт.

13

1542681C1

VALVE

ASSEMBLY feeder clutch, parts list Figure 8-44

1шт.

14

1301630C2

TUBE,.344" ID, .5" OD, 15" Length

through small, Includes: Ref. 15 and 16

9шт.

15

238-6012

O-RING,0.07" Thk x 0.364" ID, -12, Cl 6, 90 Duro

2шт.

16

L31330

BACK-UP RING,109mm ID x 128.81mm OD x 12mm Thk

backup

2шт.

17

1301634C2

PLUG

cap small, Includes: Ref. 18 and 19

4шт.

18

238-6012

O-RING,0.07" Thk x 0.364" ID, -12, Cl 6, 90 Duro

1шт.

19

L31330

BACK-UP RING,109mm ID x 128.81mm OD x 12mm Thk

backup

1шт.

20

107984A1

PISTON

TUBE through large, includes seals, Includes: Ref. 21 and 22

1шт.

21

238-6016

O-RING,0.07" Thk x 0.614" ID, -16, Cl 6, 90 Duro

2шт.

22

A34493

RING,16.33mm ID x 19.02mm OD x 1.25mm Thk

backup

2шт.

23

107985A1

PISTON

PLUG cap large, includes seals, Includes: Ref. 24 and 25

1шт.

24

238-6016

O-RING,0.07" Thk x 0.614" ID, -16, Cl 6, 90 Duro

2шт.

25

A34493

RING,16.33mm ID x 19.02mm OD x 1.25mm Thk

backup, large tube O-ring

2шт.

26

106439A1

STEM

ROD tie, valve sections used on models without field tracker attachment

3шт.

REF

INSTRUCTION

VALVE ASSEMBLY control, Includes: Ref. 27 - 53

1шт.

27

201-104

HYD CONNECTOR,1-3/16" - 12 Male ORFS x 1-1/16" - 12 Male ORB

Includes Ref. 28 and 29

1шт.

28

237-6012

O-RING,0.116" Thk x 0.924" ID, -912, Cl 6, 90 Duro

1шт.

29

238-6018

O-RING,0.07" Thk x 0.739" ID, -18, Cl 6, 90 Duro

1шт.

30

1272346C1

FILTER

inline valve pressure, Includes: Ref. 31

1шт.

31

237-6012

O-RING,0.116" Thk x 0.924" ID, -912, Cl 6, 90 Duro

1шт.

32

218-5320

ELBOW,90 Degree, 7/16"-20, 37 Degree x 3/4"-16, O-Ring

90 degree, 7/16 - 20 flare x 3/4 - 16 inch adj O-ring boss, Includes: Ref. 33

2шт.

33

237-6008

O-RING,0.087" Thk x 0.644" ID, -908, Cl 6, 90 Duro

1шт.

34

201-125

HYD CONNECTOR,11/16"-16 ORFS x 7/16"-20 ORB

ADAPTER straight, 11/16 - 16 face seal x 7/16 - 20 inch O-ring boss, Includes: Ref. 35 and 36

1шт.

35

238-6012

O-RING,0.07" Thk x 0.364" ID, -12, Cl 6, 90 Duro

1шт.

36

237-6004

O-RING,0.072" Thk x 0.351" ID, -904, Cl 6, 90 Duro

1шт.

37

201-106

HYD CONNECTOR,11/16" - 16 Male ORFS x 3/4" - 16 Male ORB

ADAPTER straight, 11/16 - 16 face seal x 3/4 - 16 inch O-ring boss, Includes: Ref. 38 and 39

2шт.

38

237-6008

O-RING,0.087" Thk x 0.644" ID, -908, Cl 6, 90 Duro

1шт.

39

238-6012

O-RING,0.07" Thk x 0.364" ID, -12, Cl 6, 90 Duro

1шт.

40

201-321

ELBOW,45 Degree Elbow, 13/16" - 16 Male ORFS x 9/16" - 18 Male ORB

45 degree, 13/16 - 16 face seal x 9/16 - 18 inch adj O-ring boss, Includes: Ref. 41 and 42

1шт.

42

238-6014

O-RING,0.07" Thk x 0.489" ID, -14, Cl 6, 90 Duro

1шт.

43

201-350

ELBOW,90 Degree Elbow, 1-3/16" - 12 Male ORFS x 7/8" - 14 Male ORB

90 degree, 1-3/16 - 12 face seal x 7/8 - 14 inch adj O-ring boss, Includes: Ref. 44 and 45

1шт.

44

238-6018

O-RING,0.07" Thk x 0.739" ID, -18, Cl 6, 90 Duro

1шт.

45

237-6010

O-RING,0.097" Thk x 0.755" ID, -910, Cl 6, 90 Duro

1шт.

46

1989475C3

TEE

special, Includes: Ref. 47

1шт.

47

237-6010

O-RING,0.097" Thk x 0.755" ID, -910, Cl 6, 90 Duro

1шт.

48

1541849C1

COUPLING

ASSEMBLY diagnostic, Includes: Ref. 49 and 50

1шт.

49

H434163

DUST CAP

1шт.

51

201-412

TEE,13/16" - 16 ORFS x 13/16" - 16 ORFS x 3/4" - 16 ORB

13/16 - 16 face branch x face x 3/4 - 16 inch adj O-ring, Includes: Ref. 52 and 53

1шт.

52

237-6008

O-RING,0.087" Thk x 0.644" ID, -908, Cl 6, 90 Duro

1шт.

53

238-6014

O-RING,0.07" Thk x 0.489" ID, -14, Cl 6, 90 Duro

2шт.

41

237-6006

O-RING,0.078" Thk x 0.468" ID, -906, Cl 6, 90 Duro

1шт.

50

237-6006

O-RING,0.078" Thk x 0.468" ID, -906, Cl 6, 90 Duro

1шт.

Выбрано товаров: 57