Запчасти Case IH 1644 (9A-30) - FEEDER, LIFT BRACKET AND SUPPORTS (13) - FEEDER

Схема запчастей Case IH 1644 - (9A-30) - FEEDER, LIFT BRACKET AND SUPPORTS (13) - FEEDER
18
24
22
6
26
21
19
4
2
8
11
17
1
15
10
9
25
16
23
20
27
3
28
5
FIT
1:1
100%

Артикул

Название

Примечание

Количество

1

REF

INSTRUCTION

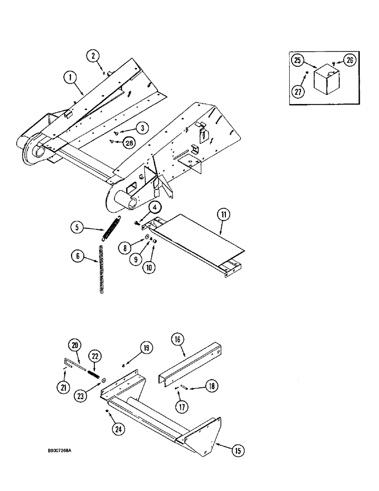
feeder, See Figure 9A-28 for correct assembly

1шт.

2

477-73816

SERRATED SCREW,Sl Truss Hd, 3/8" x 1"

Special

16шт.

3

434-824

CARRIAGE BOLT,Sht Sq Nk, 1/2" - 13 x 1 1/2", Gr 5

1/2 NC x 1-1/2 inch

1шт.

4

434-820

CARRIAGE BOLT,Sht Sq Nk, 1/2" - 13 x 1 1/4", Gr 5

BOLT carriage, 1/2 NC x 1-1/4 inch

4шт.

5

635503R1

SPRING,148.8mm Free Length

latch, lower door

2шт.

6

167570C1

CHAIN,203.2mm L

latch, lower door

2шт.

8

495-11053

WASHER,1/2", SAE

(17/32" x 1-1/16" x 3/32")

2шт.

9

80679

LOCK WASHER,1/20.507 CST ZND

4шт.

10

425-108

NUT,1/2" - 13, Gr 5

4шт.

11

1345329C1

SUPPORT

feeder housing reinforcement

1шт.

15

1541620C1

SUPPORT ASSY.

BRACKET lift support, includes decal, 47 inch feeder

1шт.

15

1541619C1

SUPPORT ASSY.

BRACKET lift support, includes decal 54-1/2 feeder

1шт.

16

197554C3

CHANNEL

lift cylinder lock

1шт.

17

586591R1

COTTER PIN

hair, 1/8 inch

1шт.

18

439-1652

HEADED PIN,9.53mm OD x 82.55mm L

3/8 x 3-1/4 inch, grade 2

1шт.

19

186852C1

FLANGE NUT,Hex, 1/2"-13, Lock

hex, self locking, special, 1/2 inch NC, grade 8

16шт.

20

197849C1

ROD

cylinder lift lock

1шт.

21

432-812

COTTER PIN,3/4" OAL x 1/8" W

2шт.

22

M296

SPRING

compression

1шт.

23

495-11034

WASHER,5/16", SAE

(flat, 11/32 x 11/16 x 1/16")

1шт.

24

231-5146

FLANGE NUT,3/8"-16

16шт.

25

1327992C2

GUARD

SHIELD, sensor, feeder

1шт.

26

256873

BOLT,Hex Serr, 5/16" - 18 x 1/2", 5SPL, Full Thd

2шт.

27

488837C1

SPRING NUT

speed, 5/16 inch NC

2шт.

28

415-820

CARRIAGE BOLT,Sht Sq Nk, 1/2" - 13 x 1 1/4", Gr 8

BOLT carriage, 1/2 NC x 1-1/4 inch, grade 8

16шт.

Выбрано товаров: 25