Запчасти Case IH 1644 (9D-12) - GRAIN ELEVATOR DRIVE (16) - GRAIN ELEVATORS & AUGERS

Схема запчастей Case IH 1644 - (9D-12) - GRAIN ELEVATOR DRIVE (16) - GRAIN ELEVATORS & AUGERS
50
48
5
54
43
3
1
41
8
32
54
45
5
11
28
55
9
15
31
49
33
13
54
52
14
42
55
2
39
26
46
28
13
6
18
53
8
7
6
21
47
12
29
23
15
8
25
51
27
22
24
8
55
41
10
57
7
4
41
40
14
4
19
50
FIT
1:1
100%

Артикул

Название

Примечание

Количество

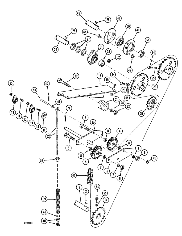
1

1321347C1

SHAFT

elevator drive

1шт.

2

581306R1

KEY,5/16" Sq x 1 1/4", Par

2шт.

3

192139C2

SPROCKET

drive, 25 teeth

2шт.

4

631905R91

SPROCKET

idler, 17 teeth

2шт.

5

413-1044

BOLT,Hex, 5/8" - 11 x 2-3/4", Gr 5

BOLT hex, 5/8 NC x 2-3/4 inch

2шт.

6

425-1010

NUT,5/8"-11, G5

2шт.

7

492-11062

BEARING WASHER,5/8"

2шт.

8

495-81175

WASHER,21/32" x 1" x .120"

flat, 21/32 x 1 x 7/64 inch

4шт.

9

432-1224

COTTER PIN,3/16" x 1-1/2"

1шт.

10

1345064C1

SUPPORT

idler sprocket pivot tightener

1шт.

11

495-81041

WASHER,25/32" x 1 1/2" x .060"

flat, 25/32 x 1-1/2 x 1/16 inch

1шт.

12

1345066C1

PLATE

tightener support

1шт.

13

A63366

SPHERICAL BEARING,19mm ID

pivot

2шт.

14

409-7512

BOLT,Hex Flg, 5/16" - 18 x 3/4", Spcl

4шт.

15

231-5145

SERRATED NUT,Flg, USR, 5/16"-18

4шт.

18

1317476C3

ANGLE BAR

STIFFENER block, replaces 1317476C2

1шт.

19

477-73108

SERRATED SCREW,Sl Truss Hd, 5/16" - 18 x 1/2"

slotted truss head, 5/16 NC x 1/2 inch

6шт.

20

231-5145

SERRATED NUT,Flg, USR, 5/16"-18

5шт.

21

582018R1

BLOCK

tightener

2шт.

22

413-1056

BOLT,Hex, 5/8" - 11 x 3-1/2", Gr 5

2шт.

23

232-41110

NUT,5/8"-11, GC

2шт.

24

495-81175

WASHER,21/32" x 1" x .120"

flat, 21/32 x 1 x 7/64 inch

2шт.

25

1319759C1

DRIVE SPROCKET

idler

1шт.

26

1317429C1

SHAFT

Headshaft sprocket, elevator head

1шт.

27

495-81202

WASHER,1 9/32" x 1 3/4" x .060"

flat, 1-9/32 x 1-3/4 x 1/16 inch

6шт.

28

126-125

WOODRUFF KEY,#B, 5/16" x 1", HT

2шт.

29

1317412C1

SPROCKET

headshaft, 32 teeth

2шт.

31

1317250C91

FLANGED BEARING,31.75mm ID

headshaft

1шт.

32

231-5146

FLANGE NUT,3/8"-16

4шт.

33

557995R11

COLLAR

bearing, with set screw

2шт.

39

523677R1

SPRING

tightener

1шт.

40

425-106

NUT,3/8"-16, Cl 5

2шт.

41

495-71041

WASHER,10.31mm ID x 31.75mm OD x 2.54mm Thk

flat, 13/32 x 1-1/4 x 3/32 inch

4шт.

42

432-612

COTTER PIN,3/32" x 3/4"

1шт.

43

1321308C91

CHAIN (AG)

drive, 165 inch long, use 259 links of 1791D bulk chain, (3) 241-1315 connecting links and (2) 241-1115 roller links

1шт.

45

1318912C3

AUGER

delivery, horizontal

1шт.

46

670375R11

FLANGE

FLANGE bearing

1шт.

47

939461R1

FLANGE

bearing

1шт.

48

477-73812

SERRATED SCREW,Truss HD, 3/8" - 16 x 3/4"

slotted truss head, special, 3/8 NC x 3/4 inch

3шт.

49

231-5146

FLANGE NUT,3/8"-16

3шт.

50

156011C92

BALL BEARING

ball auger

1шт.

51

557995R11

COLLAR

bearing, with set screw

1шт.

52

1345005C1

BOLT,3/8" - 16 x 815mm

BOLT, EYE ROD chain tightener

1шт.

53

427-6240

CLEVIS PIN,9.53mm OD x 61.11mm L

clevis, 3/8 x 2-13/32 inch, hardened

1шт.

54

385-13820

SET SCREW,3/8" - 16 x 1-1/4"

set, square head, 3/8 NC x 1-1/4 inch, cup point

4шт.

55

425-146

JAM NUT,3/8" - 16, Gr 5

4шт.

57

S113843

BUSHING,9.65mm ID x 15.75mm OD x 15.75mm L

elevator drive

1шт.

Выбрано товаров: 47