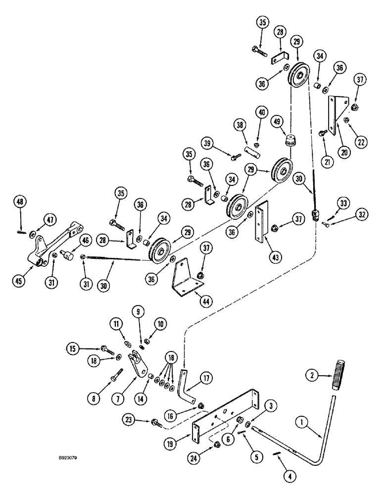
Запчасти Case IH 1644 (9E-08) - UNLOADER, CLUTCH CONTROL (17) - GRAIN TANK & UNLOADER

Схема запчастей Case IH 1644 - (9E-08) - UNLOADER, CLUTCH CONTROL (17) - GRAIN TANK & UNLOADER
48
32
20
29
38
7
19
30
14
29
36
8
38
35
16
28
17
22
31
39
34
35
36
15
36
23
40
21
5
31
37
37
18
34
10
47
35
36
34
29
37
24
43
18
44
46
1
9
28
3
36
33
4
30
45
28
11
2
6
49
FIT
1:1
100%

Артикул

Название

Примечание

Количество

1

193196C1

ROD

LEVER control unloader

1шт.

2

193194C2

HANDLE

GRIP lever handle control

1шт.

3

495-81177

WASHER,21/32" x 1" x .030"

flat, 21/32 x 1 x 1/32 inch

2шт.

4

438-11220

LOCK PIN,3/16" x 1 1/4", Slotted

1шт.

5

432-1216

COTTER PIN,3/16" x 1"

1шт.

6

193201C1

BUSHING

control lever

2шт.

7

161650C2

ARM

control

1шт.

8

326-628

BOLT,Hex, 3/8" - 16 x 1-3/4", Gr 8

hex, 3/8 NC x 1-3/4 inch, grade 8

1шт.

9

492-11038

LOCK WASHER,3/8"

1шт.

10

329-106

NUT,3/8"-16, G8

1шт.

11

18465D

WASHER

control arm

1шт.

14

561277R1

SPACER,5/8" Tube x 1/2"

13/32 x 5/8 x 7/16 nch

1шт.

15

326-628

BOLT,Hex, 3/8" - 16 x 1-3/4", Gr 8

hex, 3/8 NC x 1-3/4 inch, grade 8

1шт.

16

231-5146

FLANGE NUT,3/8"-16

1шт.

17

195549C1

LINK

SUPPORT control

1шт.

18

396-31041

WASHER,10.31mm ID x 20.63mm OD x 3.4mm Thk

5шт.

19

195050C2

CHANNEL

SUPPORT control lever

1шт.

20

195551C1

SUPPORT

pulley

1шт.

21

409-7512

BOLT,Hex Flg, 5/16" - 18 x 3/4", Spcl

10шт.

22

231-5145

SERRATED NUT,Flg, USR, 5/16"-18

10шт.

23

409-7620

BOLT,Hex Flg, 3/8" - 16 x 1 1/4", Spcl

2шт.

24

231-5146

FLANGE NUT,3/8"-16

2шт.

28

193209C1

CLIP

BRACKET control cable pulley

3шт.

29

193208C1

PULLEY

control cable

4шт.

30

195550C2

CABLE

unloader control

1шт.

31

425-105

NUT,5/16"-18, G5

2шт.

32

24660R1

CLEVIS PIN,5/16" x .719"

clevis, 5/16 x 23/32 inch

1шт.

33

432-612

COTTER PIN,3/32" x 3/4"

1шт.

34

159716C1

SPACER,3/4" Tube x 5/8"

tubular, 17/32 x 3/4 x 9/16 inch

3шт.

35

413-828

BOLT,Hex, 1/2" - 13 x 1-3/4", Gr 5

3шт.

36

496-21053

WASHER,17/32" x 1 1/16" x .134"

Hardened

6шт.

37

231-5148

FLANGE NUT,Flg, USR, 1/2"-13

3шт.

38

195553C1

PIN

cable pulley

1шт.

39

535789R1

BOLT,Hex Serr, 5/16" - 18 x 1 1/4"

BOLT hex flange, 5/16 NC x 1-1/4 inch

2шт.

40

231-5145

SERRATED NUT,Flg, USR, 5/16"-18

2шт.

43

193207C1

ANGLE

BRACKET cable guide

1шт.

44

193795C1

SUPPORT

rear pulley

1шт.

45

185059C93

LEVER ASSY.

ARM, belt tightener, parts list Figure 9E-12, Ref. 46

1шт.

46

194893C1

PIVOT

control cable, rear

1шт.

47

495-11053

WASHER,1/2", SAE

(17/32" x 1-1/16" x 3/32")

1шт.

48

432-1216

COTTER PIN,3/16" x 1"

1шт.

49

198821C1

GROMMET,3.18mm ID x 41.1mm OD x 26.9mm Thk

1/8 inch ID unloader cable

1шт.

Выбрано товаров: 0