Запчасти Case IH 1644 (9E-28) - UNLOADER, SWING CYLINDER SUPPORTS (17) - GRAIN TANK & UNLOADER

Схема запчастей Case IH 1644 - (9E-28) - UNLOADER, SWING CYLINDER SUPPORTS (17) - GRAIN TANK & UNLOADER
15
19
12
27
13
17
22
4
16
2
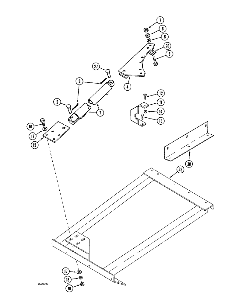
1
5
14
11
8
7
6
26
30
3
18
17
FIT
1:1
100%

Артикул

Название

Примечание

Количество

1

REF

INSTRUCTION

CYLINDER ASSEMBLY, unloader swing, parts list Figure 8-70

1шт.

2

28196R1

SPLIT PIN/SAFETY PIN

clevis, 5/8 x 2-1/4 inch

1шт.

3

432-816

COTTER PIN,1/8" x 1"

2шт.

4

1321541C1

SUPPORT

cylinder unloader, replaced by 1321541C2 Ref. 4A

1шт.

4a

1321541C2

SUPPORT

cylinder not shown, replaces 1321541C1 Ref. 4

1шт.

5

426-732

BOLT,Hex, 7/16" - 14 x 2", Gr 8

BOLT hex, 7/16 NC x 2 inch, grade 8

6шт.

6

492-11044

LOCK WASHER,7/16"

6шт.

7

429-107

NUT,7/16"-14, G8

6шт.

8

329-147

JAM NUT,Jam, 7/16"-14, G8

6шт.

11

1321509C2

SUPPORT

upper rear

1шт.

12

179464C1

SERRATED SCREW,Sl Truss Hd, 3/8" - 16 x 1 1/4"

slotted truss head, special, 3/8 NC x 1-1/4 inch

1шт.

13

154273C1

BOLT,Hex Serr, 3/8" - 16 x 1", Spcl

BOLT hex, self locking, special, 3/8 NC x 1 inch

2шт.

14

231-5146

FLANGE NUT,3/8"-16

3шт.

15

1321508C1

PLATE

cylinder anchor

1шт.

16

413-832

BOLT,Hex, 1/2" - 13 x 2", Gr 5

4шт.

17

496-21053

WASHER,17/32" x 1 1/16" x .134"

Hardened

8шт.

18

80679

LOCK WASHER,1/20.507 CST ZND

4шт.

19

425-108

NUT,1/2" - 13, Gr 5

4шт.

22

1338388C1

SUPPORT

unloader cylinder swing, parts list Figure 9E-20, Ref. 40

1шт.

27

28196R1

SPLIT PIN/SAFETY PIN

clevis, 5/8 x 2-1/4 inch

1шт.

28

151670C1

SHIM

SHIM, 0.036 inch

1шт.

30

1338393C2

ANGLE

SUPPORT vertical auger parts list Figure 9E-20, Ref. 37

1шт.

Выбрано товаров: 22