Запчасти Case IH 1644 (7-06) - MASTER BRAKE CYLINDERS AND RESERVOIR, CONNECTIONS AND (5.1) - BRAKES

Схема запчастей Case IH 1644 - (7-06) - MASTER BRAKE CYLINDERS AND RESERVOIR, CONNECTIONS AND (5.1) - BRAKES
27
2
14
29
16
24
15
19
17
26
7
26
27
2
8
13
20
18
27
18
23
25
5
28
11
20
27
12
10
25
1
19
2
29
6
25
3
4
5
FIT
1:1
100%

Артикул

Название

Примечание

Количество

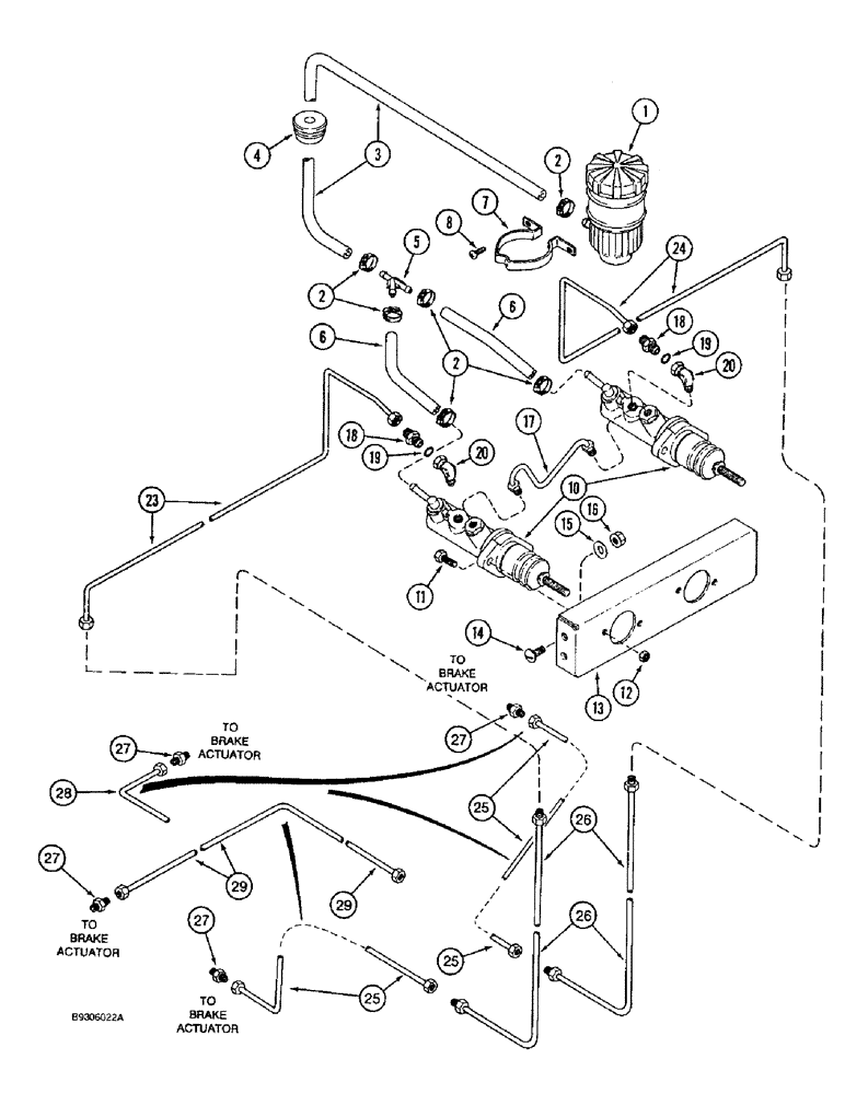
1

1281890C2

RESERVOIR

brake fluid

1шт.

2

214-1704

HOSE CLAMP,#04, 0.25" - 0.62", Type M Worm

Adjustable

6шт.

3

1281889C1

HYDRAULIC HOSE,6.35 mm ID x 610.00 mm

Return

1шт.

4

198824C1

GROMMET,12.7mm ID x 41.1mm OD x 26.9mm Thk

rubber 1/2 inch ID light harness, left hand

1шт.

5

1285312C1

TEE

FITTING stem, Y-type

1шт.

6

1281888C1

HYDRAULIC HOSE,6.35 mm ID x 150.00 mm

2шт.

7

1281891C1

CLAMP

reservoir mounting brake fluid

1шт.

8

260-1458

SELF-TAP SCREW,Cross Pan Hd, #10 x 1/2"

2шт.

10

REF

INSTRUCTION

CYLINDER master, parts list Figure 7-8

2шт.

11

409-7516

BOLT,Hex Flg, 5/16" - 18 x 1", Spcl

4шт.

12

231-5145

SERRATED NUT,Flg, USR, 5/16"-18

4шт.

13

1327561C2

SUPPORT

master brake cylinder

1шт.

14

477-73812

SERRATED SCREW,Truss HD, 3/8" - 16 x 3/4"

slotted truss head, special, 3/8 NC x 3/4 inch

3шт.

14

179464C1

SERRATED SCREW,Sl Truss Hd, 3/8" - 16 x 1 1/4"

slotted truss head, special, 3/8 NC x 1-1/4 inch

1шт.

15

495-11041

WASHER,0.406" ID x 0.812" OD x 0.065" W

Flat, (13/32 x 13/16 x 1/16")

1шт.

16

231-5146

FLANGE NUT,3/8"-16

5шт.

17

1281885C1

PIPE

TUBE equalizer

1шт.

18

1546436C1

FITTING

ADAPTER straight, 7/16 - 20 inch flare x O-ring boss, purchase O-ring separately

2шт.

19

237-3004

O-RING,0.351" ID x 0.072" Width

2шт.

20

218-5228

ELBOW,90 Degree, 7/16"-20, 37 Degree x 7/16"-20, 37 Degree Fem Sw

ELBOW 90 degree, 7/16 - 20 inch flare x swivel

2шт.

23

1321476C2

HYD TUBE

TUBE brake, upper right hand

1шт.

24

1321475C2

HYD TUBE

TUBE brake, upper left hand

1шт.

25

1321512C1

HYD TUBE,0.25" OD, 360, 65 mm Length

TUBE brake, lower, Serial Range: -JJC0098060

2шт.

26

1321511C2

HYD TUBE

TUBE brake, center

2шт.

27

218-441

HYD CONNECTOR,7/16" - 20 Male JIC x 1/8" - 27 Male NPTF

straight, 7/16 - 20 inch flare x 1/8 inch PT

2шт.

28

1321514C1

HYD TUBE,0.25" OD, 435, 70 mm Length

TUBE brake, lower, right hand, Start Serial: JJC0098060

1шт.

29

1321513C1

HYD TUBE,0.25" OD, 450, 435 mm Length

TUBE brake, lower, left hand, Start Serial: JJC0098060

1шт.

Выбрано товаров: 27