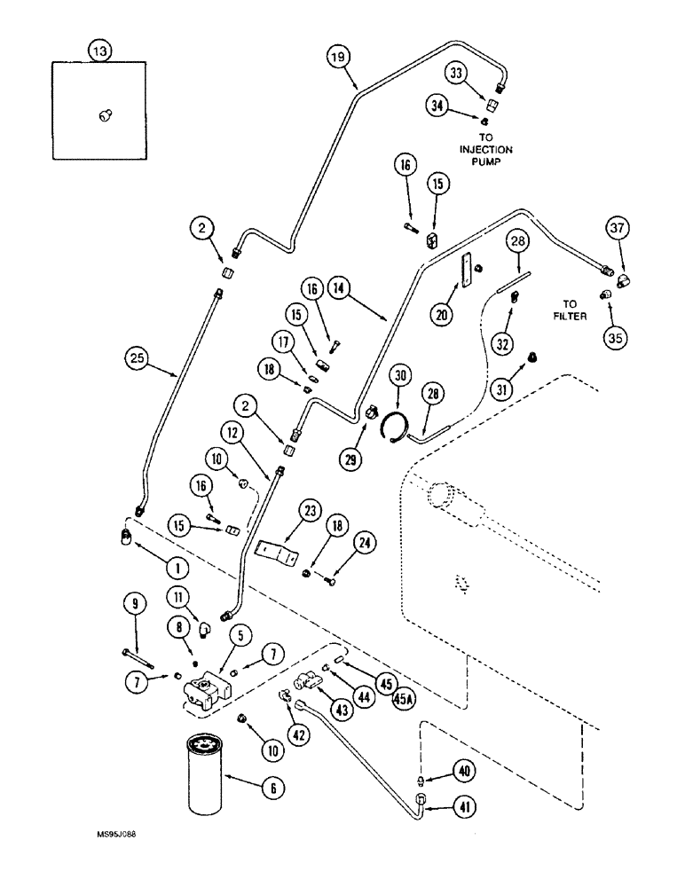
Запчасти Case IH 1644 (3-10) - FUEL LINES AND FILTER SYSTEM, PRIOR TO P.I.N. JJC0098060 (02) - FUEL SYSTEM

Схема запчастей Case IH 1644 - (3-10) - FUEL LINES AND FILTER SYSTEM, PRIOR TO P.I.N. JJC0098060 (02) - FUEL SYSTEM
20
28
19
10
18
7
7
45a
24
16
25
10
33
5
16
14
15
23
15
12
41
35
42
29
28
32
34
43
9
2
6
18
15
8
31
16
1
37
45
2
44
40
11
30
13
17
FIT
1:1
100%

Артикул

Название

Примечание

Количество

1

144535R1

ELBOW

90 degree, special 3/8 inch inverted flare lower fuel return tube

1шт.

2

222-1055

HYD CONNECTOR,3/8" Inv Fl

COUPLING 5/8 - 18 inch inverted flare

2шт.

5

612277C2

FILTER HEAD

fuel filter

1шт.

6

A184776

FUEL FILTER

1шт.

7

221-841

PLUG

hex socket 1/4 inch PT

2шт.

8

444614

PLUG,Hex Hd, 1/8"-27, Brass

hex 1/8 inch PT

1шт.

9

424-564

BOLT,Hex, 5/16" - 18 x 4", Gr 2

BOLT hex 5/16 NC x 4 inch, grade 2

2шт.

10

231-5145

SERRATED NUT,Flg, USR, 5/16"-18

3шт.

11

222-1026

ELBOW,90 Degree, 5/8"-18 Inv Fl x 1/4" NPT

1шт.

12

1315506C1

FUEL TUBE

fuel supply, lower

1шт.

13

222-1016

HYD CONNECTOR,5/8"-18 Inv Fl x 1/4" NPT

1шт.

14

1980042C1

FUEL TUBE

fuel supply, upper

1шт.

15

183825C1

CLAMP

fuel tube

3шт.

17

495-81121

WASHER,.344" x 1 1/2" x .060"

flat, 11/32 x 1-1/2 x 1/16 inch

1шт.

18

231-5144

SERRATED NUT,Flg, USR, 1/4"-20

3шт.

19

1330565C1

FUEL TUBE

fuel return, upper

1шт.

20

1330564C1

PLATE

SUPPORT fuel tube

1шт.

23

196517C1

SUPPORT TUBE

fuel tube, lower

1шт.

24

161945C1

SERRATED SCREW,Sl Truss Hd, 5/16" - 18 x 1"

slotted truss head 5/16 NC x 1 inch

1шт.

25

183653C2

FUEL TUBE

fuel return, lower

1шт.

28

1251794C1

FUEL TUBE,2946.40 mm, SAE J844C

Fuel Tank Vent, Cut From Bulk Tube, See this Figure

1шт.

29

214-1704

HOSE CLAMP,#04, 0.25" - 0.62", Type M Worm

Adjustable

1шт.

30

L18337

CABLE TIE,9.95"-12.1" lg

CABLE STRAP tie retaining

1шт.

31

195803C1

GROMMET

3/8 inch

1шт.

32

362120R1

CLAMP,9.53mm ID, 10.32mm Bolt Hole, P Type

CLAMP P-type retaining

3шт.

33

442330

FITTING

CONNECTOR 1/4 inch PT

1шт.

34

217-40

REDUCER,1/4"-18 NPTF x 1/8"-27 Fem NPTF

1шт.

35

1330561C1

FITTING

ADAPTER special

1шт.

37

222-1026

ELBOW,90 Degree, 5/8"-18 Inv Fl x 1/4" NPT

1шт.

40

218-444

HYD CONNECTOR,3/4" - 16 Male JIC x 3/8" - 18 Male NPTF

straight 3/4 - 16 flare x 3/8 inch PT

1шт.

41

1994884C1

FUEL TUBE

fuel filter, Serial Range: base-tank

1шт.

42

218-493

ELBOW,90 Degree Elbow, 3/4" - 16 Male JIC x 1/2" - 14 Male NPTF

ELBOW 90 degree 3/4 - 16 flare x 1/2 inch PT

1шт.

43

1345205C1

SHUT-OFF VALVE

fuel shut off

1шт.

44

221-88

REDUCER,Hex, 1/2" x 1/4" NPT

REDUCER pipe 1/2 male x 1/4 inch female

1шт.

45

217-195

FITTING,1/4" - 18 Male NPTF x 1/4" - 18 Male NPTF

NIPPLE straight 1/4 PT x 1-3/8 inch brass, if used

1шт.

45a

217-1080

HYD CONNECTOR,1/4" - 18 NPT x 1/4" - 18 NPT

(NIPPLE - Hex) x 1-7/16" lg., steel, if used

1шт.

74813C1

TUBE,7.09mm ID x 15240mm L

bulk 3/8 (9.5) OD x 600 inch (15240 mm) long, see Ref. 28

1шт.

16

413-420

BOLT,Hex, 1/4" - 20 x 1-1/4", Gr 5

3шт.

Выбрано товаров: 38