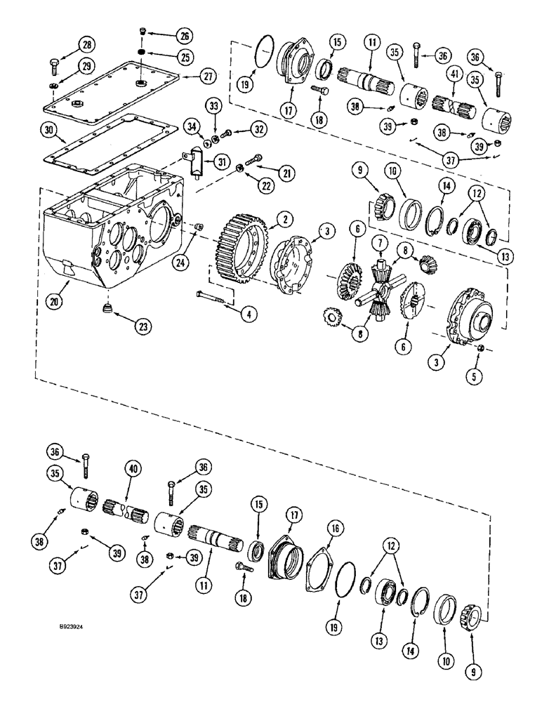
Запчасти Case IH 1644 (6-36) - TRANSMISSION DIFFERENTIAL SHAFT, PRIOR TO P.I.N. JJC0098060 (03) - POWER TRAIN

Схема запчастей Case IH 1644 - (6-36) - TRANSMISSION DIFFERENTIAL SHAFT, PRIOR TO P.I.N. JJC0098060 (03) - POWER TRAIN
18
13
17
11
8
7
9
9
30
35
33
38
39
19
41
25
10
38
35
31
32
22
4
39
27
8
37
6
13
3
36
12
37
35
15
36
36
24
2
12
14
15
28
39
5
37
21
38
26
40
38
17
36
23
16
19
11
10
14
6
34
18
20
3
39
35
29
FIT
1:1
100%

Артикул

Название

Примечание

Количество

1968234C1

DIFFERENTIAL

ASSY., transmission, Includes: Ref. 2 - 10

1шт.

395631R92

PACKAGE

KIT, differential case, Includes: Ref. 2 - 5

1шт.

2

NSS

NOT SOLD SEPARAT

GEAR, differential driven, 53 teeth

1шт.

3

NSS

NOT SOLD SEPARAT

CASE differential

2шт.

4

395636R2

BOLT,1/2" - 20 x 3.87"

differential case

8шт.

5

29-218

NUT,1/2"-20, G8, Hvy

hex, 1/2 in. NF, grade 8

8шт.

6

360962R2

GEAR

differential bevel, 28 teeth

2шт.

7

388092R1

GEAR

SPIDER differential

1шт.

8

360961R1

GEAR

differential spider, 15 teeth

4шт.

9

ST2039

BEARING CONE,68.26mm ID x 22.07mm W

tapered roller, differential, 2-11/16 in. ID

2шт.

10

29214H

BEARING CUP,110mm OD x 18.82mm W

tapered roller, differential, 4-5/16 in. OD

2шт.

11

533848R3

SHAFT

differential

2шт.

12

101-11177

SNAP RING,#177, 1.657", Ext

RING retaining, external, No. 177, 1.657 in.

4шт.

13

ST560

BEARING, BALL,45 mm ID x 75 mm OD x 16 mm

differential cage

2шт.

14

379485R1

RING

snap, differential bearing

2шт.

15

380182R91

OIL SEAL,42.42mm ID x 62.05mm OD x 8.41mm Thk

oil, differential cage

2шт.

16

573976R1

DISC

SHIM cage, 0.003 in. thick

1шт.

16

573977R1

SHIM

cage, 0.005 in. thick

1шт.

16

573978R1

SHIM

cage, 0.010 in. thick

1шт.

17

379445R1

BEARING ASSY,61.9 mm ID x 76.2 mm

bearing

2шт.

18

326-618

BOLT,Hex, 3/8" - 16 x 1-1/8", Gr 8

10шт.

19

238-5247

O-RING,0.139" Thk x 4.609" ID, -247, Cl 5, 75 Duro

2шт.

20

184079C1

CASE

HOUSING transmission

1шт.

21

426-824

BOLT,Hex, 1/2" - 13 x 1-1/2", Gr 8

4шт.

22

80679

LOCK WASHER,1/20.507 CST ZND

4шт.

23

221-887

PLUG

square socket, 3/8 in. PT

1шт.

24

444595

DRAIN PLUG,Sq Hd, 1/4"-14 NPTF

square head, 3/4 in. PT

1шт.

26

219-436

BREATHER,3/8" - 18 NPT, Short, W/ Washer

straight, 3/8 PT x 1-1/2 in.

1шт.

27

184074C2

COVER

transmission housing

1шт.

28

413-612

BOLT,Hex, 3/8" - 16 x 3/4", Gr 5

15шт.

29

93-41039

LOCK WASHER,Ext Tooth, 3/8"

15шт.

30

573998R2

GASKET

cover, transmission case

1шт.

31

402838R1

TROUGH

oil

1шт.

32

470-12510

SCREW,Slotted Pan Hd, 1/4"-20 x 5/8"

machine, pan head slotted, 1/4 NC x 5/8 in.

1шт.

33

492-11025

LOCK WASHER,1/4"

1шт.

34

495-81252

WASHER,#12

(Flat, 1/4" x 9/16" x 1/16")

1шт.

35

184342C1

COUPLING

axle shaft

4шт.

36

27652R1

BOLT,Hex, 3/8" - 16 x 3", Gr 8

hex, drilled, 3/8 NC x 3 in., grade 8

4шт.

37

21864R1

COTTER PIN

retaining, S style

4шт.

38

219-14

LUBE NIPPLE,1/4" NPTF

Straight

4шт.

39

654049R1

LOCK NUT

hex, self locking, 3/8 in. NC

4шт.

40

184183C1

SHAFT

final drive, left hand shaft length is 504.70 mm

1шт.

41

184184C1

SHAFT

final drive, right hand

1шт.

Выбрано товаров: 43