Запчасти Case IH 1660 (240) - AIR CLEANER AND STACK, BEFORE S/N 8368001 (10) - ENGINE

Схема запчастей Case IH 1660 - (240) - AIR CLEANER AND STACK, BEFORE S/N 8368001 (10) - ENGINE
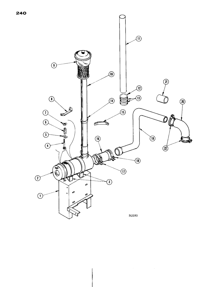
3
9
1
20
21
7
4
2
8
14
18
22
19
11
10
12
5
17
15
16
6
13
FIT
1:1
100%

Артикул

Название

Примечание

Количество

1

F87563

SUPPORT - air cleaner

1шт.

14-512

BOLT,Hex, 5/16" - 24 x 3/4", Gr 5, Full Thd

2шт.

25-115

NUT,5/16"-24, G5

- 5/16" NF hex

2шт.

92-5

LOCK WASHER,5/16"

2шт.

2

D36261

CLEANER

AIR CLEANER - dry type

1шт.

3

F87564

BAND - mounting, air cleaner

2шт.

14-510

SCREW,Hex, 5/16" - 24 x 5/8", Gr 5, Full Thd

BOLT, Hex, 5/16"-24 x 5/8", G5, Full Thd

4шт.

25-115

NUT,5/16"-24, G5

- 5/16" NF hex

4шт.

92-5

LOCK WASHER,5/16"

4шт.

4

111-225

CARRIAGE BOLT,Short NK, 5/16"-18 x 2 1/2", G2

BOLT - 5/16" x 2-1/2" rhd. sq. nk.

2шт.

192-20

LOCK WASHER,Helical Spring, 0.318" ID, CST, ZND

WASHER, LOCK, 5/16"

2шт.

5

F13866

FLANGE - for Ref. 4

2шт.

6

VT3613

SPACER - for Ref. 4

2шт.

7

129-419

WING NUT,5/16"-18

- 5/16" N.C., for Ref. 4

2шт.

8

F14035

BRACE - L.H. air stack

1шт.

14-512

BOLT,Hex, 5/16" - 24 x 3/4", Gr 5, Full Thd

1шт.

25-115

NUT,5/16"-24, G5

- 5/16" NF hex

1шт.

92-5

LOCK WASHER,5/16"

1шт.

9

F87566

PRE-SCREENER

1шт.

10

F13865

AIR STACK - (Includes sleeve, stack and clamp) Before #8334601

1шт.

11

F14916

MUFFLER

STACK - air (#83346601 and after)

1шт.

12

A23802

HOSE

- (cleaner to air stack) #8334601 and after

1шт.

13

214-39

X

CLAMP - hose (for Ref. 12)

2шт.

14

F87652

CLAMP - air stack (Includes bolt and nut)

1шт.

129-419

WING NUT,5/16"-18

- 5/16" N.C. (for bolt of F87652)

1шт.

25-145

JAM NUT,Jam, 5/16"-18, G5

- 5/16" N.C. hex. jam

1шт.

15

F14034

BRACE - R.H. air stack

1шт.

14-512

BOLT,Hex, 5/16" - 24 x 3/4", Gr 5, Full Thd

1шт.

25-115

NUT,5/16"-24, G5

- 5/16" NF hex

1шт.

92-5

LOCK WASHER,5/16"

1шт.

16

A23802

HOSE

-, Serial Range: cleaner-tube

1шт.

17

F87561

CLAMP - hose (Includes spacer, screw and nut)

1шт.

18

214-39

X

CLAMP - hose, #20 American

1шт.

19

F13852

TUBE - air cleaner

1шт.

20

F13851

ELBOW - tube to carburetor (Gas)

1шт.

21

F13924

HOSE - air cleaner, Ref. 19 to F1986 (L.P.)

1шт.

22

214-262

HOSE CLAMP,#44, 2.31" - 3.25", Type F Worm

CLAMP - hose (for Ref. 20)

2шт.

214-35

CLAMP

- hose (for Ref. 21)

2шт.

Выбрано товаров: 38