Запчасти Case IH 1660 (194) - HYDRAULIC PUMP DRIVE (35) - HYDRAULIC SYSTEMS

Схема запчастей Case IH 1660 - (194) - HYDRAULIC PUMP DRIVE (35) - HYDRAULIC SYSTEMS
5
3
4
8
6
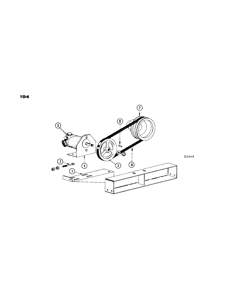
1
2
7
FIT
1:1
100%

Артикул

Название

Примечание

Количество

1

F87574

MOUNTING - right, engine and pump (Before #8334601)

1шт.

F88388

MOUNTING - right (#8334601 and after) See P. 237, Ref. 16

1шт.

2

F9348

BOLT - adjustment

1шт.

131-6

LOCK NUT,3/8"-16, GC

NUT - 3/8" N.C. Esna #29NE-066

1шт.

3

F86819

PUMP - hydraulic

1шт.

14-720

BOLT,Hex, 7/16" - 20 x 1-1/4", Gr 5, Full Thd

- 7/16" x 1-1/4" N.F. hex.

2шт.

25-117

NUT,7/16"-20, G5

- 7/16" N.F. hex.

2шт.

92-7

LOCK WASHER,7/16"

2шт.

4

F79196

SUPPORT - hydraulic pump

1шт.

11-616

CARRIAGE BOLT,Short NK, 3/8"-16 x 1", G2

BOLT, CARRIAGE, Short NK, 3/8"-16 x 1", G2

3шт.

13-620

BOLT,Hex, 3/8" - 16 x 1-1/4", Gr 5, Full Thd

1шт.

195-25

WASHER,3/8"

- SAE std. flat 3/8"

4шт.

25-106

NUT,3/8"-16, G5

- 3/8" N.C. hex.

4шт.

5

F1256

SHEAVE - (7-7/16" O.D. - 3 spokes) hydraulic pump drive, driven

1шт.

195-33

WASHER,1/2"

- SAE std. flat 1/2"

1шт.

131-9

LOCK NUT,Prev Torque, Hex, 1/2" - 20, Gr B

STOP NUT - 1/2" - 20 N.F. #29E080

1шт.

6

F9856

KEY

- for F1256 sheave

1шт.

7

F88702

SHEAVE - (balanced) triple, drives fan, hydraulic pump and governor. (Replaces F1985)

1шт.

O2553CS

WASHER

2шт.

O2799CS

WASHER

2шт.

73-416

BOLT (MACHINE),Flat, 1/4"

SCREW - 1/4" x 1" N.C. hex. mach.

1шт.

73-412

SCREW,Slotted Flat Hd, 1/4"-20 x 3/4"

- 1/4" x 3/4" N.C. hex. mach.

1шт.

25-104

NUT,1/4"-20, G5

and LW (92-4) 1/4"-20, G5

1шт.

8

F8047

BELT

Hydraulic Pump Drive

1шт.

Выбрано товаров: 24