Запчасти Case IH 1660 (198) - CONTROL VALVE (35) - HYDRAULIC SYSTEMS

Схема запчастей Case IH 1660 - (198) - CONTROL VALVE (35) - HYDRAULIC SYSTEMS
11
30
8
16
12
21
5
24b
13
10
4
1
2
24
17
24
13
25
13
34
35
26
28
22
27
7
35
23b
31
19
33
36
33
23
15
23
34
9
32
14
3
20
18
36
29
6
9
FIT
1:1
100%

Артикул

Название

Примечание

Количество

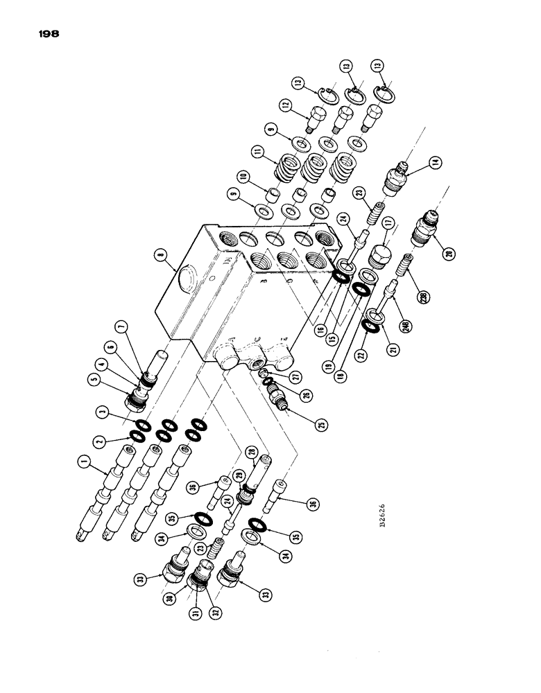
F88156

CONTROL VALVE

1шт.

1

NSS

NOT SOLD SEPARAT

SPOOL

3шт.

2

NSS

NOT SOLD SEPARAT

"O" RING - 3/32" x 5/8" I.D.

3шт.

3

NSS

NOT SOLD SEPARAT

"O" RING - 1/8" x 5/8" I.D.

3шт.

4

F88054

VALVE

- relief (2000 PSI)

1шт.

5

NSS

NOT SOLD SEPARAT

"O" RING - 3/32" x 3/4" I.D.

1шт.

6

NSS

NOT SOLD SEPARAT

WASHER - backup (rubber) 3/32" x 5/8" I.D.

1шт.

7

NSS

NOT SOLD SEPARAT

"O" RING - 3/32" x 5/8" I.D.

1шт.

8

NSS

NOT SOLD SEPARAT

BODY

1шт.

9

F8235

WASHER

- 59/64" O.D. special

6шт.

10

FH732420

X

SPACER - spool

3шт.

11

F14091

VALVE SPRING

SPRING - spool, center (Replaces F59822)

3шт.

12

FH734020

X

SCREW - spool

3шт.

13

FH732719

SNAP RING

- 15/16" internal, truarc

3шт.

14

F87759

ADAPTOR - port assembly (see F87753)

1шт.

15

NSS

NOT SOLD SEPARAT

WASHER - backup, 3/32" x 3/4" I.D.

1шт.

16

NSS

NOT SOLD SEPARAT

"O" RING - 3/32" x 3/4" I.D.

1шт.

17

FH733915

PLUG ASSEMBY

1шт.

18

NSS

NOT SOLD SEPARAT

WASHER - backup, 3/32" x 3/4" I.D.

1шт.

19

NSS

NOT SOLD SEPARAT

"O" RING - 3/32" x 3/4" I.D.

1шт.

20

F87758

ADAPTOR - port assembly

1шт.

21

NSS

NOT SOLD SEPARAT

WASHER - backup, 3/32" x 3/4" I.D.

1шт.

22

NSS

NOT SOLD SEPARAT

"O" RING - 3/32" x 3/4" I.D.

1шт.

23

F8228

SPRING

2шт.

23b

FH733931

SPRING

1шт.

24

NSS

NOT SOLD SEPARAT

POPPET ASSEMBLY

2шт.

24b

F88777

PLUNGER

POPPET ASSEMBLY

1шт.

25

NSS

NOT SOLD SEPARAT

CONNECTOR - short, 9/16" - 18 thread

1шт.

26

NSS

NOT SOLD SEPARAT

"O" RING - 3/32" x 9/16" I.D.

1шт.

27

F14095

ORIFICE - two-way, .089 and .024

1шт.

28

F8229

PLUNGER

- lockout

1шт.

29

FH731729

SEAT ASSEMBLY - (Includes "O" Ring)

1шт.

30

FH731703

PLUG ASSEMBLY - lockout

1шт.

31

NSS

NOT SOLD SEPARAT

WASHER - backup, 3/32" x 3/4" I.D.

1шт.

32

NSS

NOT SOLD SEPARAT

"O" RING - 3/32" x 3/4" I.D.

1шт.

33

F87746

PLUG ASSEMBLY - hex.

2шт.

34

NSS

NOT SOLD SEPARAT

WASHER - backup, 3/32" x 3/4" I.D.

1шт.

35

NSS

NOT SOLD SEPARAT

"O" RING - 3/32" x 3/4" I.D.

1шт.

36

F59819

PLUNGER

- lockout

2шт.

F84831

SEAL

KIT - repair, port plate

1шт.

NSS

NOT SOLD SEPARAT

"O" RING - 3/32" x 3/4" I.D. (See Ref. 5)

1шт.

NSS

NOT SOLD SEPARAT

WASHER - backup (rubber) 3/32" x 5/8" I.D. (see Ref. 6)

1шт.

NSS

NOT SOLD SEPARAT

"O" RING - 3/32" x 5/8" I.D. (see Ref. 7)

1шт.

F87747

SEAL KIT

KIT - repair, seal

1шт.

NSS

NOT SOLD SEPARAT

"O" RING - 3/32" x 5/8" I.D. (see Ref. 2 and 7)

4шт.

NSS

NOT SOLD SEPARAT

"O" RING - 1/8" x 5/8" I.D. (see Ref. 3)

3шт.

NSS

NOT SOLD SEPARAT

"O" RING - 3/32" x 3/4" I.D. (see Ref. 5, 16, 19, 22, 32 and 35)

7шт.

NSS

NOT SOLD SEPARAT

WASHER - backup (rubber( 3/32" x 5/8" I.D. (see Ref. 6)

1шт.

NSS

NOT SOLD SEPARAT

WASHER - backup 3/32" x 3/4" I.D. (se Ref. 15, 18, 21, 31 and 34

6шт.

NSS

NOT SOLD SEPARAT

POPPET ASSEMBLY - (see Ref. 24)

3шт.

NSS

NOT SOLD SEPARAT

"O" RING - 3/32" x 9/16" I.D. (see Ref. 26)

1шт.

F87753

ADAPTOR - port (pickup reel only) see F87759, Ref. 14

1шт.

Выбрано товаров: 52