Запчасти Case IH 1660 (8-08) - OIL COOLER SYSTEM (07) - HYDRAULICS

Схема запчастей Case IH 1660 - (8-08) - OIL COOLER SYSTEM (07) - HYDRAULICS
12
3
2
8
1
6
13
6
14
7
6
14
13
9
17
6
6
2
5
18
6
16
12
11
2
19
4
6
14
13
FIT
1:1
100%

Артикул

Название

Примечание

Количество

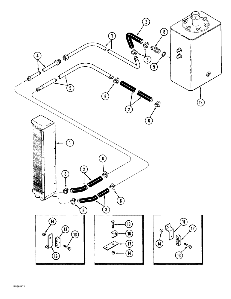
1

1265691C91

COOLER ASSY.

COOLER ASSEMBLY - oil, parts list Fig. 8-10

1шт.

2

NSS

NOT SOLD SEPARAT

HOSE - oil, 3/4 inch ID x 18 inch (457 mm) long, cut from bulk hose 180720C2

3шт.

3

NSS

NOT SOLD SEPARAT

HOSE - oil, 5/8 inch ID x 18 inch (457 mm) long, cut from bulk hose S118576X

1шт.

4

183830C1

HYD TUBE

TUBE - reservoir to oil cooler

1шт.

5

183831C2

HYD TUBE,0.75" OD

TUBE - oil cooler to hrdrostatic pump

1шт.

6

214-1412

HOSE CLAMP,#12, 0.69" - 1.25", Type F Worm

CLAMP, HOSE, #12, 0.69/1.25 Type F Worm

8шт.

7

196762C1

HYD TUBE

TUBE - reservoir to oil cooler

1шт.

8

470420R11

FITTING

CONNECTOR - hydraulic, 1-1/16 thread x 3/4 inch barb end, system return

1шт.

9

237-6012

O-RING,0.116" Thk x 0.924" ID, -912, Cl 6, 90 Duro

12-1, 90 Duro, .924 ID x .116" Thk

1шт.

11

196517C1

SUPPORT TUBE

SUPPORT - oil cooler tube

1шт.

12

183826C1

CLAMP

- oil cooler tube

2шт.

13

413-428

BOLT,Hex, 1/4" - 20 x 1-3/4", Gr 5

- hex, 1/4 NC x 1-3/4 inch

3шт.

14

231-5144

SERRATED NUT,Flg, USR, 1/4"-20

3шт.

15

495-81006

WASHER,6.76mm ID x 19.05mm OD x 1.7mm Thk

- flat, 17/64 x 3/4 x 1/16 inch, not shown

1шт.

16

183829C1

BRACKET

SUPPORT - oil cooler tubes

1шт.

17

1338281C1

BRACKET

SUPPORT - cooler to reservoir support (Replaces support 196868C1)

1шт.

18

183823C1

CLAMP

- to reservoir tube

1шт.

19

1301237C92

RESERVOIR

ASSEMBLY - hydraulic oil, parts list Fig. 8-02

1шт.

180720C2

HOSE ASSY.

HOSE - bulk, 300 inch (7620 mm) long, sold by the piece

1шт.

S118576X

LARGE HOSE,15.88mm ID x 7620mm L

HOSE - bulk, rubber, 300 inch (7620 mm) long

1шт.

Выбрано товаров: 20