Запчасти Case IH 1660 (9G-14) - SEAT ASSEMBLY, BOSTROM (10) - CAB & AIR CONDITIONING

Схема запчастей Case IH 1660 - (9G-14) - SEAT ASSEMBLY, BOSTROM (10) - CAB & AIR CONDITIONING
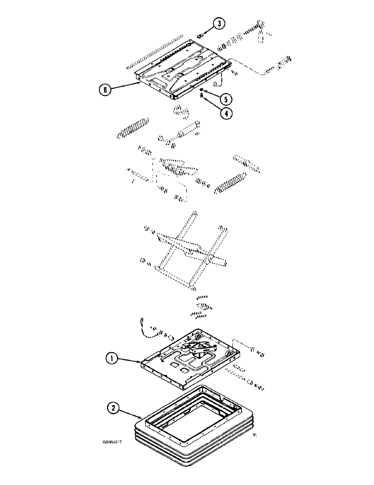
6
1
5
4
3
2
FIT
1:1
100%

Артикул

Название

Примечание

Количество

91789C91

SEAT

ASSEMBLY - operator, Includes: Ref. 1 - 6 and kits and parts in Figs. 9G-12 and 9G-16

1шт.

1990651C2

SEAT

ASSEMBLY - mechanical suspension, Includes: Ref. 1 - 6 and parts in Fig. 9G-12

1шт.

1

NSS

NOT SOLD SEPARAT

SUSPENSION - seat

1шт.

2

NSS

NOT SOLD SEPARAT

COVER - suspension

1шт.

3

NSS

NOT SOLD SEPARAT

STOP - forward

1шт.

4

NSS

NOT SOLD SEPARAT

SCREW - stop retaining, M5 x 10 mm

1шт.

5

NSS

NOT SOLD SEPARAT

WASHER - lock, 5 mm

1шт.

6

NSS

NOT SOLD SEPARAT

SLIDER - seat

2шт.

Part of Top Seat Service Kit, P/N 1954469C1

1шт.

Part of Miscellaneous Service Kit, P/N 1954471C1

1шт.

1954469C1

KIT

- top, seat, service, Includes: Ref. 6

1шт.

1954471C1

KIT

- miscellaneous, service, Includes: Ref. 6

1шт.

Выбрано товаров: 12