Запчасти Case IH 1660 (9G-52) - REAR VIEW MIRROR, LEFT HAND (10) - CAB & AIR CONDITIONING

Схема запчастей Case IH 1660 - (9G-52) - REAR VIEW MIRROR, LEFT HAND (10) - CAB & AIR CONDITIONING
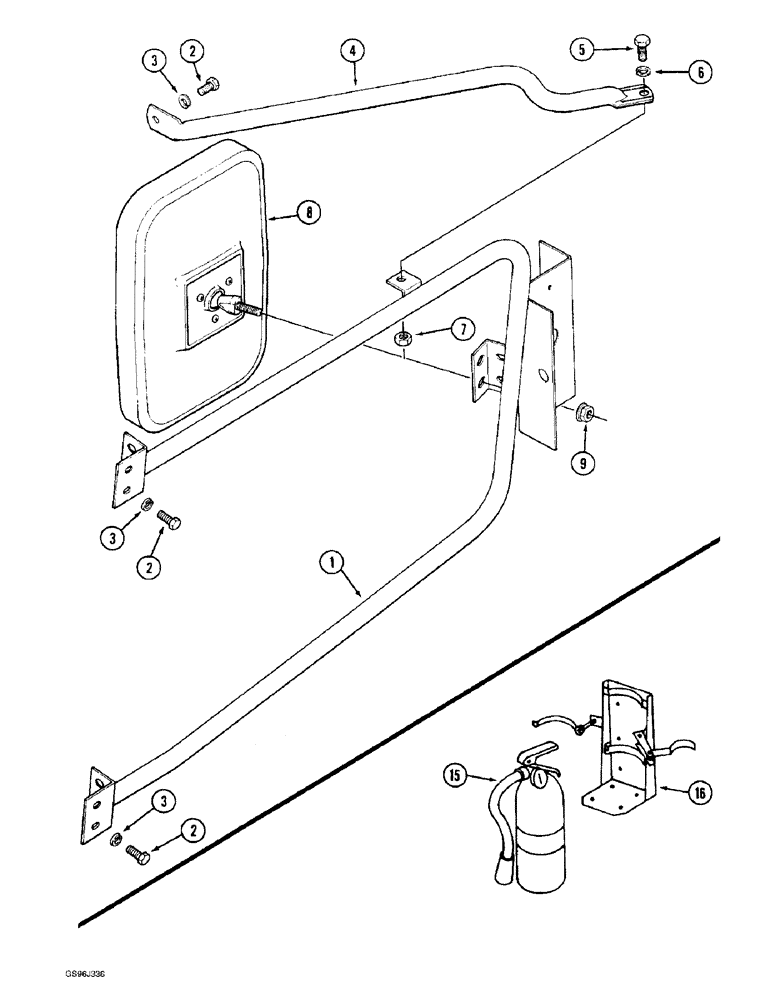
7
1
3
15
2
3
9
6
2
5
3
8
16
4
2
FIT
1:1
100%

Артикул

Название

Примечание

Количество

1

1281911C1

TUBE,694, 476 mm Length

BRACKET - mirror mounting, left-hand

1шт.

2

25228R1

BOLT,Hex, 5/16" - 18 x 3/4", Gr 8

- hex, 5/16 NC x 3/4 inch, grade 8

4шт.

3

492-11031

LOCK WASHER,5/16"

WASHER, LOCK, 5/16"

4шт.

4

1281913C1

TUBE,19.05 mm OD, 444, 303.5 mm Length

SUPPORT - mirror bracket, left-hand

1шт.

5

326-612

BOLT,Hex, 3/8" - 16 x 3/4", Gr 8

1шт.

6

492-11038

LOCK WASHER,3/8"

1шт.

7

329-106

NUT,3/8"-16, G8

1шт.

8

1283403C1

MIRROR

- rear view, left-hand

1шт.

9

825-51410

FLANGE NUT,M10, Flg Ser

- hex serrated flange, 10 mm - 1.5

1шт.

15

549975C91

FIRE EXTINGUISHER

EXTINGUISHER - fire, ABC dry chemical, 10 pound

1шт.

16

549978C91

BRACKET

- extinguisher mounting, parts accessory, fire extinguisher

1шт.

Выбрано товаров: 0