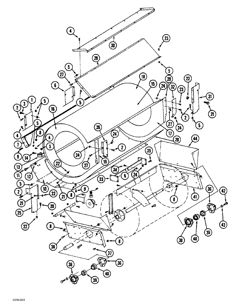
Запчасти Case IH 1660 (9C-08) - CLEANING FAN AND SHIELDS (15) - BEATER & CLEANING FANS

Схема запчастей Case IH 1660 - (9C-08) - CLEANING FAN AND SHIELDS (15) - BEATER & CLEANING FANS
3
7
5
36
44
26
25
33
21
36
29
27
20
10
22
8
40
30
34
23
4
37
22
9
21
5
27
17
27
24
19
38
5
28
8
31
36
4
9
11
18
2
5
21
8
4
24
41
5
36
43
8
39
12
39
6
5
2
2
35
24
13
32
1
24
22
24
40
22
2
14
15
42
8
16
8
20
5
16
23
FIT
1:1
100%

Артикул

Название

Примечание

Количество

1

188112C2

SUPPORT

- fan intake front, left-hand

1шт.

2

256873

BOLT,Hex Serr, 5/16" - 18 x 1/2", 5SPL, Full Thd

18шт.

3

413-58

BOLT,Hex, 5/16" - 18 x 1/2", Gr 5

- hex, 5/16 NC x 1/2 inch

2шт.

4

477-73112

SERRATED SCREW,Sl Truss Hd, 5/16" - 18 x 3/4"

- serrated slotted truss head, 5/16 NC x 3/4"

23шт.

5

231-5145

SERRATED NUT,Flg, USR, 5/16"-18

NUT - hex serrated flange, 5/16 inch NC

48шт.

6

188113C2

SUPPORT

- fan intake front, right-hand

1шт.

7

194712C2

SUPPORT

- fan, bottom shield

1шт.

8

231-5146

FLANGE NUT,3/8"-16

18шт.

10

194717C1

SUPPORT

- bottom, fan

1шт.

11

409-7816

BOLT,Hex Flg, 1/2" - 13 x 1", Spcl

- hex serrated flange, 1/2 NC x 1 inch

6шт.

12

231-5148

FLANGE NUT,Flg, USR, 1/2"-13

6шт.

13

191706C1

SUPPORT

- front support, fan

1шт.

14

413-512

BOLT,Hex, 5/16" - 18 x 3/4", Gr 5

- hex, 5/16 NC x 3/4 inch

2шт.

15

1324001C91

KIT

- fan housing, Includes: Ref. 16 - 24

1шт.

16

NSS

NOT SOLD SEPARAT

HOUSING - fan, left-hand, section, order kit 1324001C91

1шт.

17

NSS

NOT SOLD SEPARAT

HOUSING - fan, right-hand, section, order kit 1324001C91

1шт.

18

NSS

NOT SOLD SEPARAT

SHEET - top, order kit 1324001C91

1шт.

19

186713C2

KIT

EXTENSION - filler, left-hand

1шт.

20

186714C2

EXTENSION

- filler, right-hand

1шт.

21

477-82508

SERRATED SCREW,Sl Truss Hd, 1/4" - 20 x 1/2"

BOLT - serrated slotted truss head, 1/4 NC x 1/2 inch

32шт.

22

231-5144

SERRATED NUT,Flg, USR, 1/4"-20

34шт.

23

477-73108

SERRATED SCREW,Sl Truss Hd, 5/16" - 18 x 1/2"

BOLT - serrated slotted truss head, 5/16 NC x 1/2 inch

13шт.

24

231-5315

FLANGE NUT,Flg, 5/16"-18

NUT, LOCK, Flg, 5/16"-18

33шт.

25

188114C2

SUPPORT

- fan intake rear, left-hand

1шт.

26

186715C1

SUPPORT

- fan side sheet, left-hand

1шт.

27

409-7512

BOLT,Hex Flg, 5/16" - 18 x 3/4", Spcl

- hex serrated flange, 5/16 NC x 3/4 inch

6шт.

28

191702C1

SUPPORT

- fan housing bottom

1шт.

29

185043C1

SUPPORT

- pan, to auger bed

1шт.

30

185042C1

SUPPORT

- chaffer, front seal

1шт.

31

188115C2

SUPPORT

- fan intake rear, right-hand

1шт.

32

186716C1

SUPPORT

- fan side sheet, right-hand

1шт.

33

191703C3

SUPPORT ASSY.

SUPPORT - fan housing, rear

1шт.

34

477-73812

SERRATED SCREW,Truss HD, 3/8" - 16 x 3/4"

BOLT - serrated slotted truss head, 3/8 NC x 3/4 inch

4шт.

35

413-512

BOLT,Hex, 5/16" - 18 x 3/4", Gr 5

- hex, 5/16 NC x 3/4 inch

7шт.

36

180955C1

FLANGED BEARING,0.375"

FLANGE - bearing, fan shaft

4шт.

37

409-7612

BOLT,3/8"-16 x 1.09" OAL

- hex serrated flange, 3/8 NC x 3/4 inch

4шт.

38

409-7624

BOLT,Hex Flg, 3/8" - 16 x 1 1/2", Spcl

2шт.

39

455104R11

COLLAR

- locking, bearing

2шт.

40

485259R91

BEARING ASSY,1.2505" ID x 72 mm OD x 1.4844"

- fan

2шт.

41

194396C1

SUPPORT

- fan shaft bearing, right-hand

1шт.

42

154273C1

BOLT,Hex Serr, 3/8" - 16 x 1", Spcl

- hex, self-locking, special, 3/8 NC x 1 inch

3шт.

43

495-71041

WASHER,10.31mm ID x 31.75mm OD x 2.54mm Thk

- flat, 13/32 x 1-1/4 x 3/32 inch

3шт.

44

194398C2

SUPPORT

- fan intake, right-hand

1шт.

9

477-73816

SERRATED SCREW,Sl Truss Hd, 3/8" x 1"

BOLT - serrated slotted truss head, 3/8 NC x 1 inch

11шт.

Выбрано товаров: 44