Запчасти Case IH 1660 (9E-10) - UNLOADER CONTROL (17) - GRAIN TANK & UNLOADER

Схема запчастей Case IH 1660 - (9E-10) - UNLOADER CONTROL (17) - GRAIN TANK & UNLOADER
4
9
28
31
6
36
8
5
11
34
22
23
20
34
30
21
37
10
48
16
45
28
44
33
46
35
34
3
19
14
36
49
15
29
7
37
39
30
29
36
35
38
32
37
47
2
24
1
36
40
29
18
43
36
28
17
35
36
31
18
FIT
1:1
100%

Артикул

Название

Примечание

Количество

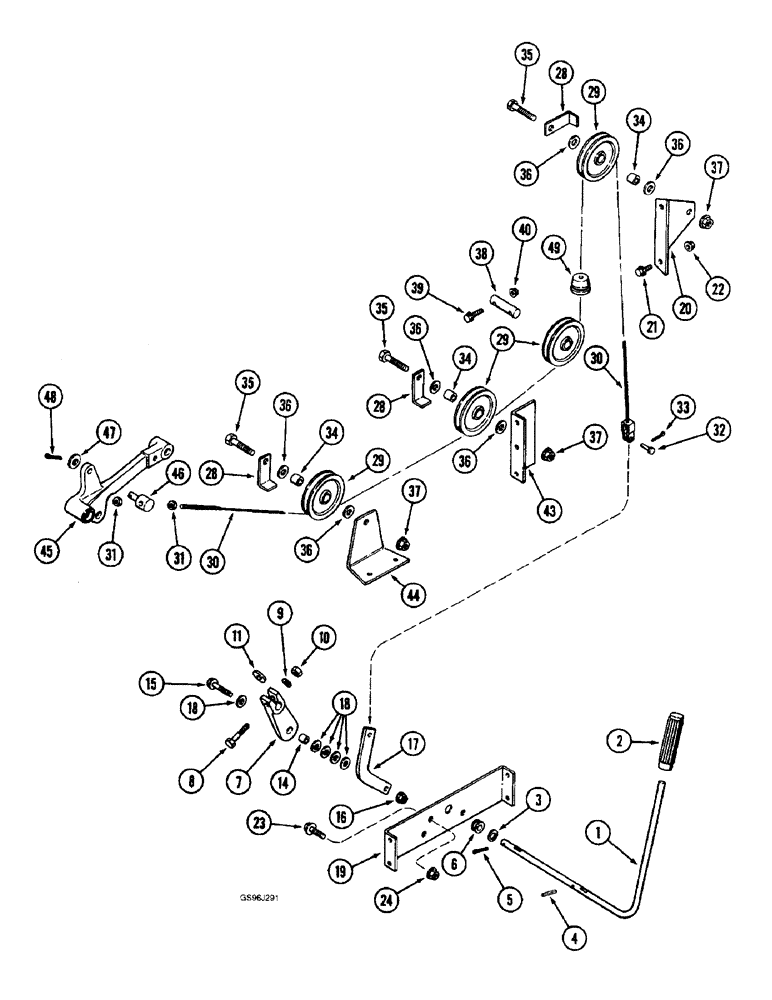
1

193196C1

ROD

LEVER - unloader control

1шт.

2

193194C2

HANDLE

GRIP - lever

1шт.

3

495-81177

WASHER,21/32" x 1" x .030"

- flat, 21/32 x 1 x 1/32 inch

2шт.

4

138-303

LOCK PIN,3/16" x 1 1/8", Slotted

Pin, 3/16" x 1 1/8", Slotted

1шт.

5

432-1216

COTTER PIN,3/16" x 1"

1шт.

6

193201C1

BUSHING

- control lever

2шт.

7

161650C2

ARM

- control

1шт.

8

326-628

BOLT,Hex, 3/8" - 16 x 1-3/4", Gr 8

- hex, 3/8 NC x 1-3/4 inch, grade 8

1шт.

9

492-11038

LOCK WASHER,3/8"

1шт.

10

329-106

NUT,3/8"-16, G8

1шт.

11

18465D

WASHER

- control arm

1шт.

14

561277R1

SPACER,5/8" Tube x 1/2"

- 13/32 x 5/8 x 7/16 inch

1шт.

15

326-628

BOLT,Hex, 3/8" - 16 x 1-3/4", Gr 8

- hex, 3/8 NC x 1-3/4 inch, grade 8

1шт.

16

231-5146

FLANGE NUT,3/8"-16

1шт.

17

195549C1

LINK

SUPPORT - control link

1шт.

18

396-31041

WASHER,10.31mm ID x 20.63mm OD x 3.4mm Thk

5шт.

19

195050C2

CHANNEL

SUPPORT - control lever

1шт.

20

195551C1

SUPPORT

- pulley

1шт.

21

409-7512

BOLT,Hex Flg, 5/16" - 18 x 3/4", Spcl

- hex serrated flange, 5/16 NC x 3/4 inch

10шт.

22

231-5145

SERRATED NUT,Flg, USR, 5/16"-18

NUT - hex serrated flange, 5/16 inch NC

10шт.

23

409-7620

BOLT,Hex Flg, 3/8" - 16 x 1 1/4", Spcl

- hex serrated flange, 3/8 NC x 1-1/4 inch

2шт.

24

231-5146

FLANGE NUT,3/8"-16

2шт.

28

193209C1

CLIP

BRACKET - control cable pulley

3шт.

29

193208C1

PULLEY

- control cable

4шт.

30

195550C2

CABLE

- unloader control

1шт.

31

425-105

NUT,5/16"-18, G5

- hex, 5/16 inch NC

2шт.

32

427-5071

CLEVIS PIN,7.92mm OD x 18.26mm L

hardened 5/16" x .719"

1шт.

33

432-616

COTTER PIN,3/32" x 1"

3/32" x 1"

1шт.

34

159716C1

SPACER,3/4" Tube x 5/8"

- tubular, 17/32 x 3/4 x 9/16 inch

3шт.

35

413-832

BOLT,Hex, 1/2" - 13 x 2", Gr 5

3шт.

36

496-21053

WASHER,17/32" x 1 1/16" x .134"

- flat, 17/32 x 1-1/16 x 1/8 inch, hardened

6шт.

37

231-5148

FLANGE NUT,Flg, USR, 1/2"-13

3шт.

38

195553C1

PIN

- cable pulley

1шт.

39

409-7520

BOLT,Hex Flg, 5/16" - 18 x 1 1/4", Spcl

- hex serrated flange, 5/16 NC x 1-1/4 inch

2шт.

40

231-5145

SERRATED NUT,Flg, USR, 5/16"-18

NUT - hex serrated flange, 5/16 inch NC

2шт.

43

193207C1

ANGLE

BRACKET - cable guide angle

1шт.

44

193795C1

SUPPORT

- rear pulley

1шт.

45

185059C92

ARM ASSY.

ARM ASSEMBLY - belt tightener, parts list Fig. 9E-14

1шт.

46

194893C1

PIVOT

- control cable rear

1шт.

47

496-21053

WASHER,17/32" x 1 1/16" x .134"

- flat, 17/32 x 1-1/16 x 1/8 inch, hardened

1шт.

48

432-1216

COTTER PIN,3/16" x 1"

1шт.

49

198821C1

GROMMET,3.18mm ID x 41.1mm OD x 26.9mm Thk

- 1/8 inch ID, unloader cable

1шт.

Выбрано товаров: 42