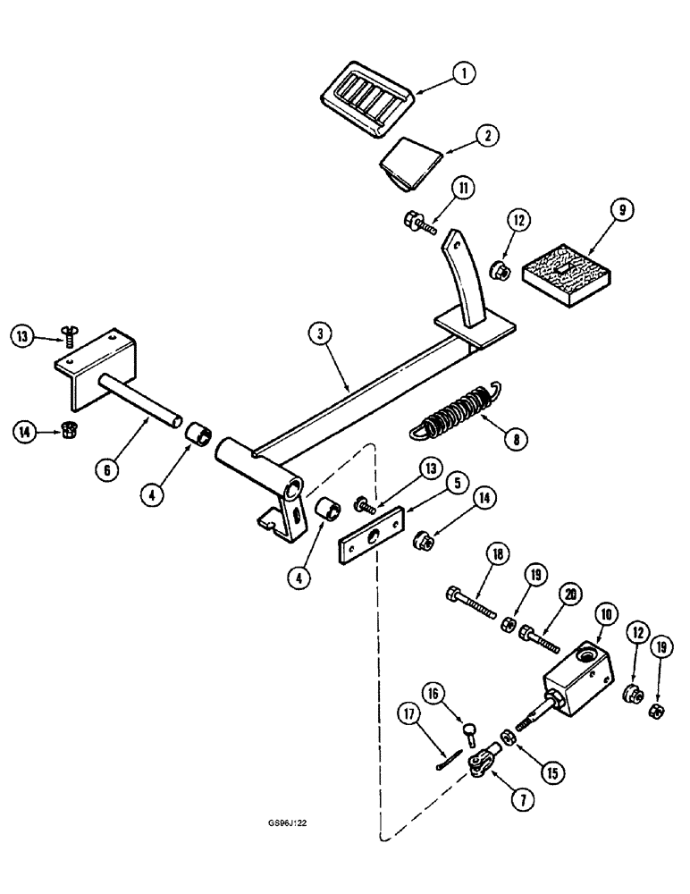
Запчасти Case IH 1660 (6-10) - FOOT-N-INCH PEDAL (03) - POWER TRAIN

Схема запчастей Case IH 1660 - (6-10) - FOOT-N-INCH PEDAL (03) - POWER TRAIN
11
12
18
17
13
12
4
14
7
2
19
19
14
15
13
5
3
9
20
10
16
1
8
4
6
FIT
1:1
100%

Артикул

Название

Примечание

Количество

1

863426R1

PAD

- pedal

1шт.

2

163425C1

PEDAL

- Foot-N-Inch

1шт.

3

1321960C92

SUPPORT

ASSEMBLY - pedal, Includes: Ref. 4

1шт.

4

1280291C1

BUSHING,19.13mm ID x 22.3mm OD x 19.05mm L

- 3/4 inch (19 mm) diameter

2шт.

5

1281794C1

PLATE

BAR - pivot shaft support

1шт.

6

1281816C3

SUPPORT

- pivot shaft

1шт.

7

213-125

ADJUSTABLE CLEVIS,5/16" - 32

CLEVIS - adjustable, 5/16 inch NF

1шт.

8

182652A1

SPRING

- 27.9 OD x 122 mm free length

1шт.

9

1321935C1

SEAL

- pedal

1шт.

10

398705R91

VALVE

ASSEMBLY - Foot-N-Inch, parts list Fig. 6-14

1шт.

11

413-620

BOLT,Hex, 3/8" - 16 x 1-1/4", Gr 5

- hex, 3/8 NC x 1-1/4 inch

1шт.

12

231-5146

FLANGE NUT,3/8"-16

2шт.

13

477-73112

SERRATED SCREW,Sl Truss Hd, 5/16" - 18 x 3/4"

- serrated slotted truss head, 5/16 NC x 3/4"

4шт.

14

231-5145

SERRATED NUT,Flg, USR, 5/16"-18

NUT - hex serrated flange, 5/16 inch NC

4шт.

15

425-155

JAM NUT,Jam, 5/16"-24, G5

- hex, jam, 5/16 inch NF

1шт.

16

327-5094

CLEVIS PIN,5/16" x .940"

PIN - clevis, 5/16 x 15/16 inch

1шт.

17

432-616

COTTER PIN,3/32" x 1"

3/32" x 1"

1шт.

18

413-640

BOLT,Hex, 3/8" - 16 x 2-1/2", Gr 5

- hex, 3/8 NC x 2-1/2 inch

1шт.

19

232-4136

LOCK NUT,3/8"-16, GC

NUT, LOCK, 3/8"-16, GC

2шт.

20

413-632

BOLT,Hex, 3/8" - 16 x 2", Gr 5

1шт.

Выбрано товаров: 20