Запчасти Case IH 1660 (6-52) - HYDROSTATIC MOTOR, TWO SPEED, (CONTD) (03) - POWER TRAIN

Схема запчастей Case IH 1660 - (6-52) - HYDROSTATIC MOTOR, TWO SPEED, (CONTD) (03) - POWER TRAIN
86
88
83
61
79
84
66
69
65
67
86
83
62
66
80
77
87
76
73
65
89
85
78
65
70
64
72
74
75
81
87
68
65
90
63
67
85
84
66
FIT
1:1
100%

Артикул

Название

Примечание

Количество

REF

INSTRUCTION

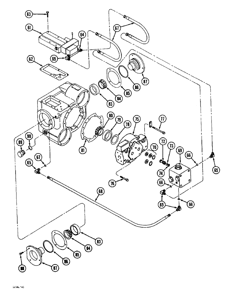
MOTOR ASSEMBLY - hydrostatic, Includes: Ref. 61- 90 and parts in Figs. 6-48 and 6-50

1шт.

61

REF

INSTRUCTION

VALVE ASSEMBLY - control

1шт.

62

145337C1

GASKET

- control valve

1шт.

63

413-528

BOLT,Hex, 5/16" - 18 x 1-3/4", Gr 5

6шт.

64

218-5133

ELBOW,45 Degree Elbow, 7/16" - 20 Male JIC x 7/16" - 20 Male ORB

- 45 degree, 7/16-20 inch flare x adjustable O-ring boss, includes O-ring

1шт.

237-6004

O-RING,0.072" Thk x 0.351" ID, -904, Cl 6, 90 Duro

4-1, 90 Duro, .351" ID x .072" Thk

1шт.

65

218-5103

90 ELBOW,90 Degree Elbow, 7/16" - 20 Male JIC x 7/16" - 20 Male ORB

- 90 degree, 7/16-20 inch flare x adjustable O-ring boss, Includes: Ref. 66

4шт.

66

237-6004

O-RING,0.072" Thk x 0.351" ID, -904, Cl 6, 90 Duro

4-1, 90 Duro, .351" ID x .072" Thk

4шт.

67

175760C2

HYDRAULIC HOSE,6.35mm ID x 254mm L, SAE 100R2

HOSE - 10 inch (254 mm) long, Serial Range: valve-block

2шт.

68

145340C1

HOSE

- housing to valve block

1шт.

69

1971432C2

VALVE

BLOCK ASSEMBLY - relief, parts list Fig. 6-60

1шт.

70

140747C92

SEAL KIT

KIT - valve block seal

1шт.

72

140769C1

CHECK VALVE

VALVE - check

2шт.

73

238-6113

O-RING,0.103" Thk x 0.549" ID, -113, Cl 6, 90 Duro

2шт.

74

140770C1

RING

- backup, check valve

2шт.

75

NSS

NOT SOLD SEPARAT

HOUSING - end cover, order motor assembly

1шт.

76

413-732

BOLT,Hex, 7/16" - 14 x 2", Gr 5

2шт.

77

413-748

BOLT,Hex, 7/16" - 14 x 3", Gr 5

6шт.

142398C91

SHIM KIT

KIT - shim, end cover, Includes: Ref. 78

1шт.

78

NSS

NOT SOLD SEPARAT

SHIM - bearing, 0.003 inch, order kit 142398C91

1шт.

78

NSS

NOT SOLD SEPARAT

SHIM - bearing, 0.005 inch, order kit 142398C91

1шт.

78

NSS

NOT SOLD SEPARAT

SHIM - bearing, 0.010 inch, order kit 142398C91

1шт.

78

NSS

NOT SOLD SEPARAT

SHIM - bearing, 0.015 inch, order kit 142398C91

1шт.

78

NSS

NOT SOLD SEPARAT

SHIM - bearing, 0.020 inch, order kit 142398C91

1шт.

78

NSS

NOT SOLD SEPARAT

SHIM - bearing, 0.030 inch, order kit 142398C91

1шт.

79

530741R1

BEARING CUP

CUP - tapered roller bearing, 2-17/32 inch OD, input shaft

1шт.

80

400983R91

ROLLER BEARING,1.18775" ID x 2.5317" OD x 0.8478"

BEARING - tapered roller, 1-3/16 inch ID, input shaft

1шт.

81

140756C2

GASKET

- end cover

1шт.

83

399934C1

BEARING CUP,73.43mm OD x 15.75mm W

CUP - tapered roller bearing, 2-57/64 inch OD, trunnion

2шт.

84

399933C91

ROLLER BEARING,45.24mm ID x 19.81mm W

BEARING - tapered roller, 1-25/32 inch ID, trunnion

2шт.

142386C91

SHIM KIT

KIT - shim, trunnion bearing, Includes: Ref. 85

1шт.

85

NSS

NOT SOLD SEPARAT

SHIM - trunnion, 0.002 inch, six in kit

1шт.

85

NSS

NOT SOLD SEPARAT

SHIM - trunnion, 0.005 inch, four in kit

1шт.

85

NSS

NOT SOLD SEPARAT

SHIM - trunnion, 0.010 inch, four in kit

1шт.

85

NSS

NOT SOLD SEPARAT

SHIM - trunnion, 0.015 inch, four in kit

1шт.

85

NSS

NOT SOLD SEPARAT

SHIM - trunnion, 0.025 inch, four in kit

1шт.

86

238-5234

O-RING,0.139" Thk x 2.984" ID, -234, Cl 5, 75 Duro

2шт.

87

NSS

NOT SOLD SEPARAT

TRUNNION - motor

2шт.

88

413-714

BOLT,Hex, 7/16" - 14 x 7/8", Gr 5

- hex, 7/16 NC x 7/8 inch

6шт.

89

218-5158

PLUG,Hex Hd, 1 1/16"-12 ORB

- hex, 1-1/16-12 inch O-ring boss, Includes: Ref. 90

1шт.

90

237-6012

O-RING,0.116" Thk x 0.924" ID, -912, Cl 6, 90 Duro

12-1, 90 Duro, .924 ID x .116" Thk

1шт.

Выбрано товаров: 41