Запчасти Case IH 1660 (5-50) - SELECTOR VALVE MOUNTING, POWER GUIDE AXLE (04) - STEERING

Схема запчастей Case IH 1660 - (5-50) - SELECTOR VALVE MOUNTING, POWER GUIDE AXLE (04) - STEERING
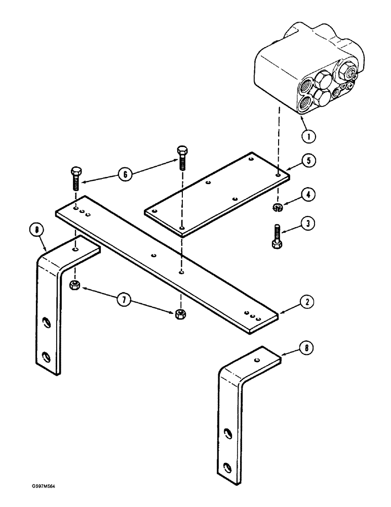
8
2
8
7
6
5
4
1
3
FIT
1:1
100%

Артикул

Название

Примечание

Количество

1

1978000C1

VALVE

ASSEMBLY - selector, parts list Figure 5-60

1шт.

2

1324455C2

PLATE

- mounting, valve

1шт.

3

426-624

BOLT,Hex, 3/8" - 16 x 1-1/2", Gr 8

- hex, 3/8 NC x 1-1/2 inch, grade 8

2шт.

4

492-11038

LOCK WASHER,3/8"

2шт.

5

1324454C3

BAR

PLATE - mounting, valve

1шт.

6

426-624

BOLT,Hex, 3/8" - 16 x 1-1/2", Gr 8

- hex, 3/8 NC x 1-1/2 inch, grade 8

4шт.

7

232-4136

LOCK NUT,3/8"-16, GC

NUT, LOCK, 3/8"-16, GC

4шт.

8

1324471C1

BRACKET

SUPPORT - bracket, valve

2шт.

Выбрано товаров: 8