Запчасти Case IH 1660 (8-104) - FEEDER CLUTCH SYSTEM, MODULAR CONTROL, PRIOR TO P.I.N. JJC0103800 (07) - HYDRAULICS

Схема запчастей Case IH 1660 - (8-104) - FEEDER CLUTCH SYSTEM, MODULAR CONTROL, PRIOR TO P.I.N. JJC0103800 (07) - HYDRAULICS
7
4
6
3
5a
12
17
14
5a
9
15
11
5
2
8
16
4
10
13
1
12
7
6
4
3
FIT
1:1
100%

Артикул

Название

Примечание

Количество

1

REF

INSTRUCTION

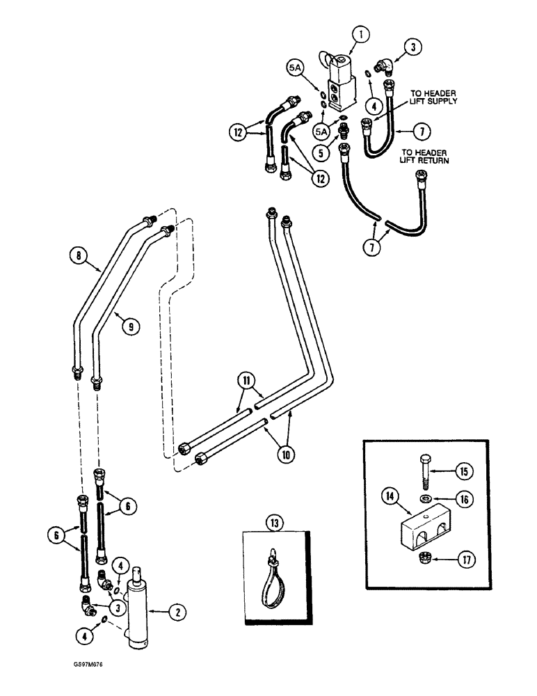
VALVE ASSEMBLY - feeder clutch, parts list Figure 8-114

1шт.

2

REF

INSTRUCTION

CYLINDER ASSEMBLY - hydraulic, parts list Figure 8-116

1шт.

3

218-5105

ELBOW,90 Degree Elbow, 9/16" - 18 Male JIC x 9/16" - 18 Male ORB

- 90 degree, 9/16-18 inch flare x adjustable O-ring boss, Includes: Ref. 4

3шт.

5

218-5057

HYD CONNECTOR,9/16" - 18 JIC x 9/16" - 18 ORB

ADAPTER - straight, 9/16-18 inch flare x O-ring boss, Incl. Ref. 5A

3шт.

6

1280792C1

HYDRAULIC HOSE,9.52 mm ID x 535.00 mm

- Feeder clutch 9.52 mm ID x 535.00 mm

2шт.

7

632455R91

HOSE

- feeder clutch, 355 mm (14 inch) long

2шт.

8

196793C1

HYD TUBE

TUBE - feeder clutch lower

1шт.

9

196823C2

HYD TUBE

TUBE - feeder clutch lower

1шт.

10

196792C1

HYD TUBE

TUBE - feeder clutch upper, front

1шт.

11

196748C1

HYD TUBE

TUBE - feeder clutch upper, rear

1шт.

12

548745R1

HYDRAULIC HOSE,0.38" ID x 12.00", SAE 100R1

Feeder Clutch 0.38" ID x 12.00", SAE 100R1

2шт.

13

702093C1

CABLE TIE

STRAP - tie

1шт.

14

183825C1

CLAMP

- feeder clutch tube

4шт.

15

413-436

BOLT,Hex, 1/4" - 20 x 2-1/4", Gr 5

4шт.

16

496-21028

WASHER,.281" x 5/8" x .075", HDN

- flat, 9/32 x 5/8 x 5/64 inch, hardened

4шт.

16

496-21028

WASHER,.281" x 5/8" x .075", HDN

- flat, 9/32 x 5/8 x 5/64 inch, hardened

4шт.

17

231-5144

SERRATED NUT,Flg, USR, 1/4"-20

4шт.

4

237-6006

O-RING,0.078" Thk x 0.468" ID, -906, Cl 6, 90 Duro

6-1, 90 Duro, .468" ID x .078" Thk

3шт.

5a

237-6006

O-RING,0.078" Thk x 0.468" ID, -906, Cl 6, 90 Duro

6-1, 90 Duro, .468" ID x .078" Thk

3шт.

Выбрано товаров: 0