Запчасти Case IH 1660 (9G-22) - OPERATORS SEAT, SUPPORTS, PRIOR TO P.I.N. JJC0038855 (10) - CAB & AIR CONDITIONING

Схема запчастей Case IH 1660 - (9G-22) - OPERATORS SEAT, SUPPORTS, PRIOR TO P.I.N. JJC0038855 (10) - CAB & AIR CONDITIONING
12
11
27
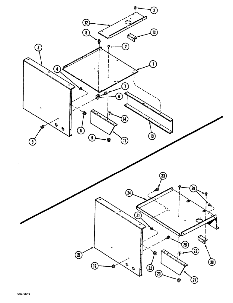
1
25
9
7
33
24
9
29
13
8
12
32
6
31
10
26
21
2
22
4
5
30
3
14
2
FIT
1:1
100%

Артикул

Название

Примечание

Количество

1

91701C1

PLATE

- base

1шт.

2

143306C1

SELF-TAP SCREW,Cross Pan Hd, #10 x 1/2"

SCREW - pan head cross slotted, No. 10-16 x 1/2 inch

13шт.

3

91757C2

PANEL ASSY.

PANEL - center rear

1шт.

4

1330152C1

SCREW,Sl Serr Truss Hd, 5/16" - 18 x 3/4"

7шт.

5

1330064C1

FLANGE NUT

- hex flange, self-locking, polyseal, 5/16 inch NC

7шт.

6

91708C1

BRACKET

ANGLE - rear support

2шт.

7

413-58

BOLT,Hex, 5/16" - 18 x 1/2", Gr 5

- hex, 5/16 NC x 1/2 inch

3шт.

8

199953C1

SELF-TAP SCREW,HWH, 5/16" - 18 x 13/16"

SCREW, SELF TAP, Hex Wash Hd, 5/16"-18 x 13/16"

2шт.

9

231-5145

SERRATED NUT,Flg, USR, 5/16"-18

NUT - hex serrated flange, 5/16 inch NC

7шт.

10

91693C1

CHANNEL

- front

1шт.

11

91695C1

CHANNEL

- center

1шт.

12

91702C1

COVER

- reservoir bracket

1шт.

13

91703C2

BRACKET

ANGLE -reservoir bracket

1шт.

14

1330152C1

SCREW,Sl Serr Truss Hd, 5/16" - 18 x 3/4"

5шт.

21

91757C2

PANEL ASSY.

PANEL - center rear, P.I.N. JJC0038855 and after

1шт.

22

1330152C1

SCREW,Sl Serr Truss Hd, 5/16" - 18 x 3/4"

P.I.N. JJC0038855 and after Sltd Serr Truss Hd, 5/16"-18 x 3/4"

2шт.

24

1979504C1

SUPPORT ASSY.

SUPPORT - seat, P.I.N. JJC0038855 and after

1шт.

25

280-13712

SELF-TAP SCREW,Hex Wash Hd, 1/4" x 3/4"

SCREW - self-tapping, hex washer head, 1/4-14 x 3/4 inch, P.I.N. JJC0038855 and after

4шт.

26

260-1458

SELF-TAP SCREW,Cross Pan Hd, #10 x 1/2"

SCREW - self-tapping, pan Phillips, No. 10-16 x 1/2 inch, P.I.N. JJC0038855 and after

10шт.

27

91695C1

CHANNEL

- center, P.I.N. JJC0038855 and after

1шт.

29

231-5145

SERRATED NUT,Flg, USR, 5/16"-18

NUT - hex serrated flange, 5/16 inch NC, P.I.N. JJC0038855 and after

2шт.

30

91703C2

BRACKET

ANGLE - reservoir bracket, P.I.N. JJC0038855 and after

1шт.

31

477-73812

SERRATED SCREW,Truss HD, 3/8" - 16 x 3/4"

BOLT - serrated slotted truss head, 3/8 NC x 3/4 inch, P.I.N. JJC0038855 and after

7шт.

32

231-5146

FLANGE NUT,3/8"-16

P.I.N. JJC0038855 and after Flg, USR, 3/8"-16

7шт.

33

280-13712

SELF-TAP SCREW,Hex Wash Hd, 1/4" x 3/4"

SCREW - self-tapping, hex washer head, 1/4-14 x 3/4 inch, P.I.N. JJC0038855 and after

2шт.

Выбрано товаров: 25