Запчасти Case IH 1660 (9G-26) - SEAT, SUSPENSION SLIDER, BOSTROM (CONTD) (10) - CAB & AIR CONDITIONING

Схема запчастей Case IH 1660 - (9G-26) - SEAT, SUSPENSION SLIDER, BOSTROM (CONTD) (10) - CAB & AIR CONDITIONING
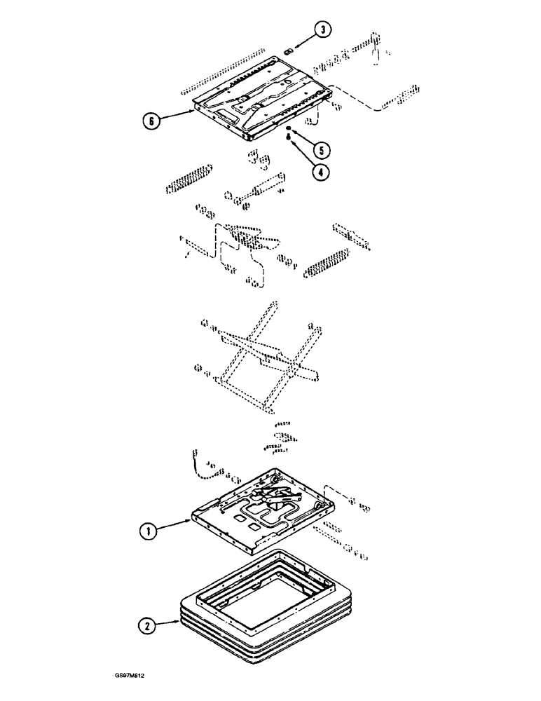
3
5
1
4
2
6
FIT
1:1
100%

Артикул

Название

Примечание

Количество

REF

INSTRUCTION

SEAT ASSEMBLY - operator, continued, Includes: Ref. 1 - 6 and kits listed below

1шт.

1954465C1

KIT

- suspension service, order seat assembly 1990652C2, parts list Figure 9G-40, Includes: Ref. 1 - 6

1шт.

1

NSS

NOT SOLD SEPARAT

SUSPENSION - seat

1шт.

2

NSS

NOT SOLD SEPARAT

COVER - suspension

1шт.

3

NSS

NOT SOLD SEPARAT

STOP - forward

1шт.

4

NSS

NOT SOLD SEPARAT

SCREW - stop retaining, 5 x 10 mm

1шт.

5

NSS

NOT SOLD SEPARAT

WASHER - lock, 5 mm

1шт.

6

NSS

NOT SOLD SEPARAT

SLIDER - seat

2шт.

Part of service, miscellaneous kit P/N 1954471C1

1шт.

Part of top seat service kit, P/N 1954469C1

1шт.

1954471C1

KIT

- service, miscellaneous, Includes: Ref. 6 and items on Figures 9G-24, 9G-26 and 9G-28

1шт.

1954469C1

KIT

- service, top, seat, Includes Ref. 6 and items on Figures 9G-24 and 9G-26

1шт.

Выбрано товаров: 12