Запчасти Case IH 1660 (9B-14) - ROTOR, CORN AND GRAIN (14) - ROTOR, CONCANVES & SIEVE

Схема запчастей Case IH 1660 - (9B-14) - ROTOR, CORN AND GRAIN (14) - ROTOR, CONCANVES & SIEVE
24
41
12
42
26
2
11
10
5
16
10
13
4
8
9
23
20
19
17
33
34
21
28
43
18
25
32
34
30
1
10
35
10
10
10
10
27
7
22
3
9
11
11
31
FIT
1:1
100%

Артикул

Название

Примечание

Количество

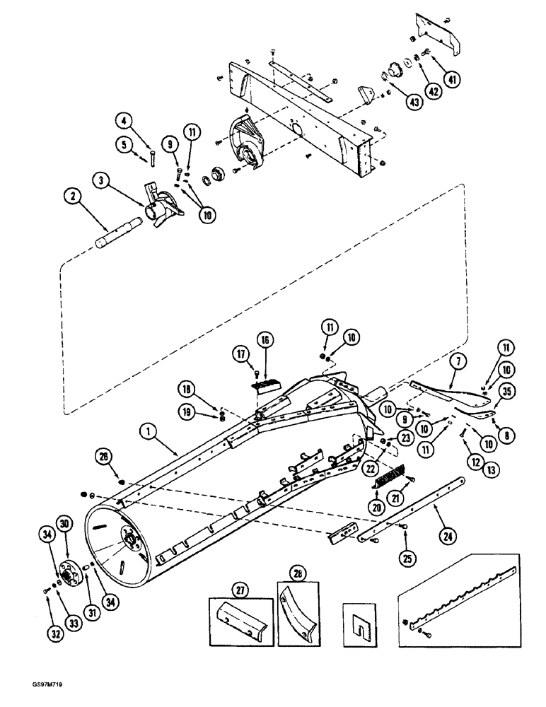
1

1302214C96

ROTOR

ASSEMBLY - threshing, Includes: Ref. 2 - 35

1шт.

1

256598A1

ROTOR

ASSEMBLY - threshing, grain, high strength, Includes: Ref. 2 - 35

1шт.

2

191545C2

SHAFT

- rotor, front

1шт.

3

191546C2

IMPELLER

- rotor, front

1шт.

4

439-51272

HEADED PIN,3/4" x 4 1/2", G5

PIN - headed, 3/4 x 4-1/2 inch

1шт.

5

432-1620

COTTER PIN,1/4" x 1 1/4"

Pin, Split (Cotter), 1/4" x 1 1/4"

1шт.

1957446C3

SET OF BLADES

KIT - rotor blade, set of three, Includes: Ref. 7

1шт.

7

NSS

NOT SOLD SEPARAT

BLADE - rotor, order kit 1957446C1

3шт.

8

361-45024

HEX SOC SCREW,1/2" - 13 x 1-1/2"

BOLT - hex socket, 1/2 NC x 1-1/2 inch

9шт.

9

426-828

BOLT,Hex, 1/2" - 13 x 1-3/4", Gr 8

- hex, 1/2 NC x 1-3/4 inch, grade 8

9шт.

10

396-41053

WASHER,13.49mm ID x 31.75mm OD x 5.05mm Thk

- flat, 17/32 x 1-1/4 x 3/16 inch, hardened

39шт.

11

232-4118

NUT,1/2"-13, GC

NUT, LOCK, 1/2"-13, GC

24шт.

12

326-844

BOLT,Hex, 1/2" - 13 x 2-3/4", Gr 8

3шт.

13

426-848

BOLT,Hex, 1/2" - 13 x 3", Gr 8

- hex, 1/2 NC x 3 inch, grade 8

3шт.

16

1308829C2

BAR

- helical rasp support

12шт.

16

1324583C3

BAR

- helical rasp support, chrome

12шт.

17

426-620

BOLT,Hex, 3/8" - 16 x 1-1/4", Gr 8

24шт.

18

396-21041

WASHER,10.31mm ID x 20.63mm OD x 2.26mm Thk

- flat, 13/32 x 13/16 x 3/32 inch, hardened

24шт.

19

232-4136

LOCK NUT,3/8"-16, GC

NUT, LOCK, 3/8"-16, GC

24шт.

20

1308668C1

RASP BAR

BAR - straight, rasp

9шт.

20

1324582C2

RASP BAR

BAR - straight, rasp, chrome

9шт.

21

426-620

BOLT,Hex, 3/8" - 16 x 1-1/4", Gr 8

18шт.

22

396-21041

WASHER,10.31mm ID x 20.63mm OD x 2.26mm Thk

- flat, 13/32 x 13/16 x 3/32 inch, hardened

18шт.

23

232-4136

LOCK NUT,3/8"-16, GC

NUT, LOCK, 3/8"-16, GC

18шт.

24

1303038C2

BAR

- rotor, rear straight

3шт.

24

1302103C3

BAR

- rotor, with teeth, rear straight

3шт.

Ref. #24 - 1302103c3. The non-tooth end of the seperator bar mounts facing toward the rear of the rotor. TSG. 8/12/99. CM

1шт.

24

1324580C2

BAR

- rotor, rear straight, chrome

3шт.

25

409-7620

BOLT,Hex Flg, 3/8" - 16 x 1 1/4", Spcl

- hex serrated flange, 3/8 NC x 1-1/4 inch

21шт.

26

231-5146

FLANGE NUT,3/8"-16

21шт.

27

1994890C1

RASP BAR

BAR - straight, smooth

9шт.

28

1994891C1

BAR

- helical smooth

12шт.

30

1345307C1

COUPLING

- rotor drive

1шт.

31

180703C1

PACKAGE,SERVICE

KIT - bushing, set of six

1шт.

32

426-848

BOLT,Hex, 1/2" - 13 x 3", Gr 8

- hex, 1/2 NC x 3 inch, grade 8

6шт.

33

80679

LOCK WASHER,1/20.507 CST ZND

WASHER, LOCK, 1/2"

6шт.

34

540468R1

WASHER,13.49mm ID x 38.1mm OD x 3.05mm Thk

- flat, hardened, special, 17/32 x 1-1/2 x 1/8 inch

12шт.

35

183253C3

BAR

PLATE - wear

3шт.

35

1309185C3

BAR

PLATE - wear, chrome

3шт.

41

424-1228

BOLT,Hex, 3/4" - 10 x 1-3/4", Gr 2

- hex, 3/4 NC x 1-3/4 inch, grade 2

1шт.

42

492-11075

LOCK WASHER,3/4"

3/4"

1шт.

43

495-81097

WASHER,51.59mm ID x 69.85mm OD x 2.29mm Thk

- flat, 2-1/32 x 2-3/4 x 1/16 inch

1шт.

Выбрано товаров: 42