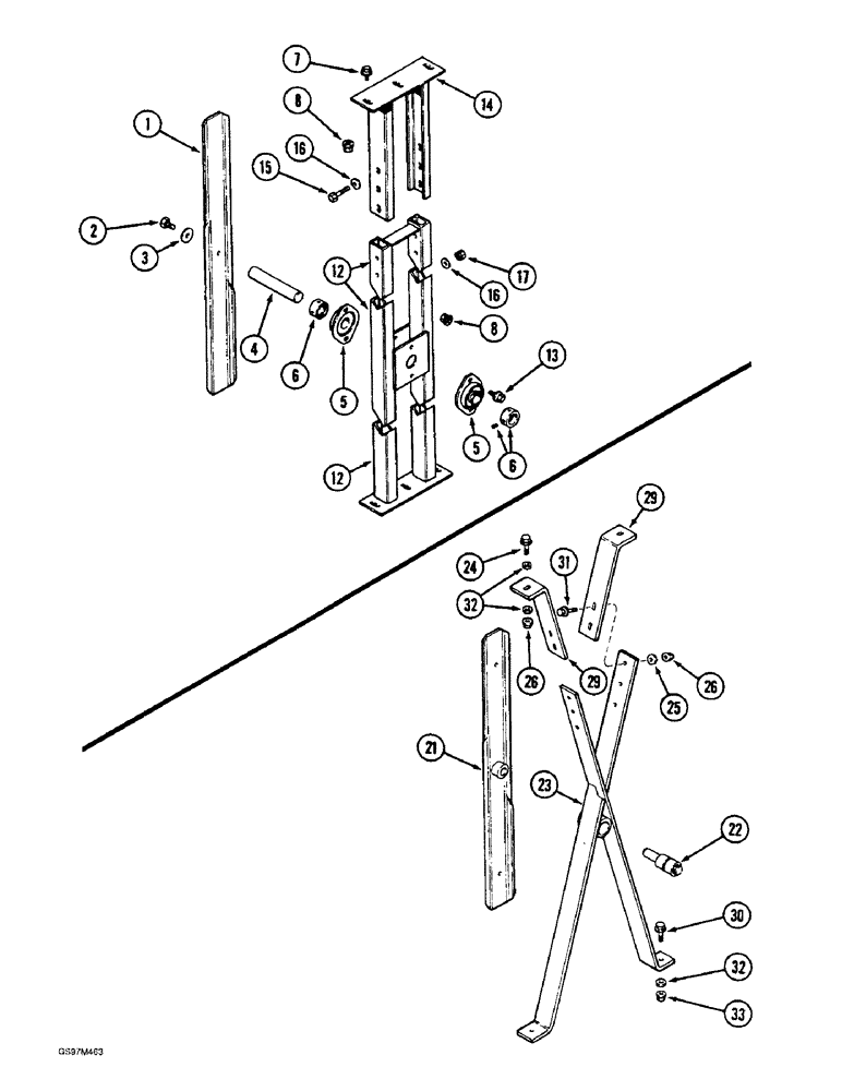
Запчасти Case IH 1660 (2-06) - RADIATOR CLEANING FAN, STATIONARY SUPPORT (01) - ENGINE

Схема запчастей Case IH 1660 - (2-06) - RADIATOR CLEANING FAN, STATIONARY SUPPORT (01) - ENGINE
17
1
13
15
29
16
25
16
32
5
26
24
29
7
6
14
12
2
6
3
23
8
33
21
8
4
22
31
5
32
30
26
12
FIT
1:1
100%

Артикул

Название

Примечание

Количество

1

1977147C2

PADDLE

BLADE - cleaning, no longer available, order blade 1345399C1, item 21, bearing 559205R91, item 22, bracket 1345404C1, item 23 and support 1345403, item 29

1шт.

2

413-616

BOLT,Hex, 3/8" - 16 x 1", Gr 5

- hex, 3/8 NC x 1 inch

1шт.

3

495-71041

WASHER,10.31mm ID x 31.75mm OD x 2.54mm Thk

- flat, 13/32 x 1-1/4 x 3/32 inch

1шт.

4

1970553C1

SHAFT

- cleaning fan

1шт.

5

214490C91

BALL BEARING,25.4mm ID

BEARING - ball, fan shaft

2шт.

6

455102R21

COLLAR

- locking, bearing, includes set screw

2шт.

7

409-7512

BOLT,Hex Flg, 5/16" - 18 x 3/4", Spcl

- hex serrated flange, 5/16 NC x 3/4 inch

4шт.

8

231-5145

SERRATED NUT,Flg, USR, 5/16"-18

NUT - hex serrated flange, 5/16 inch NC

4шт.

12

1979104C1

SUPPORT

- fan, lower, no longer available, order blade 1345399C1, item 21, bearing 559205R91, item 22, bracket 1345404C1, item 23 and support 1345403, item 29

1шт.

13

409-7512

BOLT,Hex Flg, 5/16" - 18 x 3/4", Spcl

- hex serrated flange, 5/16 NC x 3/4 inch

6шт.

14

1979106C1

SUPPORT

- fan, upper

1шт.

15

413-528

BOLT,Hex, 5/16" - 18 x 1-3/4", Gr 5

4шт.

16

495-81253

WASHER,0.34" ID x 0.88" OD x 0.06" Thk

- flat, 11/32 x 7/8 x 1/16 inch

8шт.

17

232-4115

LOCK NUT,5/16"-18, GC

NUT, LOCK, 5/16"-18, GC

4шт.

21

1345399C1

FAN

BLADE - cleaning, adjustable support

1шт.

22

559205R91

BEARING ASSY,15.92 mm ID x 30 mm OD x 82.55 mm

- blade, adjustable support

1шт.

23

1345404C1

SUPPORT

BRACKET - mounting, blade, adjustable support

1шт.

24

409-7516

BOLT,Hex Flg, 5/16" - 18 x 1", Spcl

Adjustable support Hex Flg, 5/16"-18 x 1", Serr

2шт.

25

495-81253

WASHER,0.34" ID x 0.88" OD x 0.06" Thk

- flat, 11/32 x 7/8 x 1/16 inch, adjustable support

4шт.

26

231-5145

SERRATED NUT,Flg, USR, 5/16"-18

NUT - hex serrated flange, 5/16 inch NC, self-locking, adjustable support

2шт.

29

1345403C1

SUPPORT

- adjustable, wiper blade

2шт.

30

409-7516

BOLT,Hex Flg, 5/16" - 18 x 1", Spcl

Adjustable support Hex Flg, 5/16"-18 x 1", Serr

2шт.

31

409-7520

BOLT,Hex Flg, 5/16" - 18 x 1 1/4", Spcl

- hex serrated flange, 5/16 NC x 1-1/4 inch, adjustable support

4шт.

32

495-81253

WASHER,0.34" ID x 0.88" OD x 0.06" Thk

- flat, 11/32 x 7/8 x 1/16 inch, adjustable support

8шт.

33

231-5145

SERRATED NUT,Flg, USR, 5/16"-18

NUT - hex serrated flange, 5/16 inch NC, self-locking, adjustable support

6шт.

Выбрано товаров: 25