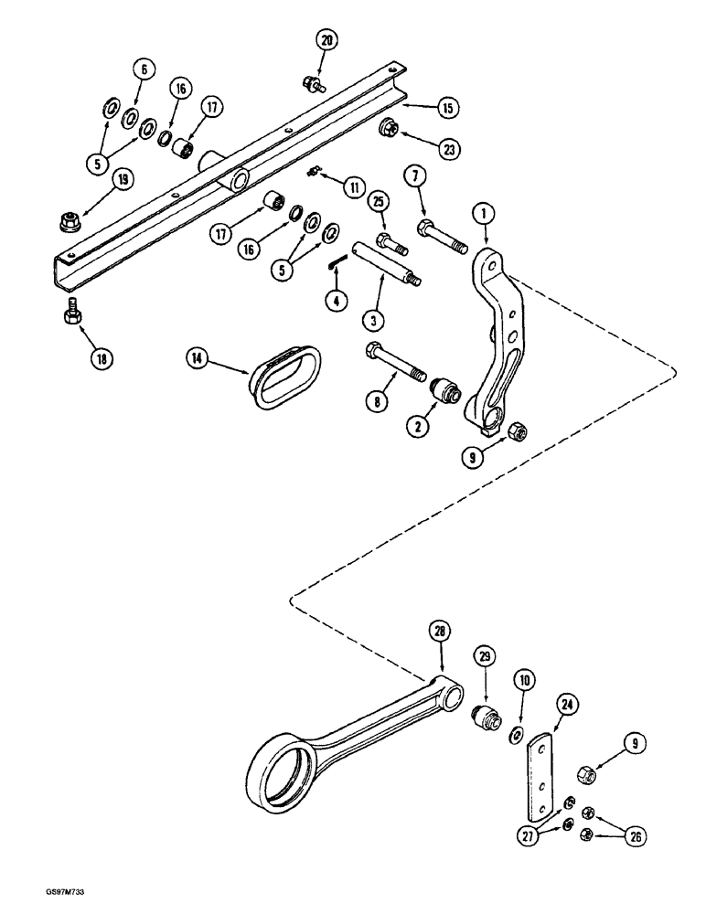
Запчасти Case IH 1660 (9B-42) - CHAFFER DRIVE HANGER LEVER AND SUPPORT, STANDARD DRIVE,PRIOR TO P.I.N. JJC0039550 (14) - ROTOR, CONCANVES & SIEVE

Схема запчастей Case IH 1660 - (9B-42) - CHAFFER DRIVE HANGER LEVER AND SUPPORT, STANDARD DRIVE,PRIOR TO P.I.N. JJC0039550 (14) - ROTOR, CONCANVES & SIEVE
26
4
5
18
29
20
2
16
17
8
19
17
24
14
28
7
3
9
25
5
16
27
1
23
6
15
10
11
9
FIT
1:1
100%

Артикул

Название

Примечание

Количество

1

1321374C91

LEVER ASSY.

LEVER ASSEMBLY - chaffer drive hanger, Includes: Ref. 2 & 3

2шт.

2

186597C1

BUSHING,16mm ID x 38.23mm OD x 44.7mm L

- chaffer drive hanger arm

1шт.

3

186740C1

PIN,22.25mm OD x 147.32mm L

SHAFT - hanger arm

1шт.

4

432-1232

COTTER PIN,3/16" OD x 2" L

3/16" x 2"

2шт.

5

495-81057

WASHER,23.01mm ID x 38.1mm OD x 3.4mm Thk

- flat, 29/32 x 1-1/2 x 7/64 inch

6шт.

6

495-81056

WASHER,29/32" x 1 1/2" x 3/64

- flat, 29/32 x 1-1/2 x 3/64 inch

4шт.

7

426-1056

BOLT,Hex, 5/8" - 11 x 3-1/2", Gr 8

- hex, 5/8 NC x 3-1/2 inch, grade 8

2шт.

8

426-1072

BOLT,Hex, 5/8" - 11 x 4-1/2", Gr 8

- hex, 5/8 NC x 4-1/2 inch, G8

2шт.

9

232-41110

NUT,5/8"-11, GC

NUT, LOCK, 5/8"-11, GC

4шт.

10

495-81026

WASHER,21/32" x 1 1/2" x .060"

- flat, 21/32 x 1-1/2 x 3/64 inch

1шт.

11

219-90

LUBE NIPPLE,45 Degree Elbow, 1/4" -28 NPTF

FITTING - grease, 45 degree, 1/4-28 special taper x 13/16 inch

2шт.

14

1302644C2

SEAL

- chaffer rail, front pivot

2шт.

15

186651C92

SUPPORT

ASSEMBLY - front hanger, Includes: Ref. 16 & 17

2шт.

16

372756R91

OIL SEAL,20.45mm ID x 28.68mm OD x 3.17mm Thk

- support bearing, front hanger

2шт.

17

G10642

NEEDLE BEARING,Needle, 22.23mm ID x 28.57mm OD x 19.05mm W

BEARING - needle, front hanger support

2шт.

18

413-816

BOLT,Hex, 1/2" - 13 x 1", Gr 5

12шт.

19

231-5148

FLANGE NUT,Flg, USR, 1/2"-13

12шт.

20

409-7512

BOLT,Hex Flg, 5/16" - 18 x 3/4", Spcl

- hex serrated flange, 5/16 NC x 3/4 inch

4шт.

23

231-5145

SERRATED NUT,Flg, USR, 5/16"-18

NUT - hex serrated flange, 5/16 inch NC

4шт.

24

186752C1

BAR

- pitman stablizer

2шт.

25

413-828

BOLT,Hex, 1/2" - 13 x 1-3/4", Gr 5

2шт.

26

425-108

NUT,1/2" - 13, Gr 5

NUT, , Hex 1/2"-13, G5

4шт.

27

80679

LOCK WASHER,1/20.507 CST ZND

WASHER, LOCK, 1/2"

4шт.

28

186738C91

PITMAN

ASSEMBLY - shaker shaft, Includes: Ref. 29

2шт.

29

186597C1

BUSHING,16mm ID x 38.23mm OD x 44.7mm L

- chaffer drive hanger arm

1шт.

Выбрано товаров: 25