Запчасти Case IH 1660 (9B-50A) - CHAFFER SIEVE (14) - ROTOR, CONCANVES & SIEVE

Схема запчастей Case IH 1660 - (9B-50A) - CHAFFER SIEVE (14) - ROTOR, CONCANVES & SIEVE
13
16
3
11
1
5
12
16
7
9
21
6
18
14
17
10
19
8
4
23
2
8
20
11
15
2
24
22
24
FIT
1:1
100%

Артикул

Название

Примечание

Количество

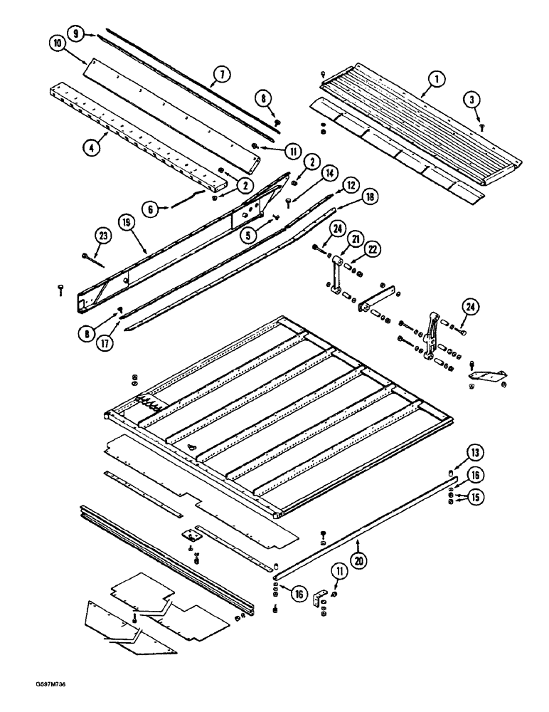
1

192056C1

GRAIN PAN

PAN - grain, models without extended length cleaning system

1шт.

1

1312154C1

SIEVE

PAN - grain, models with extended length cleaning system

1шт.

2

231-5145

SERRATED NUT,Flg, USR, 5/16"-18

NUT - hex serrated flange, 5/16 inch NC

24шт.

3

477-73108

SERRATED SCREW,Sl Truss Hd, 5/16" - 18 x 1/2"

BOLT - serrated slotted truss head, 5/16 NC x 1/2 inch

20шт.

4

192060C1

SUPPORT

- chaffer pan, models without extended length cleaning system

1шт.

4

1312156C1

SUPPORT

- chaffer pan, models with extended length cleaning system

1шт.

5

409-7512

BOLT,Hex Flg, 5/16" - 18 x 3/4", Spcl

- hex serrated flange, 5/16 NC x 3/4 inch

4шт.

6

175114C1

FINGER,Formed, 1 Prong, 264mm L

- auger bed, short

13шт.

6

1312476C1

FINGER,Formed, 1 Prong, 495.5mm L

- auger bed, long, models with extended length cleaning system

20шт.

7

192048C2

BAR

- front chaffer frame seal

1шт.

8

281-1478

SELF-TAP SCREW,1/4" - 20 x 1/2"

SCREW - self-tapping, hex washer head, 1/4 NC x 1/2 inch

47шт.

9

192047C1

SEAL,63.5mm W x 1143mm L

STRIP - chaffer frame, front

1шт.

10

192044C1

SUPPORT

- chaffer frame

1шт.

11

409-7512

BOLT,Hex Flg, 5/16" - 18 x 3/4", Spcl

- hex serrated flange, 5/16 NC x 3/4 inch

8шт.

12

192052C3

BAR

- chaffer frame seal, short

2шт.

13

186646C1

SPACER,5/8" Tube x 15/16"

- 5/8 x 15/16 inch, chaffer sieve suppport, front

2шт.

Prior to P.I.N. JJC0039550.

1шт.

13

645342C1

SPACER,10.34mm ID x 15.87mm OD x 25.4mm L

- 3/8 ID x 1 inch, chaffer sieve support, front

2шт.

P.I.N. JJC0039550 and after and models with extended length cleaning system.

1шт.

14

426-636

BOLT,Hex, 3/8" - 16 x 2-1/4", Gr 8

- hex, 3/8 NC x 2-1/4 inch, grade 8

2шт.

Prior to P.I.N. JJC0039550.

1шт.

15

232-4136

LOCK NUT,3/8"-16, GC

NUT, LOCK, 3/8"-16, GC

2шт.

Prior to P.I.N. JJC0039550.

1шт.

16

495-81138

WASHER,10.31mm ID x 25.4mm OD x 4.93mm Thk

- flat, 13/32 x 1 x 11/64 inch

4шт.

17

192053C2

BAR

- chaffer frame seal, models without extended length cleaning system

2шт.

17

1325332C2

BAR

- chaffer frame seal, long, models with extended length cleaning system

2шт.

18

192051C3

SEALING STRIP

- chaffer frame, models without extended length cleaning system

2шт.

18

1325331C1

SEALING STRIP

STRIP - chaffer frame, models with extended length cleaning system

2шт.

19

1979202C1

RAIL

- chaffer, left-hand, models without extended length cleaning system

1шт.

19

1979206C1

RAIL

- chaffer, left-hand, models with extended length cleaning system

1шт.

19

1979207C1

RAIL

- chaffer, right-hand, models with extended length cleaning system

1шт.

20

186369C1

ANGLE

- chaffer support, left-hand, shown, models without extended length cleaning system

1шт.

20

186370C1

ANGLE

- chaffer support, right-hand, models without extended length cleaning system

1шт.

20

1325334C3

SUPPORT

ANGLE - chaffer support, right-hand, models with extended length cleaning system

1шт.

20

1325333C3

SUPPORT

ANGLE - chaffer support, left-hand, models with extended length cleaning system

1шт.

21

175131C91

ARM ASSY.

ARM ASSEMBLY - rear hanger

2шт.

Prior to P.I.N. JJC0039550.

1шт.

21

1957455C1

ARM

ASSEMBLY - rear hanger

2шт.

P.I.N. JJC0039550 and after and models with extended length cleaning system.

1шт.

22

627555R91

BUSHING,16mm ID x 28.96mm OD x 44.45mm L

- hanger arm

2шт.

Prior to P.I.N. JJC0039550.

1шт.

22

1330324C1

BUSHING

- front hanger

2шт.

P.I.N. JJC0039550 and after and models with extended length cleaning system.

1шт.

23

426-10104

BOLT,Hex, 5/8" - 11 x 6-1/2", Gr 8

- hex, 5/8 NC x 6-1/2 inch, grade 8

2шт.

Prior to P.I.N. JJC0039550.

1шт.

23

326-10112

BOLT,Hex, 5/8" - 11 x 7", Gr 8

2шт.

P.I.N. JJC0039550 and after and models with extended length cleaning system.

1шт.

24

426-1056

BOLT,Hex, 5/8" - 11 x 3-1/2", Gr 8

- hex, 5/8 NC x 3-1/2 inch, grade 8

8шт.

Prior to P.I.N. JJC0039550.

1шт.

24

326-1064

BOLT,Hex, 5/8" - 11 x 4", Gr 8

2шт.

P.I.N. JJC0039550 and after and models with extended length cleaning system.

1шт.

Выбрано товаров: 51