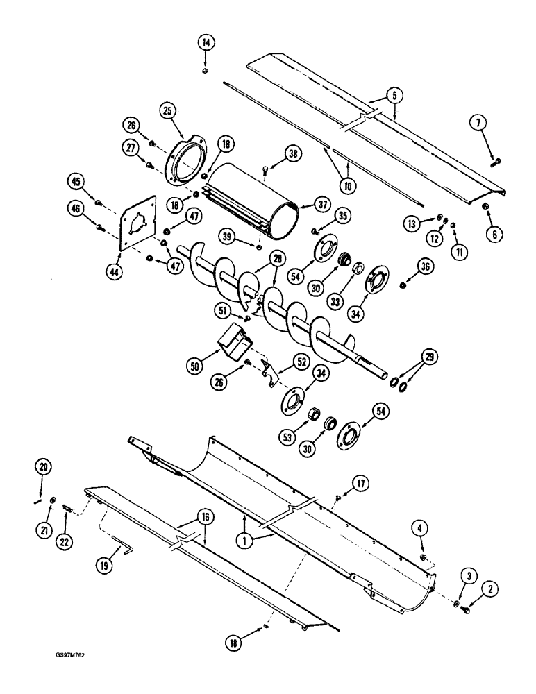
Запчасти Case IH 1660 (9D-24) - TAILINGS AUGER TROUGH, MODELS WITHOUT EXTENDED LENGTH CLEANING SYSTEM (16) - GRAIN ELEVATORS & AUGERS

Схема запчастей Case IH 1660 - (9D-24) - TAILINGS AUGER TROUGH, MODELS WITHOUT EXTENDED LENGTH CLEANING SYSTEM (16) - GRAIN ELEVATORS & AUGERS
30
38
53
34
18
3
10
18
19
36
39
34
14
52
54
20
29
2
45
28
5
4
50
1
16
13
26
11
18
33
35
25
47
27
51
7
46
30
21
17
22
37
54
44
47
12
26
6
FIT
1:1
100%

Артикул

Название

Примечание

Количество

1

186907C2

TROUGH

- auger

1шт.

2

409-7512

BOLT,Hex Flg, 5/16" - 18 x 3/4", Spcl

- hex serrated flange, 5/16 NC x 3/4 inch

2шт.

3

495-11034

WASHER,5/16", SAE

5/16" SAE (flat, 11/32 x 11/16 x 1/16")

2шт.

4

231-5145

SERRATED NUT,Flg, USR, 5/16"-18

NUT - hex serrated flange, 5/16 inch NC

6шт.

5

185195C1

DOOR

- trough

1шт.

6

231-5315

FLANGE NUT,Flg, 5/16"-18

NUT, LOCK, Flg, 5/16"-18

9шт.

7

413-512

BOLT,Hex, 5/16" - 18 x 3/4", Gr 5

- hex, 5/16 NC x 3/4 inch

9шт.

10

185198C1

ROD

- door, auger

1шт.

11

425-105

NUT,5/16"-18, G5

- hex, 5/16 inch NC

1шт.

12

492-11031

LOCK WASHER,5/16"

WASHER, LOCK, 5/16"

1шт.

13

495-11034

WASHER,5/16", SAE

5/16" SAE (flat, 11/32 x 11/16 x 1/16")

1шт.

14

231-5315

FLANGE NUT,Flg, 5/16"-18

NUT, LOCK, , Door rod Flg, 5/16"-18

1шт.

16

186909C2

HOOD

TAILGATE - trough

1шт.

17

477-73108

SERRATED SCREW,Sl Truss Hd, 5/16" - 18 x 1/2"

BOLT - serrated slotted truss head, 5/16 NC x 1/2 inch

6шт.

18

231-5145

SERRATED NUT,Flg, USR, 5/16"-18

NUT - hex serrated flange, 5/16 inch NC

10шт.

19

186736C3

ROD

- tailgate locking

2шт.

20

432-616

COTTER PIN,3/32" x 1"

3/32" x 1"

2шт.

21

495-51041

WASHER,3/8"

- flat, 13/32 x 47/64 x 1/16 inch

2шт.

22

540815R2

SPRING

- lock pin

2шт.

25

160324C2

FLANGE

- mounting, right-hand

1шт.

26

477-73108

SERRATED SCREW,Sl Truss Hd, 5/16" - 18 x 1/2"

BOLT - serrated slotted truss head, 5/16 NC x 1/2 inch

2шт.

27

199953C1

SELF-TAP SCREW,HWH, 5/16" - 18 x 13/16"

SCREW, SELF TAP, Hex Wash Hd, 5/16"-18 x 13/16"

2шт.

28

191734C1

AUGER

- tailings

1шт.

29

495-81065

WASHER,26.19mm ID x 31.75mm OD x 1.7mm Thk

- flat, 1-1/32 x 1-1/4 x 3/64 inch

1шт.

30

482303R92

BALL BEARING,1.0005" ID x 52 mm OD x 0.84375"

- ball, auger

2шт.

33

455102R21

COLLAR

- locking, bearing, includes set screw

2шт.

34

180383C91

FLANGED BEARING,3.75" OD x 0.4062"

FLANGE - bearing, auger, outer

2шт.

35

477-73112

SERRATED SCREW,Sl Truss Hd, 5/16" - 18 x 3/4"

- serrated slotted truss head, 5/16 NC x 3/4"

6шт.

36

231-5145

SERRATED NUT,Flg, USR, 5/16"-18

NUT - hex serrated flange, 5/16 inch NC

6шт.

37

192693C1

CLAMP

- extension, non-perforated

1шт.

37

195078C1

SCREEN

- extension, perforated

1шт.

38

413-516

BOLT,Hex, 5/16" - 18 x 1", Gr 5

- hex, 5/16 NC x 1 inch

2шт.

38

477-73116

SERRATED SCREW,Truss HD, 5/16" - 18 x 1"

BOLT - serrated slotted truss head, 5/16 NC x 1 inch

2шт.

39

232-4115

LOCK NUT,5/16"-18, GC

NUT, LOCK, 5/16"-18, GC

2шт.

39

231-5145

SERRATED NUT,Flg, USR, 5/16"-18

NUT - hex serrated flange, 5/16 inch NC

2шт.

44

192357C2

BAR

PLATE - bearing support

1шт.

45

477-73108

SERRATED SCREW,Sl Truss Hd, 5/16" - 18 x 1/2"

BOLT - serrated slotted truss head, 5/16 NC x 1/2 inch

3шт.

46

199953C1

SELF-TAP SCREW,HWH, 5/16" - 18 x 13/16"

SCREW, SELF TAP, Hex Wash Hd, 5/16"-18 x 13/16"

1шт.

47

231-5145

SERRATED NUT,Flg, USR, 5/16"-18

NUT - hex serrated flange, 5/16 inch NC

4шт.

50

181208C3

SUPPORT

COVER - sensor (Replaces cover 187616C1)

1шт.

51

280-1478

SELF-TAP SCREW,HWH, 1/4-14 x 1/2"

SCREW - self-tapping, hex washer head, 1/4-14 x 1/2 inch

2шт.

52

183869C3

SUPPORT

BRACKET - sensor, clean grain

1шт.

53

178801C1

COLLAR

- tailings elevator shaft

1шт.

54

937517R1

FLANGE

- bearing, inner

2шт.

Выбрано товаров: 44