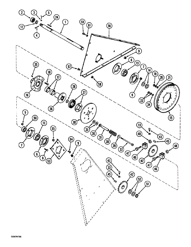
Запчасти Case IH 1660 (9D-32) - ELEVATOR DRIVE JACKSHAFT (16) - GRAIN ELEVATORS & AUGERS

Схема запчастей Case IH 1660 - (9D-32) - ELEVATOR DRIVE JACKSHAFT (16) - GRAIN ELEVATORS & AUGERS
42
13
51
54
45
18
61
30
24
4
34
12
47
38
6
9
14
43
17
21
47
7
33
1
45
15
35
2
19
20
59
52
48
26
58
9
32
28
36
9
46
53
27
33
43
57
25
31
9
50
16
39
5
55
6
42
8
46
7
33
56
48
13
3
FIT
1:1
100%

Артикул

Название

Примечание

Количество

1

1321347C1

SHAFT

- elevator drive, jackshaft

1шт.

2

425-1316

NUT,1"-14, G5

NUT - hex, slotted, 1 inch NF

1шт.

3

495-31022

WASHER,#10

1шт.

4

427-3175

CLEVIS PIN,4.78mm OD x 44.45mm L

PIN - clevis, 3/16 x 1-3/4 inch, hardened

1шт.

5

432-48

COTTER PIN,1/16" x 1/2"

PIN, SPLIT (COTTER), 1/16" x 1/2"

1шт.

6

473092R1

FLANGED BEARING

- bearing

2шт.

7

939462R91

FLANGE

- bearing

2шт.

9

231-5146

FLANGE NUT,3/8"-16

11шт.

12

492-11100

LOCK WASHER,1"

1"

1шт.

13

473097R92

BEARING ASSY,1.2505" ID x 72 mm OD x 1"

BEARING - ball, jackshaft

2шт.

14

183274C2

WASHER,32.51mm ID x 47.75mm OD x 4.57mm Thk

WASHER - flat, special, 1-9/32 x 1-7/8 x 3/16 inch

1шт.

15

183325C1

PULLEY

- driven, jackshaft, 330 mm (13 inch) OD

1шт.

16

183210C91

HUB

ASSEMBLY - slip clutch, Includes: Ref. 17

1шт.

17

936744R1

BUSHING,47.66mm ID x 50.83mm OD x 19.05mm L

- hub

2шт.

18

413-620

BOLT,Hex, 3/8" - 16 x 1-1/4", Gr 5

- hex, 3/8 NC x 1-1/4 inch

3шт.

19

232-4136

LOCK NUT,3/8"-16, GC

NUT, LOCK, 3/8"-16, GC

3шт.

20

492-11038

LOCK WASHER,3/8"

3шт.

21

495-11041

WASHER,0.406" ID x 0.812" OD x 0.065" W

(Flat, 13/32 x 13/16 x 1/16") 3/8", SAE

3шт.

24

586879R1

KEY

- square parallel, 5/16 x 2 inch

1шт.

25

219-87

LUBE NIPPLE,1/4" - 28 NPTF

NIPPLE, LUBE, 1/4"-28 x .56" lg, Self-Tap

1шт.

26

198279A1

HUB

- clutch plate (Replaces hub 1319232C1)

1шт.

27

B12170

RATCHET,Clutch Slip, 94.49mm

- clutch

2шт.

28

1319235C1

RING

- retaining

1шт.

30

194835C2

RETAINER

PLATE - retainer, clutch

1шт.

31

186916C2

BUSHING,11.18mm ID x 19.05mm OD x 87.38mm L

- clutch

3шт.

32

413-6104

BOLT,Hex, 3/8" - 16 x 6-1/2", Gr 5

- hex, 3/8 NC x 6-1/2 inch

3шт.

33

425-106

NUT,3/8"-16, Cl 5

10шт.

34

492-11038

LOCK WASHER,3/8"

3шт.

35

495-11081

WASHER,3/4", SAE

1шт.

36

495-81037

WASHER,25/32" x 1 1/4" x .060"

- flat, 25/32 x 1-1/4 x 3/64 inch

1шт.

38

C13263

SPRING

- clutch

3шт.

39

495-81143

WASHER,13/32" x 1 1/2" x .120"

3шт.

42

192139C2

SPROCKET

- drive, 25 tooth

2шт.

43

485-13816

SET SCREW,Sq Hd, 3/8"-16 x 1"

SCREW - set, square head, 3/8 NC x 1 inch, cup point

4шт.

45

581306R1

KEY,5/16" Sq x 1 1/4", Par

2шт.

46

225265R1

CLAMP

- sprocket

1шт.

47

413-836

BOLT,Hex, 1/2" - 13 x 2-1/4", Gr 5

- hex, 1/2 NC x 2-1/4 inch

1шт.

48

231-4118

LOCK NUT,1/2"-13, GB

NUT - hex, self-locking, 1/2 inch NC

1шт.

50

455104R11

COLLAR

- locking, bearing

1шт.

51

100-16125

SNAP RING,#125, Ext

Ring, Snap, , Sprocket #125, Ext

1шт.

52

195-2120

WASHER,1.28" ID x 2" OD x 0.24" Thk

- flat, 1-9/32 x 2 x 1/4 inch

1шт.

53

192138C2

BRACKET

- outer, jackshaft

1шт.

54

477-73812

SERRATED SCREW,Truss HD, 3/8" - 16 x 3/4"

BOLT - serrated slotted truss head, 3/8 NC x 3/4 inch

4шт.

55

231-5146

FLANGE NUT,3/8"-16

4шт.

56

1317435C1

SUPPORT

- jackshaft bearing

1шт.

57

477-73112

SERRATED SCREW,Sl Truss Hd, 5/16" - 18 x 3/4"

- serrated slotted truss head, 5/16 NC x 3/4"

6шт.

58

231-5145

SERRATED NUT,Flg, USR, 5/16"-18

NUT - hex serrated flange, 5/16 inch NC

6шт.

59

154273C1

BOLT,Hex Serr, 3/8" - 16 x 1", Spcl

- hex, self-locking, special, 3/8 NC x 1 inch

1шт.

61

425-146

JAM NUT,3/8" - 16, Gr 5

- hex jam, 3/8 inch NC

1шт.

8

477-73816

SERRATED SCREW,Sl Truss Hd, 3/8" x 1"

BOLT - serrated slotted truss head, 3/8 NC x 1 inch

3шт.

Выбрано товаров: 50