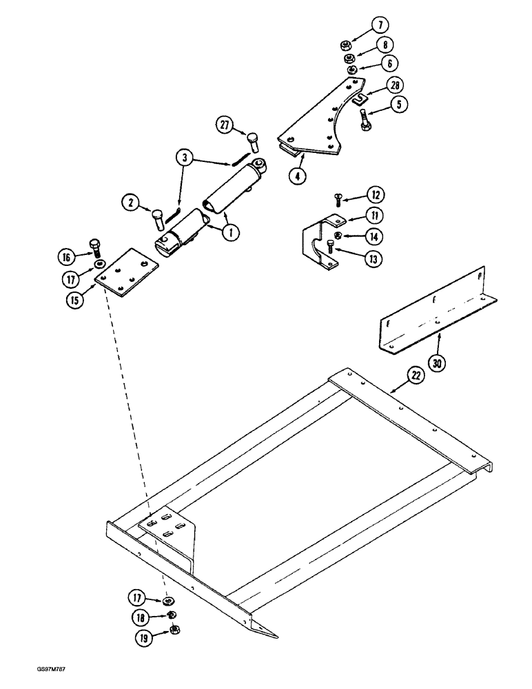
Запчасти Case IH 1660 (9E-42) - UNLOADER, SWING CYLINDER SUPPORTS, P.I.N. JJC0040895 AND AFTER (17) - GRAIN TANK & UNLOADER

Схема запчастей Case IH 1660 - (9E-42) - UNLOADER, SWING CYLINDER SUPPORTS, P.I.N. JJC0040895 AND AFTER (17) - GRAIN TANK & UNLOADER
8
27
16
7
15
13
17
6
30
2
28
1
22
17
14
18
11
19
12
5
3
4
FIT
1:1
100%

Артикул

Название

Примечание

Количество

1

1282488C92

CYLINDER ASSY.,Double Acting, 25.4mm Rod, 508.2mm Stroke

CYLINDER ASSEMBLY - unloader swing, parts list Figure 8-124

1шт.

1282488C92R

REMAN-HYD CYLINDER

1660 S/N JJC0038346 & After (1/86 - 12/92)

1шт.

1282488C92C

CORE-HYD CYLINDER

Return Number

1шт.

2

427-10225

CLEVIS PIN,5/8" x 1 1/4"

PIN - clevis, 5/8 x 2-1/4 inch, hardened

1шт.

3

432-816

COTTER PIN,1/8" x 1"

1/8" x 1"

2шт.

4

1321541C1

SUPPORT

- cylinder

1шт.

5

426-732

BOLT,Hex, 7/16" - 14 x 2", Gr 8

- hex, 7/16 NC x 2 inch, grade 8

6шт.

6

492-11044

LOCK WASHER,7/16"

WASHER, LOCK, 7/16"

6шт.

7

429-107

NUT,7/16"-14, G8

6шт.

8

329-147

JAM NUT,Jam, 7/16"-14, G8

6шт.

11

1321509C2

SUPPORT

- top, rear

1шт.

12

477-73820

SERRATED SCREW,Truss HD, 3/8" - 16 x 1-1/4"

BOLT - serrated slotted truss head, 3/8 NC x 1-1/4 inch

1шт.

13

154273C1

BOLT,Hex Serr, 3/8" - 16 x 1", Spcl

- hex, self-locking, special, 3/8 NC x 1 inch

2шт.

15

1321508C1

PLATE

- cylinder anchor

1шт.

16

413-832

BOLT,Hex, 1/2" - 13 x 2", Gr 5

4шт.

17

496-21053

WASHER,17/32" x 1 1/16" x .134"

- flat, 17/32 x 1-1/16 x 1/8 inch, hardened

8шт.

18

80679

LOCK WASHER,1/20.507 CST ZND

WASHER, LOCK, 1/2"

4шт.

19

425-108

NUT,1/2" - 13, Gr 5

NUT, , Hex 1/2"-13, G5

4шт.

22

1338388C1

SUPPORT

- unloader swing cylinder, See Figure 9E-32

1шт.

27

22754R1

CLEVIS PIN,5/8" x 1.844"

PIN, CLEVIS, 5/8" x 1.844"

1шт.

28

151670C1

SHIM

SHIM - unloader tube keeper, 0.036 inch

1шт.

30

1338393C1

ANGLE

SUPPORT - housing, auger, See Figure 9E-32

1шт.

Выбрано товаров: 22