Запчасти Case IH 1660 (9F-08) - STRAW SPREADER, PULLEY SHIELD AND BELT GUIDE (19) - STRAW SPREADER & CHOPPER

Схема запчастей Case IH 1660 - (9F-08) - STRAW SPREADER, PULLEY SHIELD AND BELT GUIDE (19) - STRAW SPREADER & CHOPPER
1
5
3
2
4
FIT
1:1
100%

Артикул

Название

Примечание

Количество

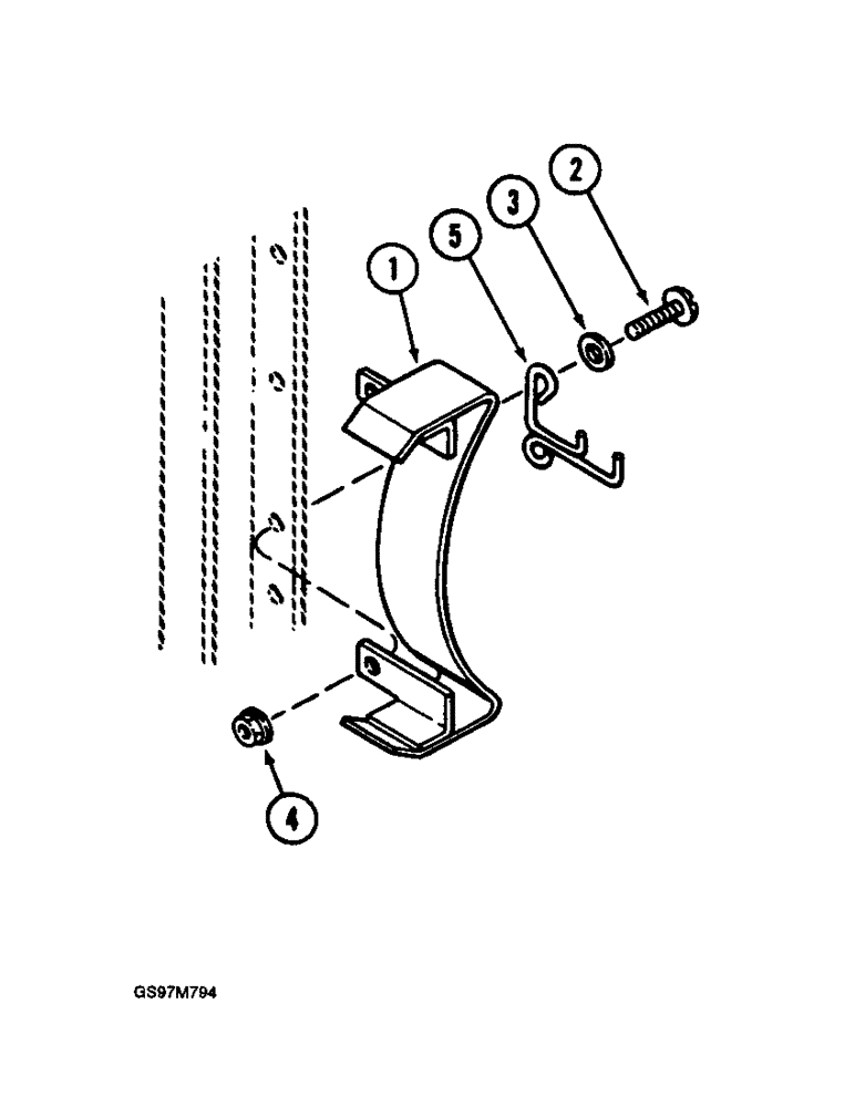
1

1324423C1

GUARD

SHIELD - straw spreader pulley

1шт.

2

477-73820

SERRATED SCREW,Truss HD, 3/8" - 16 x 1-1/4"

BOLT - serrated slotted truss head, 3/8 NC x 1-1/4 inch

3шт.

3

495-11041

WASHER,0.406" ID x 0.812" OD x 0.065" W

(Flat, 13/32 x 13/16 x 1/16") 3/8", SAE

3шт.

4

231-5146

FLANGE NUT,3/8"-16

3шт.

5

1324419C1

GUIDE

- belt

1шт.

Выбрано товаров: 5