Запчасти Case IH 1660 (2-62) - ENGINE RAILS AND SUPPORTS (01) - ENGINE

Схема запчастей Case IH 1660 - (2-62) - ENGINE RAILS AND SUPPORTS (01) - ENGINE
21
21
15
7
12
3
5
4
6
3
20
19
19
13
14
17
5
20
2
1
7
2
18
16
6
FIT
1:1
100%

Артикул

Название

Примечание

Количество

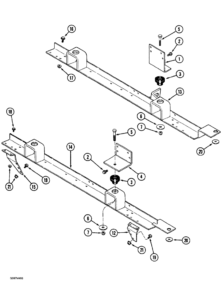
1

1315644C1

SUPPORT

- engine, left-hand front

1шт.

2

854-12025

BOLT,Hvy Hex, M12 x 25mm, Cl 10.9

- heavy hex flange, 12 - 1.75 x 25 mm, class 10.9

8шт.

3

194915C2

ISOLATOR,13.72mm ID x 45.97mm OD x 50.04mm L

INSULATOR - engine snubber, front and rear

4шт.

4

1315645C1

SUPPORT

- engine, right-hand front

1шт.

5

413-1056

BOLT,Hex, 5/8" - 11 x 3-1/2", Gr 5

4шт.

6

107813R1

WASHER

- flat, 21/32 x 2-1/2 x 11/64 inch

4шт.

7

232-41110

NUT,5/8"-11, GC

NUT, LOCK, 5/8"-11, GC

4шт.

12

1329776C1

SUPPORT

- engine, right-hand

1шт.

13

1315653C3

RAIL ASSY.

SUPPORT - engine rail, left-hand

1шт.

14

1315654C4

RAIL ASSY.

SUPPORT - engine rail, right-hand

1шт.

15

1330098C2

SUPPORT

- engine, left-hand (Replaces support 1329775C1)

1шт.

16

409-7820

BOLT,Hex Flg, 1/2" - 13 x 1 1/4", Spcl

8шт.

17

231-5148

FLANGE NUT,Flg, USR, 1/2"-13

8шт.

18

154273C1

BOLT,Hex Serr, 3/8" - 16 x 1", Spcl

- hex, self-locking, special, 3/8 NC x 1 inch

6шт.

19

409-7612

BOLT,3/8"-16 x 1.09" OAL

- hex serrated flange, 3/8 NC x 3/4 inch

6шт.

20

495-81030

WASHER,21/32" x 2" x .179"

- flat, 21/32 x 2 x 11/64 inch

2шт.

21

231-5146

FLANGE NUT,3/8"-16

20шт.

18

477-73816

SERRATED SCREW,Sl Truss Hd, 3/8" x 1"

BOLT - serrated slotted truss head, 3/8 NC x 1 inch

10шт.

Выбрано товаров: 0