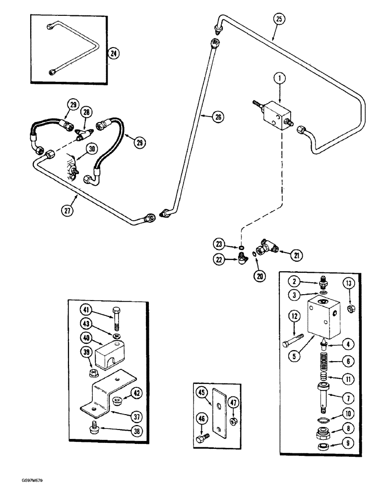
Запчасти Case IH 1660 (6-16) - FOOT-N-INCH VALVE SYSTEM (03) - POWER TRAIN

Схема запчастей Case IH 1660 - (6-16) - FOOT-N-INCH VALVE SYSTEM (03) - POWER TRAIN
9
29
20
4
25
1
42
5
27
2
29
47
7
3
41
46
39
22
11
43
45
30
13
36
6
10
24
37
24
23
21
8
26
12
40
FIT
1:1
100%

Артикул

Название

Примечание

Количество

1

1986874C1

VALVE

ASSEMBLY - Foot-N-Inch, 5500 PSI, stamped 55-74, models without cross flow cleaning system, Includes: Ref. 2 - 13, kit, and shims

1шт.

1

398705R91

VALVE

ASSEMBLY - Foot-N-Inch, stamped 55-05, models without cross flow cleaning system, Includes: Ref. 2 - 13, kit, and shims

1шт.

1

1986875C1

VALVE

ASSEMBLY - Foot-N-Inch, 6000 PSI, stamped 60-75, Includes: Ref. 2 - 13, kit, and shims

1шт.

1

1986876C1

VALVE

ASSEMBLY - Foot-N-Inch, 6500 PSI, stamped 65-76, rice combines only, models with cross flow cleaning system, Includes: Ref. 2 - 13, kit, and shims

1шт.

2

398709R2

HYD CONNECTOR,7/16" - 20 JIC x 7/16" - 20 JIC

- poppet valve

1шт.

3

237-6004

O-RING,0.072" Thk x 0.351" ID, -904, Cl 6, 90 Duro

4-1, 90 Duro, .351" ID x .072" Thk

1шт.

4

398710R1

VALVE POPPET

POPPET - valve

1шт.

5

NSS

NOT SOLD SEPARAT

HOUSING - valve, order valve assembly

1шт.

6

398731R1

SPRING

- valve, used with 398705R91 and 1986874C1 valve assemblies

1шт.

6

539751R2

SPRING

- poppet, used with 1986875C1 and 1986876C1 valve assemblies

1шт.

7

398708R1

STOP

ROD ASSEMBLY - poppet spring, Includes: Ref. 8 & 9

1шт.

8

398707R1

GUIDE

RETAINER - oil seal

1шт.

9

398701R91

OIL SEAL,8.26mm ID x 19.15mm OD x 6.5mm Thk

- oil

1шт.

10

237-6010

O-RING,0.097" Thk x 0.755" ID, -910, Cl 6, 90 Duro

10-1, 90 Duro, .755" ID x .097" Thk

1шт.

11

NSS

NOT SOLD SEPARAT

SHIM - relief valve, order kit 530575R91 below

1шт.

12

413-632

BOLT,Hex, 3/8" - 16 x 2", Gr 5

2шт.

13

231-5146

FLANGE NUT,3/8"-16

2шт.

530575R91

SHIM KIT

KIT - shim, Includes: shims

1шт.

NSS

NOT SOLD SEPARAT

SHIM - 0.005 inch, order kit 530575R91

4шт.

NSS

NOT SOLD SEPARAT

SHIM - 0.007 inch, order kit 530575R91

4шт.

NSS

NOT SOLD SEPARAT

SHIM - 0.020 inch, order kit 530575R91

2шт.

NSS

NOT SOLD SEPARAT

SHIM - 0.042 inch, order kit 530575R91

1шт.

20

238-6014

O-RING,0.07" Thk x 0.489" ID, -14, Cl 6, 90 Duro

1шт.

21

201-411

TEE,13/16"-16 ORFS x 13/16"-16 Sw Br

- 13/16-16 inch swivel face branch x face x face

1шт.

22

201-332

ELBOW,90 Degree Elbow, 13/16" - 16 Male ORFS x 9/16" - 18 Male ORB

- 90º, 13/16-16 face seal x 9/16-18 inch Adj O-ring boss, Incl Ref 23

1шт.

23

237-6006

O-RING,0.078" Thk x 0.468" ID, -906, Cl 6, 90 Duro

6-1, 90 Duro, .468" ID x .078" Thk

1шт.

24

1321273C1

HYD TUBE

TUBE Foot-N-Inch valve return

1шт.

Prior to P.I.N. JJC0103800. For models without cross flow cleaning system only.

1шт.

25

1321272C2

HYD TUBE

TUBE Foot-N-Inch upper

1шт.

Prior to P.I.N. JJC0103800. For models without cross flow cleaning system only.

1шт.

25

1541795C1

HYD TUBE

TUBE Foot-N-Inch

1шт.

P.I.N. JJC0103800 and after.

1шт.

26

1327829C1

HYD TUBE

TUBE - center, Foot-N-Inch valve

1шт.

27

196764C1

HYD TUBE

TUBE - lower

1шт.

28

218-591

TEE,7/16"-20, 37 Degree

- 7/16-20 inch flare branch x flare x flare

1шт.

29

175760C2

HYDRAULIC HOSE,6.35mm ID x 254mm L, SAE 100R2

HOSE - Foot-N-Inch, 254 mm (10 inch) long

2шт.

30

REF

INSTRUCTION

MOTOR ASSEMBLY - hydrostatic, parts list Figures 6-38 through 6-58

1шт.

37

196517C1

SUPPORT TUBE

SUPPORT - fuel tubes

1шт.

38

409-7612

BOLT,3/8"-16 x 1.09" OAL

1шт.

39

231-5146

FLANGE NUT,3/8"-16

1шт.

40

183820C1

CLAMP

- Foot-N-Inch tube

1шт.

41

413-428

BOLT,Hex, 1/4" - 20 x 1-3/4", Gr 5

1шт.

42

231-5144

SERRATED NUT,Flg, USR, 1/4"-20

1шт.

43

496-21028

WASHER,.281" x 5/8" x .075", HDN

1шт.

45

196868C2

SUPPORT

PLATE - support

1шт.

46

477-73112

SERRATED SCREW,Sl Truss Hd, 5/16" - 18 x 3/4"

- serrated slotted truss head, 5/16 NC x 3/4"

1шт.

47

231-5145

SERRATED NUT,Flg, USR, 5/16"-18

NUT, Flg, USR, 5/16"-18

1шт.

Выбрано товаров: 47