Запчасти Case IH 1660 (020) - FOOT-N-INCH VALVE SYSTEM (29) - HYDROSTATIC DRIVE

Схема запчастей Case IH 1660 - (020) - FOOT-N-INCH VALVE SYSTEM (29) - HYDROSTATIC DRIVE
32
21
15
22
20
30
27
29
5
16
8
2
6
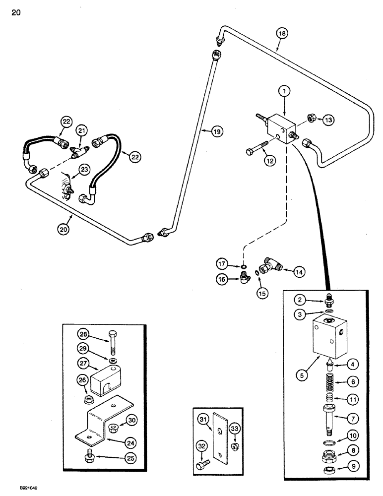
1
9
28
10
14
22
18
25
11
3
23
7
26
33
4
16
31
24
12
13
17
FIT
1:1
100%

Артикул

Название

Примечание

Количество

1

1986875C1

VALVE

ASSEMBLY - Foot-N-Inch, 6000 PSI (housing stamped 60-75), used with corn and grain units

1шт.

1

1986876C1

VALVE

ASSEMBLY - Foot-N-Inch, 6500 PSI (housing stamped 65-76), used with rice units only

1шт.

2

398709R1

SEAT

- poppet valve

1шт.

3

237-6004

O-RING,0.072" Thk x 0.351" ID, -904, Cl 6, 90 Duro

4-1, 90 Duro, .351" ID x .072" Thk, 1/4 OD tube

1шт.

4

398710R1

VALVE POPPET

VALVE - poppet

1шт.

5

NSS

NOT SOLD SEPARAT

HOUSING - valve

1шт.

6

539751R1

SPRING

- valve

1шт.

7

398708R1

STOP

- valve

1шт.

8

398707R1

GUIDE

- valve spring stop

1шт.

9

398701R91

OIL SEAL,8.26mm ID x 19.15mm OD x 6.5mm Thk

- oil

1шт.

10

237-6010

O-RING,0.097" Thk x 0.755" ID, -910, Cl 6, 90 Duro

- 5/8 inch OD tube

1шт.

11

NSS

NOT SOLD SEPARAT

SHIM - relief valve (order 530575R91 kit, see below)

1шт.

530575R91

SHIM KIT

KIT - relief valve shim

1шт.

NSS

NOT SOLD SEPARAT

SHIM - 0.005 inch

4шт.

NSS

NOT SOLD SEPARAT

SHIM - 0.007 inch

4шт.

NSS

NOT SOLD SEPARAT

SHIM - 0.020 inch

2шт.

NSS

NOT SOLD SEPARAT

SHIM - 0.042 inch

1шт.

12

413-632

BOLT,Hex, 3/8" - 16 x 2", Gr 5

2шт.

13

482256R1

BEARING LOCK NUT,Flg, USR, 3/8"-16

- hex flange, self-locking, 3/8 inch NC

2шт.

14

201-411

TEE,13/16"-16 ORFS x 13/16"-16 Sw Br

- 13/16-16 inch swivel face branch x face x face

1шт.

15

238-6014

O-RING,0.07" Thk x 0.489" ID, -14, Cl 6, 90 Duro

1шт.

16

201-332

ELBOW,90 Degree Elbow, 13/16" - 16 Male ORFS x 9/16" - 18 Male ORB

- 90º, 13/16-16 face x 9/16-18 inch Adj O-ring

1шт.

17

237-6006

O-RING,0.078" Thk x 0.468" ID, -906, Cl 6, 90 Duro

6-1, 90 Duro, .468" ID x .078" Thk, Boss end

1шт.

18

1541795C1

HYD TUBE

TUBE - upper

1шт.

19

1327829C1

HYD TUBE

TUBE - center

1шт.

20

196764C1

HYD TUBE

TUBE - lower

1шт.

21

218-591

TEE,7/16"-20, 37 Degree

- 7/16-20 inch flare

1шт.

22

175760C1

HOSE ASSY.

HOSE - 10 inch long, at tee

2шт.

23

REF

INSTRUCTION

MOTOR ASSEMBLY - hydrostatic (see pages 33 through 37)

1шт.

24

196517C1

SUPPORT TUBE

SUPPORT - tube

1шт.

25

121-228

SERRATED BOLT,Hex, 3/8" - 16 x 3/4"

1шт.

26

482256R1

BEARING LOCK NUT,Flg, USR, 3/8"-16

- hex flange, self-locking, 3/8 inch NC

1шт.

27

183820C1

CLAMP

- tube

1шт.

28

113-132

BOLT,Hex, 1/4" - 20 x 1-3/4", Gr 5

- hex, 1/4 NC x 1-3/4 inch

1шт.

29

25707R1

WASHER,.281" x 5/8" x .075", HDN

- flat, 9/32 x 5/8 x 3/64 inch

1шт.

30

938016R1

FLANGE NUT,Flg, USR, 1/4"-20

- hex flange, self-locking, 1/4 inch NC

1шт.

31

196868C2

SUPPORT

PLATE - support

1шт.

32

135270

SERRATED SCREW,5/16" - 18 x 3/4"

BOLT - hex, 5/16 NC x 3/4 inch

1шт.

33

938017R1

FLANGE NUT,Flg, USR, 5/16"-18

- hex flange, self-locking, 5/16 inch NC

1шт.

Выбрано товаров: 39